TOP
|
特許
|
意匠
|
商標
特許ウォッチ
Twitter
他の特許を見る
公開番号
2025130583
公報種別
公開特許公報(A)
公開日
2025-09-08
出願番号
2024027842
出願日
2024-02-27
発明の名称
詰替装置および詰替方法
出願人
Kyopalab合同会社
代理人
個人
,
個人
主分類
B67C
3/02 20060101AFI20250901BHJP(びん,広口びんまたは類似の容器の開封または密封;液体の取扱い)
要約
【課題】大きな容器の内容物を小さい容器に詰め替える際の品質変化を防止する詰替装置等を提供すること。
【解決手段】詰替装置10は、ボトル71の口から前記ボトル71に挿入される分注管と前記ボトル71の口から前記分注管よりも深くまで前記ボトルに挿入される気体注入管と、前記分注管の外面と、前記気体注入管の外面と、前記ボトル71の口とを液密に保持するボトル保持部36と、前記分注管と前記気体注入管と前記ボトル保持部36とを一体にして反転させる反転部とを備える。
【選択図】図12
特許請求の範囲
【請求項1】
ボトルの口から前記ボトルに挿入される分注管と、
前記ボトルの口から前記分注管よりも深くまで前記ボトルに挿入される気体注入管と、
前記分注管の外面と、前記気体注入管の外面と、前記ボトルの口とを液密に保持するボトル保持部と、
前記分注管と前記気体注入管と前記ボトル保持部とを一体にして反転させる反転部とを備える
詰替装置。
続きを表示(約 1,200 文字)
【請求項2】
前記分注管は、前記ボトルに挿入されない軟性部を有し、
前記軟性部に取り付けられたチューブポンプを備える
請求項1に記載の詰替装置。
【請求項3】
前記気体注入管は、前記ボトルに不活性ガスを供給する
請求項1に記載の詰替装置。
【請求項4】
前記気体注入管から前記ボトルに注入される気体を空気と、空気よりも比重の大きい不活性ガスとの間で切り替える切替部を備え、
前記切替部は、前記ボトルが口を下向きにして保持された後に前記ボトルに不活性ガスを注入し、所定の量の不活性ガスが注入された後に前記ボトルに注入する気体を空気に切り替える
請求項1に記載の詰替装置。
【請求項5】
前記分注管から液体が注入される小容器の蓋を、前記小容器に取り付ける際と同じ向きで保持する蓋保持部と、
前記蓋保持部により保持された前記蓋の内面に不活性ガスを噴射する噴射ノズルとを備え、
前記蓋保持部は、前記蓋を液体が注入された前記小容器に載置する
請求項1に記載の詰替装置。
【請求項6】
前記ボトルの蓋の種類を検知する種類検知部と、
前記ボトルからキャップシールを除去するシール除去部と、
前記蓋がコルクである場合、前記蓋を貫通させた針から前記ボトルの内部に不活性ガスを送り込むことにより前記ボトルから前記蓋を取り外すコルク除去部と、
前記蓋がスクリューキャップである場合、前記蓋を前記ボトルに対して回転させることにより前記蓋を取り外すスクリューキャップ除去部とを備え、
前記種類検知部と、前記シール除去部と、前記コルク除去部と前記スクリューキャップ除去部と、前記ボトル保持部とは、一つの回転台に取り付けられている
請求項1に記載の詰替装置。
【請求項7】
前記ボトル保持部および前記反転部を覆う筐体と、
HEPAフィルタを通過した空気により前記筐体の内部を前記筐体の外部に比べて陽圧に保つ換気装置とを備える
請求項1から請求項6のいずれか一つに記載の詰替装置。
【請求項8】
ボトルの口に、前記ボトルに挿入される分注管、前記ボトルの口から前記分注管よりも深くまで前記ボトルに挿入される気体注入管、および、前記分注管の外面と、前記気体注入管の外面と、前記ボトルの口とを液密に保持するボトル保持部を取り付け、
前記分注管と前記気体注入管と前記ボトル保持部とを一体にして反転させ、
前記ボトルから前記分注管を介して小容器に液体を移動させるとともに、前記気体注入管を介して前記ボトルにアルゴンガスを注入し、
所定量のアルゴンガスが供給された後、前記気体注入管を介して前記ボトルに空気を注入する
詰替方法。
発明の詳細な説明
【技術分野】
【0001】
本発明は、詰替装置および詰替方法に関する。
続きを表示(約 1,400 文字)
【背景技術】
【0002】
元容器と小分け容器とを接続し、元容器の内部に空気を供給しながら元容器の内容物を小分け容器に供給する、小分けバルブ装置が提案されている(特許文献1)。
【先行技術文献】
【特許文献】
【0003】
特開2023-8476号公報
【発明の概要】
【発明が解決しようとする課題】
【0004】
特許文献1の装置では、元容器の内容物を専用コンテナ等にいったん移すことなく小分けできる。専用コンテナ等の洗浄が不要なため、小分け作業を効率良く行なえる。
【0005】
しかしながら特許文献1の装置では、小分け作業の途中で内容物が空気に触れてしまう。そのため、たとえばワインのように空気に触れることにより品質が変化してしまう内容物の小分けには適さない。
【0006】
一つの側面では、大きな容器の内容物を小さい容器に詰め替える際の品質変化を防止する詰替装置等の提供を目的とする。
【課題を解決するための手段】
【0007】
詰替装置は、ボトルの口から前記ボトルに挿入される分注管と、前記ボトルの口から前記分注管よりも深くまで前記ボトルに挿入される気体注入管と、前記分注管の外面と、前記気体注入管の外面と、前記ボトルの口とを液密に保持するボトル保持部と、前記分注管と前記気体注入管と前記ボトル保持部とを一体にして反転させる反転部とを備える。
【発明の効果】
【0008】
一つの側面では、大きな容器の内容物を小さい容器に詰め替える際の品質変化を防止する詰替装置等を提供できる。
【図面の簡単な説明】
【0009】
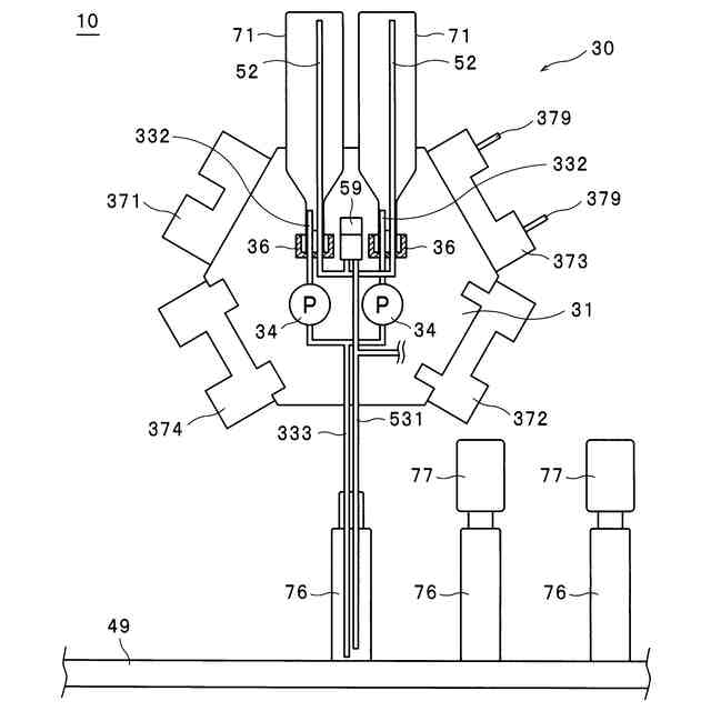
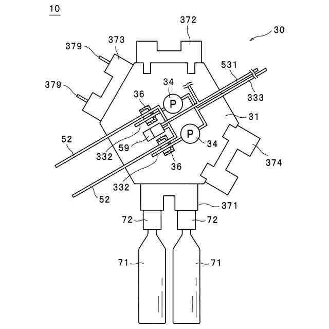
詰替装置の斜視図である。
詰替装置の構成を説明する説明図である。
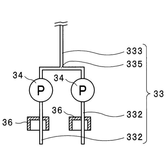
ボトルハンドラーの構成を説明する説明図である。
分注管の構成を説明する説明図である。
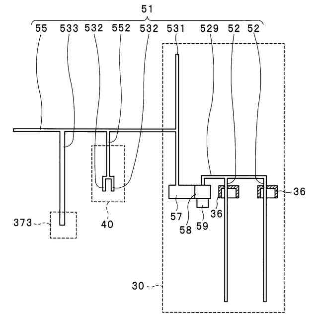
気体供給管の構成を説明する説明図である。
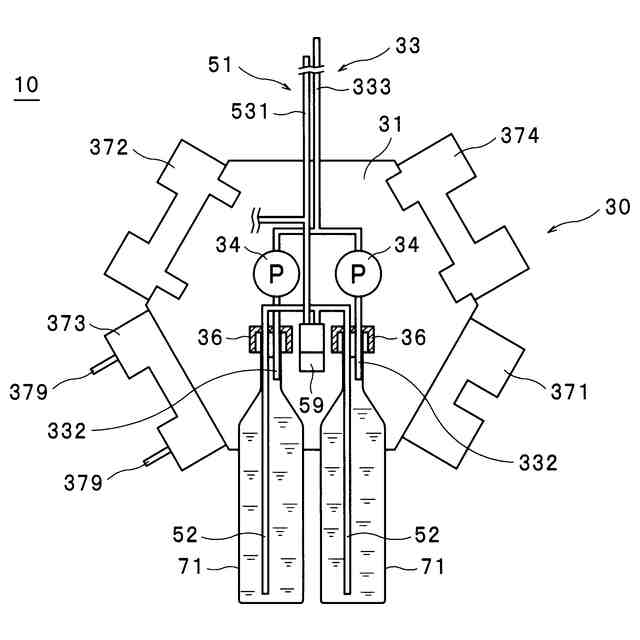
詰替手順を説明する説明図である。
詰替手順を説明する説明図である
詰替手順を説明する説明図である。
詰替手順を説明する説明図である。
図9におけるX部拡大図である。
図10におけるXI矢視図である。
詰替手順を説明する説明図である。
詰替手順を説明する説明図である。
図13におけるXIV矢視図である。
詰替手順を説明する説明図である。
プログラムの処理の流れを説明するフローチャートである。
開封のサブルーチンの処理の流れを説明するフローチャートである。
分注のサブルーチンの処理の流れを説明するフローチャートである。
実施の形態2の詰替装置の構成を説明する説明図である。
【発明を実施するための形態】
【0010】
[実施の形態1]
図1は、詰替装置10の斜視図である。詰替装置10は、筐体111で覆われた詰替室11を備える。筐体111の側面に、タッチパネル25が取り付けられている。筐体111の上面に、換気装置15が配置されている。筐体111は、図示を省略する開閉扉を備える。
(【0011】以降は省略されています)
この特許をJ-PlatPat(特許庁公式サイト)で参照する
関連特許
個人
万能シリコン漏斗。
4か月前
個人
ペットボトルオープナー
26日前
株式会社タツノ
給油装置
2か月前
個人
ウォーターサーバー
20日前
澁谷工業株式会社
キャッパ
10か月前
澁谷工業株式会社
充填装置
6か月前
株式会社タツノ
給油認証システム
1か月前
有限会社ユウアイ
内容物充填装置
2か月前
個人
ボトルキャップ用開栓具
12か月前
靜甲株式会社
キャップの巻締め機構
4か月前
個人
開封具
5か月前
浜名部品工業株式会社
飲料水供給装置
15日前
澁谷工業株式会社
キャッピング装置
9か月前
澁谷工業株式会社
キャッピング装置
4か月前
個人
液体注出補助具
4か月前
ホシザキ株式会社
飲料供給装置
9か月前
ホシザキ株式会社
飲料供給装置
9か月前
ホシザキ株式会社
飲料供給装置
9か月前
株式会社吉野工業所
高温充填方法
9か月前
キリンホールディングス株式会社
飲料注出装置
4か月前
アクアムホールディングス株式会社
空気製水機
26日前
靜甲株式会社
キャップ保持機構並びにキャッパー
4か月前
キリンホールディングス株式会社
容器の保管装置
3か月前
アサヒ飲料株式会社
炭酸飲料製造ラインの制御方法
9か月前
サッポロビール株式会社
カラン
10か月前
澁谷工業株式会社
充填装置の洗浄・殺菌システム
2か月前
富士電機株式会社
飲料供給装置
4か月前
富士電機株式会社
飲料供給装置
10か月前
サッポロビール株式会社
飲料サーバー
5か月前
富士電機株式会社
飲料供給装置
10か月前
Kyopalab合同会社
詰替装置および詰替方法
2か月前
富士電機株式会社
飲料供給装置
10か月前
トキコシステムソリューションズ株式会社
給液装置
7か月前
サッポロビール株式会社
飲料サーバー
10か月前
富士電機株式会社
飲料供給装置
4か月前
トキコシステムソリューションズ株式会社
給液ノズル
7か月前
続きを見る
他の特許を見る