TOP
|
特許
|
意匠
|
商標
特許ウォッチ
Twitter
他の特許を見る
公開番号
2025165125
公報種別
公開特許公報(A)
公開日
2025-11-04
出願番号
2024069015
出願日
2024-04-22
発明の名称
定着ローラ
出願人
信越ポリマー株式会社
代理人
ミレニア弁理士法人
主分類
G03G
15/20 20060101AFI20251027BHJP(写真;映画;光波以外の波を使用する類似技術;電子写真;ホログラフイ)
要約
【課題】発泡弾性層を有する定着ローラであって、高圧縮条件下でも耐久性の高い定着ローラを提供する。
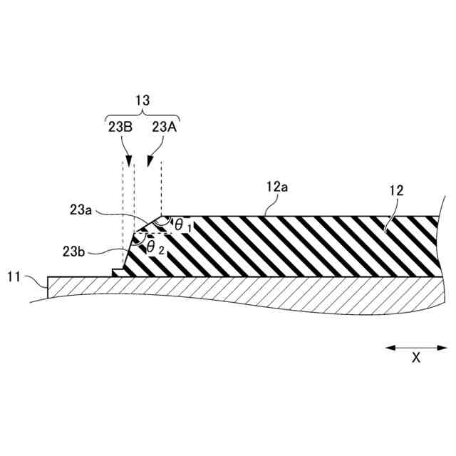
【解決手段】本発明は、軸体11と、軸体11の外周に発泡弾性層12とを備え、発泡弾性層12が、ミラブル型シリコーンゴム、架橋剤、及び発泡剤を含有する発泡弾性層用樹脂組成物から形成され、発泡弾性層12の軸方向Xの両端に、それぞれ、発泡弾性層12の厚さtが直線的に減少する漸減部(13,14)を少なくとも一つ有し、漸減部(13,14)の表面(13a,14a)と発泡弾性層12の表面12aとの成す角度θが、120°以上150°以下である定着ローラである。
【選択図】図1
特許請求の範囲
【請求項1】
軸体と、該軸体の外周に発泡弾性層とを備え、
前記発泡弾性層が、ミラブル型シリコーンゴム、架橋剤、及び発泡剤を含有する発泡弾性層用樹脂組成物から形成され、
前記発泡弾性層の軸方向の両端に、それぞれ、前記発泡弾性層の厚さが直線状に減少する漸減部を少なくとも一つ有し、
前記漸減部の表面と発泡弾性層の表面との成す角度が、120°以上150°以下である定着ローラ。
続きを表示(約 200 文字)
【請求項2】
前記漸減部の軸方向の長さが、前記発泡弾性層の全長に対し、3%以上10%以下である請求項1記載の定着ローラ。
【請求項3】
前記発泡剤が、化学発泡剤及び未膨張マイクロバルーンの少なくとも一方を含む請求項1記載の定着ローラ。
【請求項4】
前記発泡弾性層の軸方向の中央部周方向の厚みが、3mm以上15mm以下である請求項1記載の定着ローラ。
発明の詳細な説明
【技術分野】
【0001】
本発明は、定着ローラに関する。
続きを表示(約 1,300 文字)
【背景技術】
【0002】
レーザープリンター、ビデオプリンター等のプリンター、複写機、ファクシミリ、及びこれらの複合機には、電子写真方式を利用した各種の画像形成装置が採用されている。電子写真方式を利用した画像形成装置は、軸体とその外周面に形成された弾性層とを有する、例えば、クリーニングローラ、帯電ローラ、現像ローラ、転写ローラ、二次転写ローラ、加圧ローラ、紙送り搬送ローラ、定着ローラ等の各種印刷用スポンジローラを備えている。
【0003】
これらのスポンジローラの中でも、例えば、加圧ローラ、定着ローラ等は、記録部材にトナーを定着させるために圧縮される。これらのローラは、高圧縮条件で圧縮されると、ゴム層の端部が外側へ逃げて芯金近傍部からゴムが破壊されるという問題がある。このような課題を解決するため、例えば、特許文献1には、弾性層の端部に、軸方向端部に向かって径方向の厚さが漸小する部分を有し、漸小する部分は、曲線部と、該曲線部から連続し弾性層の端面まで設けられるテーパー部とを有するロールが提案されている。
【先行技術文献】
【特許文献】
【0004】
実用新案登録第3165925号公報
【発明の概要】
【発明が解決しようとする課題】
【0005】
しかしながら、特許文献1には、弾性層が発泡弾性層である場合に、高圧縮率で圧縮された場合の課題及びその問題点については記載がない。
本発明は、上記事情に鑑みてなされたものであり、発泡弾性層を有する定着ローラであって、高圧縮条件下でも耐久性の高い定着ローラを提供することを目的とする。
【課題を解決するための手段】
【0006】
本発明らは、発泡弾性層の軸方向の端部において、発泡弾性層の厚さが、所定の角度で直線的に徐々に減少する部分を設けることで、芯金近傍部からゴムが破壊されるという問題を解決できることを見出し、本発明に至った。
本発明は、軸体と、軸体の外周に発泡弾性層とを備え、記発泡弾性層が、ミラブル型シリコーンゴム、架橋剤、及び発泡剤を含有する発泡弾性層用樹脂組成物から形成され、発泡弾性層の軸方向の両端に、それぞれ、発泡弾性層の厚さが直線的に減少する漸減部を少なくとも一つ有し、漸減部の表面と発泡弾性層の表面との成す角度が、120°以上150°以下である定着ローラである。
【0007】
漸減部の軸方向の長さは、発泡弾性層の全長に対し、3%以上10%以下であることが好ましい。
【0008】
発泡剤は、化学発泡剤及び未膨張マイクロバルーンの少なくとも一方を含むことが好ましい。
【0009】
発泡弾性層の軸方向の中央部周方向の厚みは、3mm以上15mm以下であることが好ましい。
【発明の効果】
【0010】
本発明によれば、発泡弾性層を有する定着ローラであって、高圧縮条件下でも耐久性の高い定着ローラを提供することができる。
【図面の簡単な説明】
(【0011】以降は省略されています)
この特許をJ-PlatPat(特許庁公式サイト)で参照する
関連特許
信越ポリマー株式会社
配線基板及びその製造方法
8日前
信越ポリマー株式会社
延焼防止シートおよびその製造方法ならびにバッテリー
9日前
個人
表示装置
1か月前
個人
雨用レンズカバー
1か月前
株式会社シグマ
絞りユニット
2か月前
キヤノン株式会社
撮像装置
1か月前
日本精機株式会社
車両用投射装置
1か月前
平和精機工業株式会社
雲台
3か月前
キヤノン株式会社
撮像装置
2か月前
キヤノン株式会社
撮像装置
2か月前
キヤノン株式会社
撮像装置
1か月前
キヤノン株式会社
撮像装置
1か月前
キヤノン株式会社
撮像装置
今日
キヤノン株式会社
撮像装置
2か月前
株式会社リコー
画像形成装置
3か月前
株式会社リコー
画像形成装置
29日前
株式会社リコー
画像形成装置
3か月前
株式会社リコー
画像形成装置
3か月前
株式会社リコー
画像形成装置
23日前
株式会社リコー
画像形成装置
14日前
株式会社リコー
画像形成装置
2か月前
株式会社リコー
画像形成装置
1か月前
株式会社リコー
画像形成装置
2か月前
株式会社リコー
画像形成装置
29日前
シャープ株式会社
画像形成装置
3か月前
キヤノン株式会社
画像形成装置
3か月前
キヤノン株式会社
画像形成装置
8日前
ブラザー工業株式会社
再生方法
3か月前
キヤノン株式会社
トナー
1か月前
株式会社オプトル
プロジェクタ
3か月前
キヤノン株式会社
画像形成装置
3か月前
キヤノン株式会社
画像形成装置
1か月前
株式会社オプトル
プロジェクタ
2か月前
キヤノン株式会社
トナー
2か月前
キヤノン株式会社
画像形成装置
1か月前
キヤノン株式会社
画像形成装置
3か月前
続きを見る
他の特許を見る