TOP
|
特許
|
意匠
|
商標
特許ウォッチ
Twitter
他の特許を見る
公開番号
2025164673
公報種別
公開特許公報(A)
公開日
2025-10-30
出願番号
2024214753,2024068160
出願日
2024-12-09,2024-04-19
発明の名称
プログラム、情報処理装置及び方法
出願人
フリー株式会社
代理人
IPTech弁理士法人
主分類
G06Q
20/24 20120101AFI20251023BHJP(計算;計数)
要約
【課題】クレジットカードの利用可能なポイントについて、利用するタイミング、取引を多様に提供する。
【解決手段】会計システムにおいて、サーバは、クレジットカードの利用可能枠の金額とクレジットカードを利用した決済に対する支払に利用可能なポイントの値とを記憶し、機能としてクレジットカードを利用した決済に関する決済金額のデータを含む決済データを取得する。取得した決済データに基づき、クレジットカードの利用可能枠を照会し、クレジットカードを利用した決済の可否を判定する。判定の結果が決済が可能である場合、クレジットカードを利用した決済の処理を行い、ポイントをクレジットカードを利用した決済に対する支払に利用するため、ポイントの値とクレジットカードを利用した決済に対する支払の金額に係る金融機関口座からの引き落とし金額とを減額し、引き落としデータを生成する。そのデータを金融機関口座に係る金融機関へ送信する。
【選択図】図6
特許請求の範囲
【請求項1】
プロセッサと、メモリとを備えるコンピュータに実行させ、ユーザが使用するクレジットカードの決済処理を行うためのプログラムであって、
前記メモリは、前記ユーザに付与されている前記クレジットカードの利用可能枠の金額と、前記ユーザに付与されている前記クレジットカードを利用した決済に対する支払に利用可能なポイントの値と、を記憶し、
前記プログラムは、前記プロセッサに、
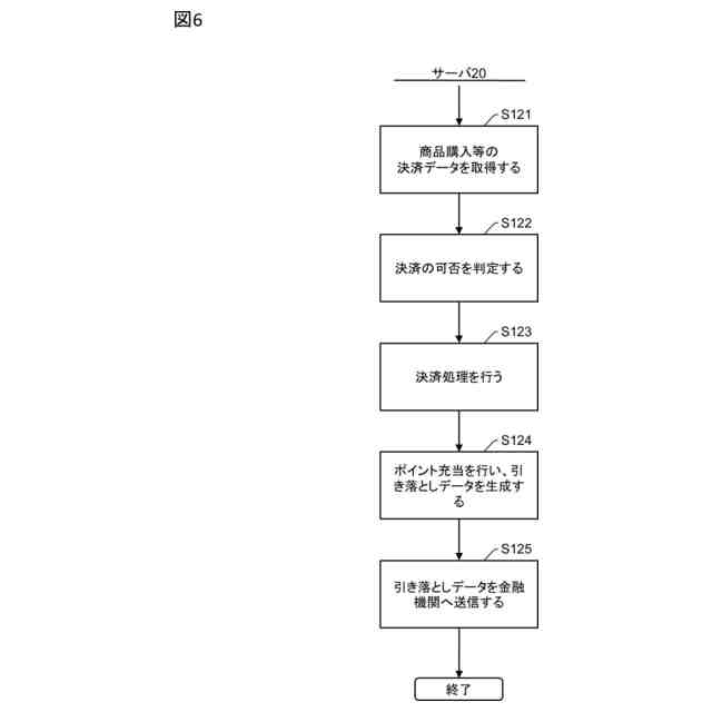
前記ユーザによる前記クレジットカードを利用した決済に関する、決済金額のデータを含む決済データを取得するステップと、
前記取得した決済データに基づき、前記ユーザに付与されている前記クレジットカードの利用可能枠を照会し、前記クレジットカードを利用した決済の可否を判定するステップと、
前記判定の結果が、前記クレジットカードを利用した決済が可能である場合、前記クレジットカードを利用した決済の処理を行うステップと、
前記ユーザに付与されているポイントを前記クレジットカードを利用した決済に対する支払に利用するため、前記ユーザに付与されているポイントの値と、前記クレジットカードを利用した決済に対する支払の金額に係る金融機関口座からの引き落とし金額とを減額し、前記ユーザの金融機関口座からの引き落としデータを生成するステップと、
前記生成した引き落としデータを、金融機関口座に係る金融機関へ送信するステップと、を実行させる、プログラム。
続きを表示(約 2,100 文字)
【請求項2】
前記プログラムは、さらに、
前記ユーザから所定の期間内に、前記クレジットカードを利用した決済に対する支払を、前記ユーザに付与されている前記クレジットカードを利用した決済に対する支払に利用可能なポイントから支払う旨の申込データを受け付けるステップを実行させる、請求項1に記載のプログラム。
【請求項3】
前記プログラムは、さらに、
前記ユーザに付与されている前記クレジットカードを利用した決済に対する支払に利用可能なポイントから支払い可能な、前記クレジットカードを利用した決済に係る決済データの一覧を、前記ユーザに提示するステップを実行させ、
前記申込データを受け付けるステップにおいて、前記ユーザから、提示した決済データの一覧の中から前記クレジットカードを利用した決済に係る決済データの選択を受け付ける、請求項2に記載のプログラム。
【請求項4】
前記クレジットカードを利用した決済に係る決済データの一覧を提示するステップにおいて、所定の条件に基づき、前記クレジットカードを利用した決済に係る決済データを抽出して一覧を提示する、請求項3に記載のプログラム。
【請求項5】
前記プログラムは、さらに、
前記ユーザに付与されている前記クレジットカードを利用した決済に対する支払に利用可能なポイントの値、または利用可能なポイントに対応する金額を、前記ユーザに提示するステップを実行させる、請求項1から請求項4のいずれか1項に記載のプログラム。
【請求項6】
前記プログラムは、さらに、
前記ユーザに付与されているポイントを、前記クレジットカードを利用した決済に対する支払に利用する際のポイントと金額との割合を、所定の条件に基づいて変更するステップを実行させる、請求項1に記載のプログラム。
【請求項7】
前記プログラムは、さらに、
前記決済データ及び引き落としデータを、会計システムにおける仕訳データとして登録して前記メモリに記憶させるステップを実行させる、請求項1に記載のプログラム。
【請求項8】
制御部と、メモリとを備え、ユーザが使用するクレジットカードの決済処理を行う情報処理装置であって、
前記メモリは、前記ユーザに付与されている前記クレジットカードの利用可能枠の金額と、前記ユーザに付与されている前記クレジットカードを利用した決済に対する支払に利用可能なポイントの値と、を記憶し、
前記制御部は、
前記ユーザによる前記クレジットカードを利用した決済に関する、決済金額のデータを含む決済データを取得するステップと、
前記取得した決済データに基づき、前記ユーザに付与されている前記クレジットカードの利用可能枠を照会し、前記クレジットカードを利用した決済の可否を判定するステップと、
前記判定の結果が、前記クレジットカードを利用した決済が可能である場合、前記クレジットカードを利用した決済の処理を行うステップと、
前記ユーザに付与されているポイントを前記クレジットカードを利用した決済に対する支払に利用するため、前記ユーザに付与されているポイントの値と、前記クレジットカードを利用した決済に対する支払の金額に係る金融機関口座からの引き落とし金額とを減額し、前記ユーザの金融機関口座からの引き落としデータを生成するステップと、
前記生成した引き落としデータを、金融機関口座に係る金融機関へ送信するステップと、を実行する、情報処理装置。
【請求項9】
プロセッサと、メモリとを備えるコンピュータにより実行され、ユーザが使用するクレジットカードの決済処理を行うための方法であって、
前記メモリは、前記ユーザに付与されている前記クレジットカードの利用可能枠の金額と、前記ユーザに付与されている前記クレジットカードを利用した決済に対する支払に利用可能なポイントの値と、を記憶し、
前記方法は、前記プロセッサが、
前記ユーザによる前記クレジットカードを利用した決済に関する、決済金額のデータを含む決済データを取得するステップと、
前記取得した決済データに基づき、前記ユーザに付与されている前記クレジットカードの利用可能枠を照会し、前記クレジットカードを利用した決済の可否を判定するステップと、
前記判定の結果が、前記クレジットカードを利用した決済が可能である場合、前記クレジットカードを利用した決済の処理を行うステップと、
前記ユーザに付与されているポイントを前記クレジットカードを利用した決済に対する支払に利用するため、前記ユーザに付与されているポイントの値と、前記クレジットカードを利用した決済に対する支払の金額に係る金融機関口座からの引き落とし金額とを減額し、前記ユーザの金融機関口座からの引き落としデータを生成するステップと、
前記生成した引き落としデータを、金融機関口座に係る金融機関へ送信するステップと、を実行する、方法。
発明の詳細な説明
【技術分野】
【0001】
本開示は、プログラム、情報処理装置及び方法に関する。
続きを表示(約 2,100 文字)
【背景技術】
【0002】
店舗での商品購入やサービスの提供を受ける際、またはオンライン上で商品購入やサービスの提供を受ける際に、現金以外の決済手段として、クレジットカードにより決済を行うことが増加している。これに伴い、クレジットカードによる決済を可能とする店舗(実店舗またはインターネット上の店舗)も増加している。
【0003】
このようなクレジットカードを発行するクレジットカード発行会社では、例えば顧客へのサービスを提供することにより、顧客から自社のクレジットカードを選択してもらうことを目的として、ポイントサービスを提供している。ここで、クレジットカード発行会社におけるポイントサービスは、クレジットカード決済の金額に応じて付与されるものであり、決済に使用可能な金銭的価値を有するものである。
【0004】
このようなクレジットカード発行会社におけるポイントサービスのポイントを管理する技術として、特許文献1には、クレジットカードによる決済の情報(オーソリ)を受け付けると、確定した請求額に基づいて確定ポイントを、未確定の請求額に基づいて仮ポイントを付与して管理する技術が開示されている。
【先行技術文献】
【特許文献】
【0005】
特開2017-157238号公報
【発明の概要】
【発明が解決しようとする課題】
【0006】
ところで、クレジットカードによる決済を実際に利用するユーザとしては、このようなポイントについて意識していないことが多く、ポイントを利用するタイミングを逃してしまうこともあった。また、逆に、このようなポイントを利用するタイミング、対象取引を自己で決定したいとのニーズもあった。そのため、獲得したポイントについて、ユーザが利用する態様を多様に提供することが求められていた。
【0007】
そこで、本開示では、クレジットカードのユーザが利用可能なポイントについて、ユーザが利用するタイミング、取引を多様に提供する技術について説明する。
【課題を解決するための手段】
【0008】
本開示の一実施形態によると、プロセッサと、メモリとを備えるコンピュータに実行させ、ユーザが使用するクレジットカードの決済処理を行うためのプログラムであって、メモリは、ユーザに付与されているクレジットカードの利用可能枠の金額と、ユーザに付与されているクレジットカードを利用した決済に対する支払に利用可能なポイントの値と、を記憶し、プログラムは、プロセッサに、ユーザによるクレジットカードを利用した決済に関する、決済金額のデータを含む決済データを取得するステップと、取得した決済データに基づき、ユーザに付与されているクレジットカードの利用可能枠を照会し、クレジットカードを利用した決済の可否を判定するステップと、判定の結果が、クレジットカードを利用した決済が可能である場合、クレジットカードを利用した決済の処理を行うステップと、ユーザに付与されているポイントをクレジットカードを利用した決済に対する支払に利用するため、ユーザに付与されているポイントの値と、クレジットカードを利用した決済に対する支払の金額に係る金融機関口座からの引き落とし金額とを減額し、ユーザの金融機関口座からの引き落としデータを生成するステップと、生成した引き落としデータを、金融機関口座に係る金融機関へ送信するステップと、を実行させる。
【発明の効果】
【0009】
本開示によれば、ユーザに付与されているポイントを、クレジットカードを利用した決済に対する支払に利用するため、ユーザに付与されているポイントの値と、クレジットカードを利用した決済に対する支払の金額に係る金融機関口座からの引き落とし金額とを減額し、ユーザの金融機関口座からの引き落としデータを生成し、金融機関へ送信される。そのため、クレジットカードのユーザが利用可能なポイントについて決済に利用することが可能になる。これにより、クレジットカードのユーザが利用可能なポイントについて、ユーザが利用するタイミング、取引を多様に提供することが可能になる。
【図面の簡単な説明】
【0010】
実施の形態1の会計システム1の全体構成を示すブロック図である。
図1の端末装置10の機能的な構成を示すブロック図である。
図1のサーバ20の機能的な構成を示すブロック図である。
図3のユーザデータベース2021のデータ構造の例を示す図である。
図3の取引明細データベース2022のデータ構造の例を示す図である。
会計システム1によるポイント充当処理を行う流れの一例を示すフローチャートである。
会計システム1によるポイント充当対象選択処理を行う流れの一例を示すフローチャートである。
【発明を実施するための形態】
(【0011】以降は省略されています)
この特許をJ-PlatPat(特許庁公式サイト)で参照する
関連特許
フリー株式会社
プログラム、情報処理装置及び方法
23日前
フリー株式会社
プログラム、情報処理装置及び方法
2日前
フリー株式会社
プログラム、情報処理装置及び方法
23日前
フリー株式会社
情報処理システム、情報処理方法、及び、情報処理プログラム
25日前
フリー株式会社
情報処理システム、情報処理方法、及び、情報処理プログラム
1か月前
フリー株式会社
情報登録装置、情報処理システム、情報登録方法、及び、情報登録プログラム
2日前
フリー株式会社
プログラム、情報処理装置及び方法
2日前
フリー株式会社
プログラム、情報処理装置及び方法
23日前
フリー株式会社
プログラム、情報処理装置及び方法
23日前
フリー株式会社
情報処理システム、情報処理方法、及び、情報処理プログラム
25日前
フリー株式会社
情報処理システム、情報処理方法、及び、情報処理プログラム
1か月前
フリー株式会社
情報登録装置、情報処理システム、情報登録方法、及び、情報登録プログラム
2日前
ネライ株式会社
商品取引システム、商品取引方法および商品取引プログラム
29日前
個人
詐欺保険
1か月前
個人
縁伊達ポイン
1か月前
個人
RFタグシート
26日前
個人
5掛けポイント
15日前
個人
職業自動販売機
8日前
個人
QRコードの彩色
1か月前
個人
地球保全システム
1か月前
個人
ペルソナ認証方式
23日前
個人
情報処理装置
18日前
個人
自動調理装置
25日前
個人
農作物用途分配システム
1か月前
個人
残土処理システム
1か月前
個人
サービス情報提供システム
10日前
個人
タッチパネル操作指代替具
1か月前
個人
知的財産出願支援システム
1か月前
個人
インターネットの利用構造
22日前
個人
スケジュール調整プログラム
1か月前
個人
携帯端末障害問合せシステム
1か月前
個人
システム及びプログラム
2か月前
株式会社キーエンス
受発注システム
1か月前
個人
食品レシピ生成システム
1か月前
株式会社キーエンス
受発注システム
1か月前
個人
エリアガイドナビAIシステム
23日前
続きを見る
他の特許を見る