TOP
|
特許
|
意匠
|
商標
特許ウォッチ
Twitter
他の特許を見る
10個以上の画像は省略されています。
公開番号
2025171914
公報種別
公開特許公報(A)
公開日
2025-11-20
出願番号
2024177349,2024077612
出願日
2024-10-09,2024-05-10
発明の名称
情報登録装置、情報処理システム、情報登録方法、及び、情報登録プログラム
出願人
フリー株式会社
代理人
個人
主分類
H04L
51/046 20220101AFI20251113BHJP(電気通信技術)
要約
【課題】 ユーザが、より簡便かつ確実に、所定の登録先に情報を登録することができる情報登録装置を提供する。
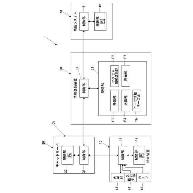
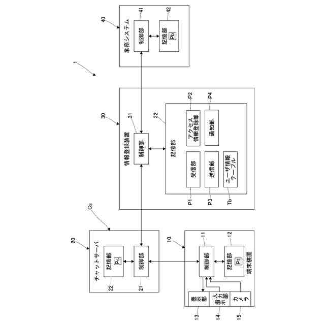
【解決手段】 情報登録装置30は、記憶部32、受信部P1、及び、送信部P3を有する。記憶部32は、グループを識別するグループ識別情報に対応付け、業務システム40に登録された業務アカウントへのアクセス許可を取得可能であるアクセス情報を記憶する。受信部P1は、グループに所属するユーザの各々が投稿情報を投稿可能であるトークルームに投稿された投稿情報と、投稿情報を投稿したユーザが所属するグループのグループ識別情報をチャットシステムCsから受信する。送信部P3は、アクセス情報に基づいて、業務アカウントへのアクセス許可を取得し、業務アカウントに、投稿情報を送信する。
【選択図】図2
特許請求の範囲
【請求項1】
グループを識別するグループ識別情報に対応付け、業務システムに登録された業務アカウントへのアクセス許可を取得可能であるアクセス情報を記憶する記憶部と、
前記グループに所属するユーザの各々が投稿情報を投稿可能であるトークルームに投稿された前記投稿情報と、前記投稿情報を投稿した前記ユーザが所属する前記グループの前記グループ識別情報をチャットシステムから受信する受信部と、
前記アクセス情報に基づいて、前記業務アカウントへの前記アクセス許可を取得し、前記業務アカウントに、前記投稿情報を送信する送信部と、を有する、
情報登録装置。
続きを表示(約 1,900 文字)
【請求項2】
アクセス情報登録部を有し、
前記アクセス情報登録部は、前記ユーザによって指示入力された前記アクセス情報によって前記業務アカウントへの前記アクセス許可を取得したとき、前記グループ識別情報、及び、前記ユーザを識別するユーザ識別情報に対応付けた前記アクセス情報を前記記憶部に登録する、
請求項1に記載の情報登録装置。
【請求項3】
前記受信部は、前記ユーザが投稿した前記投稿情報、前記投稿情報を投稿した前記ユーザが所属する前記グループの前記グループ識別情報、及び、前記投稿情報を投稿した前記ユーザの前記ユーザ識別情報を受信し、
前記送信部は、前記グループ識別情報及び前記ユーザ識別情報に対応付けられた前記アクセス情報が前記記憶部に登録されているとき、前記アクセス情報に基づいて、前記業務アカウントへの前記アクセス許可を取得し、前記業務アカウントに、前記投稿情報を送信する、
請求項2に記載の情報登録装置。
【請求項4】
前記アクセス情報は、前記業務アカウント内の処理単位である組織識別情報を有し、
前記送信部は、前記業務アカウントの組織識別情報によって識別される組織に、前記投稿情報を送信する、
請求項1に記載の情報登録装置。
【請求項5】
前記送信部は、前記記憶部に前記アクセス情報が登録されていないとき、前記業務アカウントに前記投稿情報を送信しない、
請求項1に記載の情報登録装置。
【請求項6】
前記アクセス情報登録部は、前記受信部によって前記チャットシステムから受信した前記アクセス情報が、前記グループが利用可能な前記トークルームを作成した前記ユーザであるオーナによって入力されたものであるとき、前記記憶部に、前記アクセス情報を登録する、
請求項2に記載の情報登録装置。
【請求項7】
通知部を有し、
前記通知部は、前記送信部が前記業務システムに登録された前記業務アカウントに前記投稿情報を送信できなかったとき、前記チャットシステムに前記投稿情報を送信できなかったことを通知する、
請求項1に記載の情報登録装置。
【請求項8】
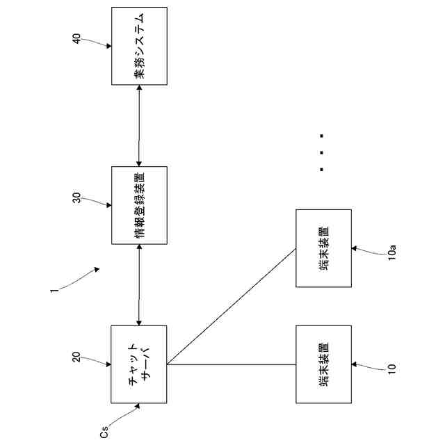
チャットシステムと、情報登録装置を有し、
前記チャットシステムは、グループに所属するユーザの各々が投稿情報を投稿可能であるトークルームに投稿された前記投稿情報と、前記投稿情報を投稿した前記ユーザが所属する前記グループを識別するグループ識別情報を送信し、
前記情報登録装置は、
前記グループ識別情報に対応付け、業務システムに登録された業務アカウントへのアクセス許可を取得可能であるアクセス情報を記憶する記憶部と、
前記投稿情報と、前記グループ識別情報を前記チャットシステムから受信する受信部と、
前記アクセス情報に基づいて、前記業務アカウントへの前記アクセス許可を取得し、前記業務アカウントに、前記投稿情報を送信する送信部と、を有する、
情報処理システム。
【請求項9】
記憶部に、グループを識別するグループ識別情報に対応付け、業務システムに登録された業務アカウントへのアクセス許可を取得可能であるアクセス情報を記憶させ、
受信部により、前記グループに所属するユーザの各々が投稿情報を投稿可能であるトークルームに投稿された前記投稿情報と、前記投稿情報を投稿した前記ユーザが所属する前記グループの前記グループ識別情報をチャットシステムから受信し、
送信部により、前記アクセス情報に基づいて、前記業務アカウントへの前記アクセス許可を取得し、前記業務アカウントに、前記投稿情報を送信する、
情報登録方法。
【請求項10】
記憶部に、グループを識別するグループ識別情報に対応付け、業務システムに登録された業務アカウントへのアクセス許可を取得可能であるアクセス情報を記憶させるコードと、
前記グループに所属するユーザの各々が投稿情報を投稿可能であるトークルームに投稿された前記投稿情報と、前記投稿情報を投稿した前記ユーザが所属する前記グループの前記グループ識別情報をチャットシステムから受信する受信部のコードと、
前記アクセス情報に基づいて、前記業務アカウントへの前記アクセス許可を取得し、前記業務アカウントに、前記投稿情報を送信する送信部のコードと、
をコンピュータに実行させる情報登録プログラム。
発明の詳細な説明
【技術分野】
【0001】
本発明は、情報登録装置、情報処理システム、情報登録方法、及び、情報登録プログラムに関する。
続きを表示(約 1,700 文字)
【背景技術】
【0002】
従来、書類の画像やテキスト等の情報を各種の業務の処理に使用可能に登録する情報処理システムがある。
【0003】
例えば、特開2023-47417号公報には、情報処理装置と通信可能な画像処理装置であって、原稿の画像を読み取り、画像データを生成する読取手段と、チャットサービスのトークルームのスレッドであって、端末装置においてユーザによって指定されたスレッドを示すスレッド情報を情報処理装置から受信する受信手段と、受信手段が受信したスレッド情報が示すスレッドに読取手段が生成した画像データが登録されるように、画像データを情報処理装置に送信する送信手段とを有することを特徴とする画像処理装置が開示される。
【先行技術文献】
【特許文献】
【0004】
特開2023-47417号公報
【発明の概要】
【発明が解決しようとする課題】
【0005】
しかしながら、従来の情報処理システムは、ユーザにとって情報を登録する操作に手間がかかり、特に、登録先を指定する操作がユーザにとって煩わしく、ユーザが登録先を誤入力することによって誤った登録先に情報が登録される懸念もある。
【0006】
そこで、実施形態は、ユーザが、より簡便かつ確実に、所定の登録先に情報を登録することができる情報登録装置、情報処理システム、情報登録方法、及び、情報登録プログラムを提供することを目的とする。
【課題を解決するための手段】
【0007】
実施形態に係る情報登録装置は、記憶部、受信部、及び、送信部を有する。前記記憶部は、グループを識別するグループ識別情報に対応付け、業務システムに登録された業務アカウントへのアクセス許可を取得可能であるアクセス情報を記憶する。前記受信部は、前記グループに所属するユーザの各々が投稿情報を投稿可能であるトークルームに投稿された前記投稿情報と、前記投稿情報を投稿した前記ユーザが所属する前記グループの前記グループ識別情報をチャットシステムから受信する。前記送信部は、前記アクセス情報に基づいて、前記業務アカウントへの前記アクセス許可を取得し、前記業務アカウントに、前記投稿情報を送信する。
【0008】
実施形態に係る情報登録方法は、記憶部に、グループを識別するグループ識別情報に対応付け、業務システムに登録された業務アカウントへのアクセス許可を取得可能であるアクセス情報を記憶させ、受信部により、前記グループに所属するユーザの各々が投稿情報を投稿可能であるトークルームに投稿された前記投稿情報と、前記投稿情報を投稿した前記ユーザが所属する前記グループの前記グループ識別情報をチャットシステムから受信し、送信部により、前記アクセス情報に基づいて、前記業務アカウントへの前記アクセス許可を取得し、前記業務アカウントに、前記投稿情報を送信する。
【0009】
実施形態に係る情報登録プログラムは、記憶部に、グループを識別するグループ識別情報に対応付け、業務システムに登録された業務アカウントへのアクセス許可を取得可能であるアクセス情報を記憶させるコードと、前記グループに所属するユーザの各々が投稿情報を投稿可能であるトークルームに投稿された前記投稿情報と、前記投稿情報を投稿した前記ユーザが所属する前記グループの前記グループ識別情報をチャットシステムから受信する受信部のコードと、前記アクセス情報に基づいて、前記業務アカウントへの前記アクセス許可を取得し、前記業務アカウントに、前記投稿情報を送信する送信部のコードと、をコンピュータに実行させる。
【発明の効果】
【0010】
本発明の実施形態によれば、ユーザが、より簡便かつ確実に、所定の登録先に情報を登録することができる情報登録装置、情報処理システム、情報登録方法、及び、情報登録プログラムを提供することができる。
【図面の簡単な説明】
(【0011】以降は省略されています)
この特許をJ-PlatPat(特許庁公式サイト)で参照する
関連特許
フリー株式会社
プログラム、情報処理装置及び方法
22日前
フリー株式会社
プログラム、情報処理装置及び方法
1日前
フリー株式会社
プログラム、情報処理装置及び方法
22日前
フリー株式会社
情報処理システム、情報処理方法、及び、情報処理プログラム
24日前
フリー株式会社
情報処理システム、情報処理方法、及び、情報処理プログラム
1か月前
フリー株式会社
情報登録装置、情報処理システム、情報登録方法、及び、情報登録プログラム
1日前
フリー株式会社
プログラム、情報処理装置及び方法
1日前
フリー株式会社
プログラム、情報処理装置及び方法
22日前
フリー株式会社
プログラム、情報処理装置及び方法
22日前
フリー株式会社
情報処理システム、情報処理方法、及び、情報処理プログラム
24日前
フリー株式会社
情報処理システム、情報処理方法、及び、情報処理プログラム
1か月前
フリー株式会社
情報登録装置、情報処理システム、情報登録方法、及び、情報登録プログラム
1日前
ネライ株式会社
商品取引システム、商品取引方法および商品取引プログラム
28日前
個人
イヤーピース
14日前
個人
イヤーマフ
28日前
個人
監視カメラシステム
1か月前
個人
スイッチシステム
22日前
キーコム株式会社
光伝送線路
1か月前
サクサ株式会社
中継装置
1か月前
WHISMR合同会社
収音装置
2か月前
個人
スキャン式車載用撮像装置
1か月前
サクサ株式会社
中継装置
1か月前
アイホン株式会社
電気機器
2か月前
キヤノン株式会社
撮像装置
2か月前
ヤマハ株式会社
放音制御装置
22日前
キヤノン電子株式会社
画像読取装置
1か月前
キヤノン電子株式会社
画像読取装置
14日前
個人
映像表示装置、及びARグラス
23日前
キヤノン電子株式会社
画像読取装置
2か月前
株式会社リコー
画像形成装置
2か月前
サクサ株式会社
無線通信装置
1か月前
個人
ワイヤレスイヤホン対応耳掛け
2か月前
サクサ株式会社
無線システム
1か月前
サクサ株式会社
無線通信装置
1か月前
株式会社リコー
画像形成装置
1か月前
キヤノン電子株式会社
画像読取装置
22日前
続きを見る
他の特許を見る