TOP
|
特許
|
意匠
|
商標
特許ウォッチ
Twitter
他の特許を見る
10個以上の画像は省略されています。
公開番号
2025163181
公報種別
公開特許公報(A)
公開日
2025-10-28
出願番号
2025130411,2023171774
出願日
2025-08-05,2013-12-27
発明の名称
システム及びプログラム
出願人
株式会社ユピテル
代理人
主分類
G01C
21/34 20060101AFI20251021BHJP(測定;試験)
要約
【課題】観光スポットの設定作業はもとより、観光ルートの生成条件の設定作業さえも省いて、簡単且つ迅速に観光ルートの情報を表示することが可能なシステム及びプログラムを提供する。
【解決手段】複数の観光ルート情報を取得して表示器5に表示させる制御を行うシステムにおいて、観光ルート情報は観光にかかる所要時間ごとにグループ化して、データベースに格納する。制御部は、観光ルートの所要時間帯をデータベースから取得し、所要時間帯を表示器5に表示させる。また、制御部は、ユーザーから所要時間帯の選択を受け付けると、当該所要時間帯に属する観光ルートを表示器5に表示させる制御を行う。
【選択図】図1
特許請求の範囲
【請求項1】
ユーザーの現在地に応じた観光ルートを含む観光ルート情報が存在することを表示するシステム。
続きを表示(約 690 文字)
【請求項2】
ユーザーの現在地と、前記観光ルートを含む所定のエリア又は前記観光ルート上の地点との関係に応じて、前記観光ルート情報が存在することを表示する
請求項1に記載のシステム。
【請求項3】
前記観光ルート情報が存在することを表示することとして、操作されると前記観光ルート情報に基づく案内が行われるボタンを表示する
請求項1または2に記載のシステム。
【請求項4】
ユーザーの現在地を含む地図を表示する画面に前記ボタンを表示させ、
前記ボタンが操作されると、前記地図を用いて前記観光ルート情報に基づく案内を行う請求項3に記載のシステム。
【請求項5】
前記観光ルート情報に基づく案内として、ユーザーの現在地から前記観光ルートのスタート地点までの経路を案内する請求項1から4のいずれか1項に記載のシステム。
【請求項6】
観光に係る所要時間の選択肢を表示させ、ユーザーからいずれかの前記所要時間の選択を受け付けると、当該所要時間で観光可能な観光ルートを含む観光ルート情報の存在を表示する
請求項1から5のいずれか1項に記載のシステム。
【請求項7】
前記観光ルート情報は、表示に関する優先度が設定された観光スポットを含み、
前記優先度に基づいて前記観光ルート情報を表示する
請求項1から6のいずれか1項に記載のシステム。
【請求項8】
請求項1から7のいずれか1項に記載のシステムの機能をコンピュータに実現させるためのプログラム。
発明の詳細な説明
【技術分野】
【0001】
本発明は、例えば、観光スポットを周遊する観光ルートの情報を表示等するシステム及びプログラムに関するものである。
続きを表示(約 1,400 文字)
【背景技術】
【0002】
近年、カーナビゲーションシステムは必須の車載アイテムとなっている。カーナビゲーションシステムの便利さは、簡単な設定を行うだけで目的地に到着できる点にある。そのため、カーナビゲーションシステムを利用することで、ユーザーは馴染みのない場所でも気軽に出かけることができる。
【0003】
しかし、気軽さゆえに、十分な下調べをすることなく、目的地に向かって出発してしまうという人も少なくない。このため、せっかく遠くの有名な観光地に来ても、到着地以外の観光スポットは詳しく知らないことも多い。そこで従来から、観光地での利用に適したナビゲーション技術が種々提案されている。
【0004】
例えば特許文献1に記載された車載用ナビゲーション装置では、訪問地を順番に効率よく周遊するための最適経路を探索させる技術が提案されている。しかし、この技術では、ガイドブックを見るなどして、ユーザーが目的地となる観光スポットを設定しなければならず、設定作業が面倒であった。
【0005】
そこで、ユーザーが観光スポットを設定せずとも、ユーザーの希望する時間や距離などを観光ルートの生成条件として、出発地点からの観光ルートを生成する技術が提案されている(例えば特許文献2)。
【先行技術文献】
【特許文献】
【0006】
特開平9-101168号公報
特開2012-117848号公報
【発明の概要】
【発明が解決しようとする課題】
【0007】
しかし、特許文献2等の技術では、目的地を設定しないものの、ユーザーの希望する時間や距離など観光ルートの生成条件については、これを設定する必要があり、やはり設定作業が面倒であった。特に、初めて来た観光地では、ユーザーは、そのエリアに含まれる観光スポットを知らないというだけではなく、エリアの規模等も分からない。
【0008】
そのため、観光ルートの生成条件の設定に際して、ユーザーは設定に迷うことがあり、結局はガイドブック等に頼らざるを得なくなる。したがって、観光ルート生成条件の設定作業の負担は、観光スポットの設定作業の負担と大差がないと感じるユーザーも多い。しかも、特許文献2等の技術では、観光ルートの生成処理に時間がかかることは否めず、使い勝手が悪いといった課題が指摘されている。
【0009】
本発明は、上記の課題を解決するために提案されたものであり、その目的は、例えば、観光スポットの設定作業はもとより、観光ルートの生成条件の設定作業さえも省いて、簡単且つ迅速に観光ルートの情報を表示することが可能なシステム及びプログラムを提供することにある。
【課題を解決するための手段】
【0010】
上述した目的を達成するために、本発明に係るシステムは、次のようなものとする。
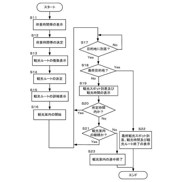
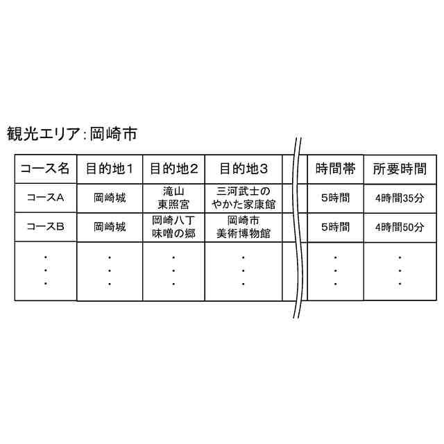
(1)複数の観光ルート情報を取得して表示手段に表示させる制御を行うシステムにおいて、前記観光ルート情報は観光にかかる所要時間ごとにグループ化しており、前記所要時間を表示手段に表示させ、ユーザーから前記所要時間の選択を受け付けると、当該所要時間に属する前記観光ルート情報を前記表示手段に表示させる制御を行う制御手段を有するものとした。
(【0011】以降は省略されています)
特許ウォッチbot のツイートを見る
この特許をJ-PlatPat(特許庁公式サイト)で参照する
関連特許
株式会社ユピテル
出射装置
1か月前
株式会社ユピテル
光照射システム
26日前
株式会社ユピテル
装置およびプログラム等
15日前
株式会社ユピテル
撮影装置及びシステム等
21日前
株式会社ユピテル
システム及びプログラム
1か月前
株式会社ユピテル
電子機器、プログラム等
1か月前
株式会社ユピテル
システム及びプログラム
1か月前
株式会社ユピテル
システム及びプログラム
2か月前
株式会社ユピテル
システム及びプログラム等
5日前
株式会社ユピテル
システムおよびプログラム等
1か月前
株式会社ユピテル
システム、及びプログラム等
1か月前
株式会社ユピテル
車両用システム及びプログラム
1か月前
株式会社ユピテル
撮影装置及びドライブレコーダー等
1か月前
株式会社ユピテル
電子機器と、静止画を動画化するサーバと、プログラム等
1か月前
株式会社ユピテル
車載機,解錠システム,システムおよび車載機を制御する方法
28日前
株式会社ユピテル
撮像装置、システム、及びこのシステムを装備したフォークリフト
15日前
日本精機株式会社
検出装置
28日前
個人
採尿及び採便具
1か月前
個人
高精度同時多点測定装置
1か月前
個人
アクセサリー型テスター
1か月前
個人
計量機能付き容器
23日前
甲神電機株式会社
電流検出装置
28日前
株式会社ミツトヨ
測定器
1か月前
日本精機株式会社
発光表示装置
6日前
株式会社カクマル
境界杭
13日前
株式会社トプコン
測量装置
5日前
アズビル株式会社
電磁流量計
1か月前
大成建設株式会社
風洞実験装置
23日前
日本特殊陶業株式会社
ガスセンサ
21日前
愛知時計電機株式会社
ガスメータ
1か月前
個人
計量具及び計量機能付き容器
23日前
双庸電子株式会社
誤配線検査装置
29日前
個人
システム、装置及び実験方法
1か月前
日本信号株式会社
距離画像センサ
26日前
愛知電機株式会社
軸部材の外観検査装置
1か月前
日本特殊陶業株式会社
ガスセンサ
5日前
続きを見る
他の特許を見る