TOP
|
特許
|
意匠
|
商標
特許ウォッチ
Twitter
他の特許を見る
公開番号
2025161821
公報種別
公開特許公報(A)
公開日
2025-10-24
出願番号
2025125990,2021162093
出願日
2025-07-29,2021-09-30
発明の名称
システム、及びプログラム等
出願人
株式会社ユピテル
代理人
主分類
H04N
7/18 20060101AFI20251017BHJP(電気通信技術)
要約
【課題】利便性の高いシステム、電源装置、及びプログラム等を提供すること。
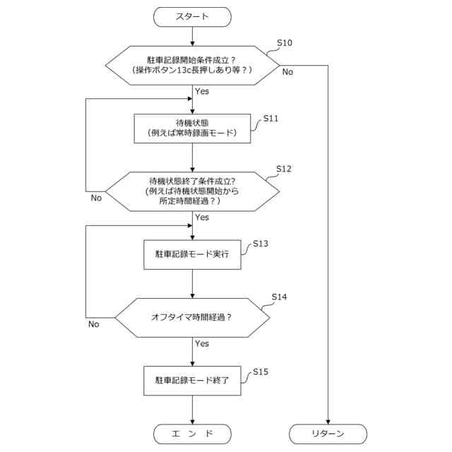
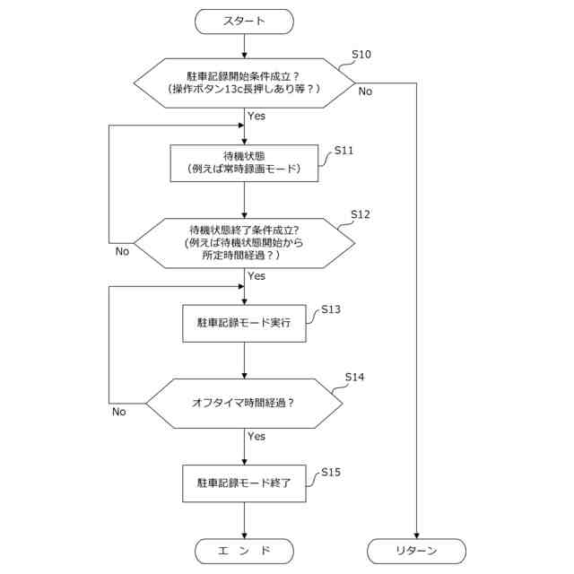
【解決手段】車両100において撮像した映像を記録する録画機能を有するドライブレコーダ1を備え、録画機能として、駐車時用の録画を行う駐車記録モードを有し、当該駐車記録モードは駐車記録開始条件が成立した場合に、駐車時用の録画を開始せずに待機する機能を有し、例えば駐車記録開始条件が成立してから、待機状態を経た後に、駐車時用の録画を開始する。
【選択図】図4
特許請求の範囲
【請求項1】
車両において撮像した映像を記録する録画機能を有する録画機を備え、
前記録画機能として、駐車時用の録画を行う駐車記録モードを有し、駐車記録開始条件が成立した場合に、駐車時用の録画を開
始す
る機能と
、
前記車両のドアが閉じられたことを検出する機能を有し、
前記駐車記録開始条件は、前記車両において所定の衝撃の発生を検知したことを示す第1条件を含み、
前記駐車記録モードは、前記ドアが閉じられたことの検出結果に基づいて、前記第1条件が成立したことに基づく駐車時用の録画をキャンセルする機能を有する
シ
ステム。
続きを表示(約 700 文字)
【請求項2】
前記車両のドアが閉じられたことを検出する機能を有し、
前記駐車記録開始条件は、前記車両において所定の衝撃の発生を検知したことを示す第1条件を含み、
前記駐車記録モードは、前記ドアが閉じられたことが検知されたタイミングと前記第1条件が成立したタイミングとが所定時間内である場合は、駐車時用の録画を開始せずに待機する
請求項
1に
記載のシステム。
【請求項3】
前記駐車記録モードは、前記所定時間内に前記第1条件が成立した場合において、駐車時用の録画を開始せずに待機するか、待機せずに駐車時用の録画を開始するかを設定可能に構成されている
請求項2に記載のシステム。
【請求項4】
前記車両の位置情報を検出する機能を有し、
前記駐車記録モードは、前記所定時間内に前記第1条件が成立した場合において、前記車両の位置情報が所定の条件を満たすときには、駐車時用の録画を開始せずに待機する
請求項
1
から
3
のいずれか一項に記載のシステム。
【請求項5】
前記駐車記録モードは、所定の事象が発生したと判定した場合は、前記待機する条件が成立したときであっても、駐車時用の録画を開始する
請求項
2
から
4
のいずれか一項に記載のシステム。
【請求項6】
コンピュータに請求項1から
5
のいずれか一項に記載のシステムの録画機の機能を実現させるためのプログラム。
発明の詳細な説明
【技術分野】
【0001】
本発明は、例えばシステム、及びプログラム等に関するものである。
続きを表示(約 1,800 文字)
【背景技術】
【0002】
例えば車両に搭載され、車両周辺の映像を撮像し、急ブレーキ、急ハンドルや衝突などのイベント(事象)により車両に衝撃が加わった際に周辺映像や車速などを記録する車載用録画装置、いわゆるドライブレコーダが一般に普及している(例えば特許文献1参照)。
【0003】
特許文献1に記載されているドライブレコーダ(車両用記録装置)は、車両が駐車状態ではなく動作している間は、映像の常時記録を行うとともにイベントの検出を行う。また当該ドライブレコーダは、車両の駐車中、車両のバッテリから電源が供給されている場合は、映像の常時記録を行うとともにイベントの検出を行い、ドライブレコーダ専用のバッテリで動作する場合は、イベントの検出を行うとともにイベントが検出された場合に映像の撮影を行う(特許文献1の段落0043参照)。当該ドライブレコーダでは、車両が駐車状態であることを、シフトポジションが「パーキング」になったことやサイドブレーキが操作されたこと、例えば5秒以上の時間、速度がゼロとなったこと、エンジンの停止などの状態を検出したこと、ユーザ操作などの任意のトリガが発生したこと、で判断している。
【先行技術文献】
【特許文献】
【0004】
特許第6696558号
【発明の概要】
【発明が解決しようとする課題】
【0005】
近年は、より利便性の高いドライブレコーダその他のシステムが望まれている。例えば特許文献1のように車両の駐車中に撮影を継続可能であるシステムにおいて、シフトポジションやサイドブレーキ、車両の速度、エンジン等の状態に関する情報を直接取得できないドライブレコーダもある。そのような車両側の情報を直接取得できないドライブレコーダに対しても、車両の状態を判定可能なシステムが望まれている。
【0006】
また、例えば、ユーザからの操作により車両の駐車状態を判別する場合、ユーザ操作が行われて、すぐに駐車中の録画を開始すると、操作したユーザが毎回映り込んでしまったり、乗客の降車時のドアの開閉等による衝撃をイベント発生と誤検知して不要なイベント録画が行われてしまうおそれがある。
【0007】
上述した課題に鑑み、本発明の目的の一つは、利便性の高いシステム、及びプログラム等を提供することである。
【0008】
本発明の目的はこれに限定されず、本明細書及び図面等に開示される構成の部分から奏する効果を得ることを目的とする構成についても分割出願・補正等により権利取得する意思を有する。例えば本明細書において「~できる」「~可能である」などと記載した箇所を「~が課題である」と読み替えた課題が本明細書には開示されている。課題はそれぞれ独立したものとして記載しているものであり、各々の課題を解決するための構成についても単独で分割出願・補正等により権利取得する意思を有する。課題が明細書の記載から黙示的に把握されるものであっても、本出願人は本明細書に記載の構成の一部を補正又は分割出願にて特許請求の範囲とする意思を有する。またこれら独立の課題を組み合わせた課題を解決する構成についても開示しているものであり、権利取得する意思を有する。
【課題を解決するための手段】
【0009】
上述した課題を解決するため、本発明に係るシステムは、(1)車両において撮像した映像を記録する録画機能を有する録画機を備え、前記録画機能として、駐車時用の録画を行う駐車記録モードを有し、駐車記録開始条件が成立した場合に、駐車時用の録画を開始せずに待機する機能を有することを特徴とする。
【0010】
このように、駐車記録開始条件が成立した場合でも、駐車記録モードの駐車時用の録画を開始せずに待機する機能を有するから、ユーザにとって不要な録画が行われてしまうことを抑制することができる。このようにすると、利便性を高めることができる。駐車時用の録画を開始せずに待機することは、例えば、駐車記録モードでの動作は維持するが、駐車時用の録画を開始しないことをいうとよい。又は、駐車時用の録画を開始せずに待機している期間は、駐車記録モードの動作を停止して、他のモード(例えば、常時録画モード)で動作するようにしてもよい。
(【0011】以降は省略されています)
この特許をJ-PlatPat(特許庁公式サイト)で参照する
関連特許
株式会社ユピテル
出射装置
1か月前
株式会社ユピテル
システム等
2か月前
株式会社ユピテル
光照射システム
27日前
株式会社ユピテル
装置およびプログラム等
16日前
株式会社ユピテル
撮影装置及びシステム等
22日前
株式会社ユピテル
システム及びプログラム
2か月前
株式会社ユピテル
システム及びプログラム
1か月前
株式会社ユピテル
システム及びプログラム
1か月前
株式会社ユピテル
電子機器、プログラム等
1か月前
株式会社ユピテル
システム及びプログラム等
6日前
株式会社ユピテル
システム及びプログラム等
2か月前
株式会社ユピテル
システム、及びプログラム等
1か月前
株式会社ユピテル
システムおよびプログラム等
1か月前
株式会社ユピテル
車両用システム及びプログラム
1か月前
株式会社ユピテル
撮影装置及びドライブレコーダー等
1か月前
株式会社ユピテル
電子機器と、静止画を動画化するサーバと、プログラム等
1か月前
株式会社ユピテル
車載機,解錠システム,システムおよび車載機を制御する方法
29日前
株式会社ユピテル
撮像装置、システム、及びこのシステムを装備したフォークリフト
16日前
個人
イヤーピース
27日前
個人
イヤーマフ
1か月前
個人
監視カメラシステム
1か月前
個人
スイッチシステム
1か月前
キーコム株式会社
光伝送線路
1か月前
個人
スキャン式車載用撮像装置
1か月前
サクサ株式会社
中継装置
1か月前
サクサ株式会社
中継装置
1か月前
WHISMR合同会社
収音装置
2か月前
キヤノン株式会社
撮像装置
6日前
キヤノン株式会社
撮像装置
3か月前
アイホン株式会社
電気機器
2か月前
サクサ株式会社
無線通信装置
1か月前
サクサ株式会社
無線通信装置
1か月前
株式会社リコー
画像形成装置
3か月前
個人
映像表示装置、及びARグラス
1か月前
キヤノン電子株式会社
画像読取装置
2か月前
個人
ワイヤレスイヤホン対応耳掛け
2か月前
続きを見る
他の特許を見る