TOP
|
特許
|
意匠
|
商標
特許ウォッチ
Twitter
他の特許を見る
10個以上の画像は省略されています。
公開番号
2025168367
公報種別
公開特許公報(A)
公開日
2025-11-07
出願番号
2025136059,2024145311
出願日
2025-08-19,2014-05-30
発明の名称
光照射システム
出願人
株式会社ユピテル
,
株式会社ユピテル鹿児島
代理人
主分類
G07C
5/08 20060101AFI20251030BHJP(チェック装置)
要約
【課題】遠方から近方にかけて効率的に照らし出すことができる光照射システムを提供すること。
【解決手段】ドライブレコーダの車室内撮影用カメラ1の本体ケース2にカメラユニット42を搭載し、カメラユニット42B近傍に半値角±10度の赤外線LED39Aと、赤外線LED39Aよりも相対的に放射強度の小さな半値角±60度の赤外線LED39Bとを補助照明として配置する。そして本体ケース2を吊り下げ用ブラケット3で車両のフロントガラスの内側に装着してカメラユニット42で撮影する際に特に夜間等暗い場合に赤外線LED39A、39Bを補助照明として赤外線を照射して撮影をする。これによって前部座席側を広い範囲で明瞭に照らし出すことができると同時に後部座席をスポット的に明瞭に照らし出すことができる。
【選択図】図3
特許請求の範囲
【請求項1】
本体ケースと、
前記本体ケース内に配置され
て、
撮影方向に向けられるレンズ部と、
前記本体ケースに配置されて、前記撮影方向の領域に光を照射する第1の光照射手段および第2の光照射手段と、
前記本体ケースを
その上方から車両に取り付け
る支持部材と、
を有す
るカメラであって
、
前記支持部材は
、
前
記車両に固定
されている固定状態を実現する
天板部と、
前記天板部から下垂される下方で前記本体ケースと接続され、かつ前記固定状態において
前記本体ケースに対する前記支持部材の相対的な姿勢を変更可能に
する
下
垂部
と、
を備え、
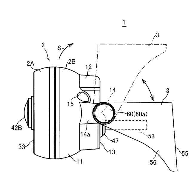
前記下垂部において
前記天板部に対して前方にオフセットした位置に
は、前記本体ケースが揺動することで前記相対的な姿勢を変更可能とする回動中心が設けられ、
前記回動中心から前記天板部の前方の端までの寸法は、前記回動中心から前記本体ケースが揺動する揺動方向における外形までの最大寸法より短くなるように設定され、
前記第1の光照射手段は、
前記第2の光照射手段より半値角が小さい光を放射する構成を有し、
前記揺動方向において前記第2の光照射手段より前記端側に配置される
カメラ。
続きを表示(約 260 文字)
【請求項2】
前記回動中心には、前記本体ケースを前記下垂部に対して揺動させることが可能な固定用ノブが取り付けられている
請求項1に記載のカメラ。
【請求項3】
前
記下垂部は
、前記天板部に対して略直交する
請求項1
又は2
に記載のカメラ。
【請求項4】
前記レンズ部が前記車両の車室内の方向に向けられるようにして、前記支持部材が前記車両に固定される
請求項1
から3のいずれか1項
に記載のカメラ。
発明の詳細な説明
【技術分野】
【0001】
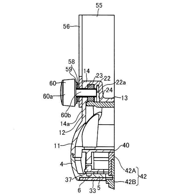
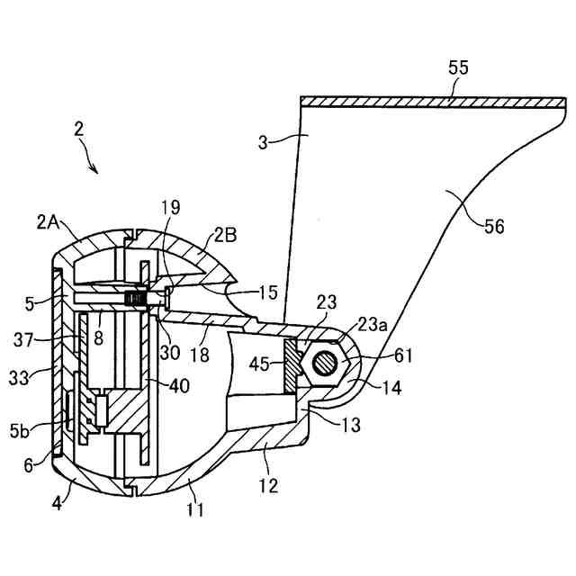
本発明は、対象物を照らし出すために使用する光照射システムに関するものである。
続きを表示(約 4,500 文字)
【背景技術】
【0002】
対象物を照らし出すために使用される光照射システムを応用した機器として、例えば、ドライブレコーダが挙げられる。ドライブレコーダにおいては車両内に設置されて主に車両内の映像を記録する機種があり、これは例えば、交通事故が発生した際の車内の様子を記録したり、通常の運転時において車両内の人の様子、例えばタクシーの乗客や運転手の挙動を監視するために使用されることを念頭においている。このようなドライブレコーダの一例として特許文献1を示す。特許文献1のドライブレコーダでは車両内のルームミラー近傍に車載用撮影ユニット10を取り付け、前部座席から後部座席にかけての広い領域を撮影して記録することが可能となっている。特許文献1で使用されるような電子カメラでは受光素子(CCD素子やCMOS素子)の感度に限界があるため、夜間等暗い場所では光量が足らず必ずしも鮮明な撮像を得ることができない。そのため、車載用撮影ユニット10には複数の赤外線LED17が赤外線カメラ15に隣接した位置に配置されて鮮明な映像が撮影できるようになっている。
【先行技術文献】
【特許文献】
【0003】
特開2010-253987号公報
【発明の概要】
【発明が解決しようとする課題】
【0004】
しかしながら、特許文献1で例示するように従来技術では撮影に必要となる不足する光量を補うために単純に赤外線を撮影対象物に照射するに過ぎなかった。例えば多くの赤外線発光素子を設けたり、赤外線発光素子の放射強度を大きくして赤外線を照射すれば撮影対象物は確かに明るくなるので鮮明な撮像が得られるわけであるが、多くの赤外線発光素子を設けたり、無制限に明るくすることは消費電力も多くなり高コスト化を招来することになる。また、高負荷で使用することで赤外線LEDのような発光素子の寿命も短くなる傾向となってしまう。更に、電源供給に制限があるためそもそも無制限に電力を消費できないような環境で使用する場合もある。一方、撮影対象物はすべてが同じ明るさの赤外線で照らし出されなければいけないわけではない。例えば、近方の対象物は遠方の対象物と比べると相対的に放射強度が大きくなくとも距離が近い分だけ強度が小さくとも鮮明な撮像が得られやすいはずである。そのため、遠方から近方にかけて撮影対象物を照明によって照らし出す際に必要な範囲を適切な光量で効率的に照らし出す技術が求められていた。尚、上記では赤外線を照射するドライブレコーダを例にとったが、人の眼では認識できない赤外線だけでなく可視光や紫外線を利用して対象物を照らし出す場合においても同様の課題が生じる。また、可視光の照明であればカメラのような撮影手段は必ずしも必須要件ではない。
本発明は、上記諸問題を解消するためになされたものであり、その目的は、遠方から近方にかけて効率的に照らし出すことができる光照射システムを提供することである。
【課題を解決するための手段】
【0005】
上記目的を達成するために、第1の手段として、第1の光照射手段と、第2の光照射手段とを備え、前記第1の光照射手段は、前記第2の光照射手段よりも放射強度の大きな光を狭い範囲に照射可能であり、前記第2の光照射手段は、前記第1の光照射手段よりも放射強度の小さな光を広い範囲に照射可能とすることがよい。
このような構成であると、遠方については放射強度の大きな光によって照らし出して遠方の必要な領域をより明瞭に見ることができると同時に、近方の広い領域は相対的に放射強度の小さな光を使用して広角度で照らし出して近方をより広範囲により明瞭に見ることができ、ユーザーは遠方から近方にかけての必要な範囲を同時に適切な明るさで認識することができる。特に、第1の光照射手段と第2の光照射手段の照射強度と照射領域を視認対象とその関係で適切に設定するとよく、このような構成によれば、無駄なく効率的に消費電力を抑制しつつ、必要な範囲を視認可能とすることが可能となる。
光照射システムは、それぞれ放射強度が順に大きくなりかつより狭い範囲を照射可能になる複数の光照射手段を組み合わせて構成するとよい。例えば、n個の光照射手段を設け、光照射手段Aは最も放射強度の小さな光を最も広い範囲に照らすものとし、光照射手段Bは光照射手段Aよりも放射強度の大きな光をより狭い範囲に照らすものとし、光照射手段Cは光照射手段Bよりも放射強度の大きな光をより狭い範囲に照らすものとし・・・、光照射手段nは光照射手段n-1よりも放射強度の大きな光をより狭い範囲に照らすものとするとよい。
光照射システムに備える放射強度と照射範囲の異なる光照射手段の個数は、視認が必要な領域の個数とするとよい。視認が必要な領域は、基準位置からの距離が段階的に異なる位置とするとよい。段階的に異なる位置としては、例えば、所定値以上の差がある位置とするとよい。特に基準位置からの距離に所定以上の差がある複数の異なる照射対象領域に対応付けて光照射手段を設けるとよい。基準位置は例えばいずれかの光照射手段の位置とするとよい。例えば、車両において、基準位置をルームミラーの近傍として後方車室内を照らす場合、車両が前後2列のシートの車両であれば、運転席・助手席を照らす光照射手段Aと後部座席を照らす光照射手段Bとの2つの光照射手段を設けるとよい。また例えば、車両の後部座席が前後2列あり合計3列のシートの車両であれば、運転席・助手席を照らす光照射手段Aとその後ろの第一の後部座席を照らす光照射手段Bとさらにその後ろの第二の後部座席を照らす光照射手段Cの3つの光照射手段を設けるとよい。前後の座席の間には、基準位置からの距離に所定値以上の差があり、このような場合に、本光照射システムは、各列の座席にいる者を従来に比べより確実に照らし出すことができる。特に第1の光照射手段から第nの光照射手段の照射範囲はそれぞれの列においてほぼ同一の幅に照射範囲となるようにそれぞれの照射範囲を設定するとよい。このようにすれば車両において各列を同様の幅で照らすことができる。但し、全ての光照射手段を運転席よりも前に設置する場合には、各列における照射範囲の幅として第1の光照射手段の照射する照射範囲の幅が第2以降の光照射手段の照射する幅よりも広い幅に設定するとよい。特に、運転者の運転状況は例えば運転者のハンドル操作や足元付近などまで広く照らす一方、後部座席の人はその顔などが照らされるようにするとよい。
【0006】
ここに、第1の光照射手段及び第2の光照射手段はそれぞれ単数であっても複数であってもよい。数に制限がなければ最適な電力効率となるような設計が考えやすくなり、様々な仕様の光デバイスに対応しやすくなる。また、第1の光照射手段及び第2の光照射手段が同じ数あっても異なる数であってもよいが、特に同じ数であれば配置バランスがよくなる。
また、具体的な光照射手段としては、例えばLED(発光ダイオード)や白熱灯である。LEDであると同じ光量でLEDではない例えば白熱灯に比べて消費電力が少なくなり、例えば車両のようなバッテリー電源からの給電において無駄に電気を消費しないためよい。また、コンパクト化にも貢献するためユーザにとって例えば狭い車両内で機器を設置する場合に有利である。また、消費電力が少ないため電源部が発熱しにくくなり、特に他の電子機器側の電源部から分岐して給電される場合には電力消費が多くなるため、このように消費電力が少ないLEDを使用することがよい。
【0007】
第2の手段として、前記第1の光照射手段が照射する光は半値角±10~30度であり、前記第2の光照射手段が照射する光は半値角±45~60度であることがよい。
半値角とは光軸位置における光の放射強度が半分になる位置の角度であって、光の指向性の尺度となるものである。半値角は光軸を基準として左右(つまり±方向)方向への角度で示す。このような角度を持った光であるためユーザーにとって遠方から近方にかけての広い範囲を同時に妥当な明るさで認識することが可能となる。特に車内フロントガラス付近に設けた光照射手段から光を照射する場合に、このような構成とすれば、運転席・助手席側の人を広範囲に照らすことができるとともに、後部座席の人を明るく照らすことができる。
【0008】
第3の手段として、前記第1の光照射手段及び前記第2の光照射手段が照射する光は赤外線領域を含み、当該赤外線を検出してその検出内容を人が認知可能な状態で出力する出力手段を備えることがよい。
このようにすれば、近方も遠方も必要な領域を夜間等にも人が認知可能となる。検出は、例えば、センサ等で行うようにするとよく、特にマトリックス状に配置されたセンサを用いるとよく、例えば、赤外線カメラを用いるとよい。出力は、例えば、検出強度が所定以上か否かを判別して出力する構成としてもよいが、例えば、可視光に変換して出力するとよい。出力は例えば音声等で行うようにしてもよいが、光で行うようにするとよい。
出力はリアルタイムで行うようにしてもよいが、特に記録しておき、後に記録した内容を読みだして行うようにするとよい。例えば、検出は赤外線カメラで行い、出力はカメラの映像として記録しておき、後に記録した映像をパソコン等のモニター上に再生して出力する構成とするとよい。
【0009】
第4の手段として、前記第1の光照射手段及び前記第2の光照射手段は互いに近傍に配置されており、前記第1及び第2の光照射手段による照射方向は略同一方向であることがよい。
このようにすれば、第1の光照射手段による第1の照射領域の略中心部に第2の光照射手段による第2の照射領域が形成されることになる。したがって、照射領域全体のうち、中心部をより遠くまで視認できるとともに、近傍は周辺部を広く視認できる。
【0010】
第5の手段として、前記第1の光照射手段及び前記第2の光照射手段は車両前方位置から車室内を照射するように設置可能であり、前記第1の光照射手段を車両内において運転席から遠方となる後部座席をスポット的に照らし出す照射範囲及び照射強度とし、第2の光照射手段を運転席や助手席を含む近傍を広角度で照らし出す照射範囲及び照射強度とすることがよい。
このようにすれば、ユーザー(例えばタクシーの運転手やタクシー会社)は後部座席に着座する人の顔周辺をしっかりと確認することが可能となるとともに、同時に前部座席に着座する人(運転手と助手席に座る人)の様子全体もしっかりと確認することができる。
(【0011】以降は省略されています)
この特許をJ-PlatPat(特許庁公式サイト)で参照する
関連特許
株式会社ユピテル
出射装置
1か月前
株式会社ユピテル
システム等
2か月前
株式会社ユピテル
光照射システム
27日前
株式会社ユピテル
装置およびプログラム等
16日前
株式会社ユピテル
撮影装置及びシステム等
22日前
株式会社ユピテル
システム及びプログラム
2か月前
株式会社ユピテル
システム及びプログラム
1か月前
株式会社ユピテル
システム及びプログラム
1か月前
株式会社ユピテル
電子機器、プログラム等
1か月前
株式会社ユピテル
システム及びプログラム等
6日前
株式会社ユピテル
システム及びプログラム等
2か月前
株式会社ユピテル
システム、及びプログラム等
1か月前
株式会社ユピテル
システムおよびプログラム等
1か月前
株式会社ユピテル
車両用システム及びプログラム
1か月前
株式会社ユピテル
撮影装置及びドライブレコーダー等
1か月前
株式会社ユピテル
電子機器と、静止画を動画化するサーバと、プログラム等
1か月前
株式会社ユピテル
車載機,解錠システム,システムおよび車載機を制御する方法
29日前
株式会社ユピテル
撮像装置、システム、及びこのシステムを装備したフォークリフト
16日前
個人
自動販売機
7日前
株式会社イシダ
商品処理装置
2か月前
株式会社バンダイ
物品供給装置
4か月前
株式会社バンダイ
物品供給装置
4か月前
株式会社バンダイ
物品供給装置
4か月前
株式会社バンダイ
物品供給装置
4か月前
株式会社タムラ製作所
自動販売機
22日前
富士電機株式会社
通貨識別装置
4か月前
沖電気工業株式会社
媒体処理装置
3か月前
沖電気工業株式会社
紙幣処理装置
3か月前
沖電気工業株式会社
施錠開閉装置
1か月前
アサヒ飲料株式会社
遠隔決済方法
27日前
沖電気工業株式会社
媒体処理装置
1日前
沖電気工業株式会社
媒体処理装置
1日前
沖電気工業株式会社
媒体処理装置
1日前
沖電気工業株式会社
媒体処理装置
3か月前
沖電気工業株式会社
媒体処理装置
1日前
沖電気工業株式会社
媒体処理装置
3か月前
続きを見る
他の特許を見る