TOP
|
特許
|
意匠
|
商標
特許ウォッチ
Twitter
他の特許を見る
公開番号
2025169374
公報種別
公開特許公報(A)
公開日
2025-11-12
出願番号
2025136057,2021158922
出願日
2025-08-19,2021-09-29
発明の名称
撮影装置及びシステム等
出願人
株式会社ユピテル
代理人
主分類
H04N
23/51 20230101AFI20251105BHJP(電気通信技術)
要約
【課題】従来よりも機能を向上させた技術を提供すること、例えば、ユーザが撮影装置の撮影方向を調整しやすくするための技術を提供することである。
【解決手段】撮影装置200は、撮影部が設けられた筐体201を有し、前記筐体201を所定の取付部位に取り付けた状態で前記撮影部の撮影方向を調整可能に構成され、前記撮影方向の目安となる情報である指標220を表示する。
【選択図】図8
特許請求の範囲
【請求項1】
撮影部が設けられた筐体を有し、前記筐体を所定の取付部位に取り付けた状態でユーザが前記撮影部の撮影方向を調整可能に構成され、前記撮影方向の目安となる情報を表示するように構成された
撮影装置。
続きを表示(約 850 文字)
【請求項2】
前記撮影方向の目安となる情報が前記筐体に表示される
請求項1に記載の撮影装置。
【請求項3】
前記撮影方向の目安となる情報は、前記撮影部の撮像レンズの向く方向の目安となる情報である
請求項1又は2に記載の撮影装置。
【請求項4】
前記所定の取付部位は、車両の車室内の部位であり、
前記撮影方向の目安となる情報は、前記車室内のユーザが当該情報を目視したときに、前記撮像レンズを目視できない位置に表示される
請求項3に記載の撮影装置。
【請求項5】
前記所定の取付部位は、車両の車室内の部位であり、
前記撮影方向の目安となる情報は、前記筐体を前記所定の取付部位に取り付けた状態で、前記筐体のうちの前記車両の車幅方向を向く位置に表示される
請求項1から4のいずれか1項に記載の撮影装置。
【請求項6】
前記撮影部の向く方向の目安となる情報は、前記撮影方向を指し示す情報を含む
請求項1から5のいずれか1項に記載の撮影装置。
【請求項7】
前記撮影方向の目安となる情報は、前記撮影方向に沿って延びる線を含む
請求項1から6のいずれか1項に記載の撮影装置。
【請求項8】
前記撮影方向の目安となる情報は、前記撮影方向に沿って延びる第1の線と、前記第1の線に交差する第2の線とを含む
請求項1から7のいずれか1項に記載の撮影装置。
【請求項9】
前記撮影方向の目安となる情報は、天地方向を有する文字、図形又は記号を含む
請求項1から8のいずれか1項に記載の撮影装置。
【請求項10】
前記撮影方向の目安となる情報は、前記筐体のうちの前記撮影部の撮像レンズに対向する位置に表示される
請求項1から9のいずれか1項に記載の撮影装置。
(【請求項11】以降は省略されています)
発明の詳細な説明
【技術分野】
【0001】
本発明は、撮影装置及びシステム等に関する。
続きを表示(約 1,600 文字)
【背景技術】
【0002】
特許文献1は、ブラケットを用いて車両のフロントガラスに取り付けることのできるドライブレコーダを開示している。
【先行技術文献】
【特許文献】
【0003】
特開2010-105530号公報
【発明の概要】
【発明が解決しようとする課題】
【0004】
本発明の目的の一つは、従来よりも機能を向上させた技術を提供すること、例えば、ユーザが撮影装置の撮影方向を調整しやすくするための技術を提供することである。
【0005】
本願の発明の目的はこれに限定されず、本明細書及び図面等に開示される構成の部分から奏する効果を得ることを目的とする構成についても分割出願・補正等により権利取得する意思を有する。例えば本明細書において「~できる」と記載した箇所を「~が課題である」と読み替えた課題が本明細書には開示されている。課題はそれぞれ独立したものとして記載しているものであり、各々の課題を解決するための構成についても単独で分割出願・補正等により権利取得する意思を有する。課題が明細書の記載から黙示的に把握されるものであっても、本出願人は本明細書に記載の構成の一部を補正又は分割出願にて特許請求の範囲とする意思を有する。またこれら独立の課題を組み合わせた課題を解決する構成についても開示しているものであり、権利取得する意思を有する。
【課題を解決するための手段】
【0006】
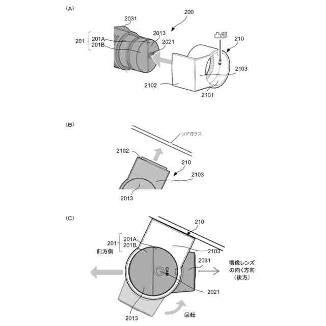
(1)撮影部が設けられた筐体を有し、前記筐体を所定の取付部位に取り付けた状態でユーザが前記撮影部の撮影方向を調整可能に構成され、前記撮影方向の目安となる情報を表示する撮影装置を提供する。
【0007】
このようにすると、ユーザは、撮影部が設けられた筐体を所定の取付部位に取り付けるときに、撮影部の撮影方向の目安となる情報を手掛かりとして、その撮影方向を調整することができる。例えば、その取り付けをするときに、ユーザが、撮影部を直接目視することができない又は目視しにくい場合でも、撮影部の撮影方向の目安となる情報を目視し、これを手掛りとすることで、撮影方向を調整しやすい。撮影部の撮影方向の目安となる情報は、筐体を取り付けるユーザが目視可能な位置に表示されるようにすると、ユーザは、その情報を目視しながら撮影方向を調整することができる。撮影部は、ユーザが筐体の姿勢を変更させたことに伴って、撮影方向が変更されるように構成されるとよい。例えば、筐体は、取付部材を用いて所定の取付部位に取り付けられ、その取り付けをした状態で、ユーザによる筐体の姿勢を変化させる操作を受け付ける構成とするとよい。表示の方法について、詳しくは後述する。また、撮影部の撮影方向の目安となる情報は、撮影装置が自装置において表示するとよいが、撮影装置が自装置でない装置やその他の位置に表示してもよい。撮影部の撮影方向の目安となる情報を表示することは、ユーザが目視可能にその情報を示す方法で行われればよく、例えば、筐体への印刷や刻印(又は彫刻)等、その情報を表示する貼り付け部材の筐体への貼り付け、孔の形成、表示装置への画像情報の表示等の方法で行われるとよい。
【0008】
(2)前記撮影方向の目安となる情報が前記筐体に表示されるとよい。
【0009】
このようにすると、ユーザは、筐体と撮影方向の目安となる情報との両方を目視しながら撮影方向を調整することができるので、その調整をしやすくすることができる。
【0010】
(3)前記撮影方向の目安となる情報は、前記撮影部の撮像レンズの向く方向の目安となる情報であるとよい。
(【0011】以降は省略されています)
この特許をJ-PlatPat(特許庁公式サイト)で参照する
関連特許
株式会社ユピテル
出射装置
21日前
株式会社ユピテル
光照射システム
7日前
株式会社ユピテル
撮影装置及びシステム等
2日前
株式会社ユピテル
システム及びプログラム
17日前
株式会社ユピテル
電子機器、プログラム等
23日前
株式会社ユピテル
システム及びプログラム
1か月前
株式会社ユピテル
システムおよびプログラム等
17日前
株式会社ユピテル
システム、及びプログラム等
21日前
株式会社ユピテル
車両用システム及びプログラム
1か月前
株式会社ユピテル
撮影装置及びドライブレコーダー等
15日前
株式会社ユピテル
電子機器と、静止画を動画化するサーバと、プログラム等
1か月前
株式会社ユピテル
車載機,解錠システム,システムおよび車載機を制御する方法
9日前
個人
イヤーピース
7日前
個人
イヤーマフ
21日前
個人
監視カメラシステム
1か月前
個人
スイッチシステム
15日前
キーコム株式会社
光伝送線路
1か月前
個人
スキャン式車載用撮像装置
1か月前
サクサ株式会社
中継装置
1か月前
サクサ株式会社
中継装置
1か月前
WHISMR合同会社
収音装置
2か月前
キヤノン株式会社
撮像装置
2か月前
アイホン株式会社
電気機器
1か月前
サクサ株式会社
無線システム
1か月前
ヤマハ株式会社
放音制御装置
15日前
株式会社リコー
画像形成装置
2か月前
株式会社リコー
画像形成装置
2か月前
サクサ株式会社
無線通信装置
1か月前
キヤノン電子株式会社
画像読取装置
15日前
キヤノン電子株式会社
画像読取装置
7日前
キヤノン電子株式会社
画像読取装置
29日前
株式会社リコー
画像形成装置
23日前
キヤノン電子株式会社
画像読取装置
2か月前
個人
ワイヤレスイヤホン対応耳掛け
1か月前
サクサ株式会社
無線通信装置
1か月前
個人
映像表示装置、及びARグラス
16日前
続きを見る
他の特許を見る