TOP
|
特許
|
意匠
|
商標
特許ウォッチ
Twitter
他の特許を見る
10個以上の画像は省略されています。
公開番号
2025163139
公報種別
公開特許公報(A)
公開日
2025-10-28
出願番号
2025128685,2024159982
出願日
2025-07-31,2019-04-19
発明の名称
タッチパネルを用いた文字入力のための画像処理装置、その制御方法及びプログラム
出願人
キヤノン株式会社
代理人
弁理士法人谷・阿部特許事務所
主分類
G06F
3/04842 20220101AFI20251021BHJP(計算;計数)
要約
【課題】UI画面上に表示中の未確定なファイル名等に対する部分的な編集を、ユーザが容易に行えるようにする。
【解決手段】タッチパネルを有するユーザインタフェース手段と、文書をスキャンして得られたスキャン画像から文字領域を検出する検出手段と、前記スキャン画像に対しプロパティを設定するためのUI画面を、前記タッチパネルに表示する表示制御手段と、前記UI画面を介してユーザによって選択された文字領域の文字列を用いて、前記プロパティを設定する設定手段と、を備え、前記UI画面には、前記プロパティを構成する文字列を入力するための入力欄が存在し、前記表示制御手段は、少なくとも1つの文字列が入力されている状態の前記入力欄へのタッチ操作が検知されると、当該タッチ操作に基づき特定される文字列の修正を行うためのソフトキーボードを前記タッチパネルに表示する。
【選択図】図19
特許請求の範囲
【請求項1】
スキャン画像を表示するプレビュー領域と文字列が入力される入力欄とを表示するように制御する制御手段を備え、
前記制御手段は、前記プレビュー領域に表示された前記スキャン画像内の1つの文字領域がユーザの操作により選択されると、当該選択された1つの文字領域に対応する第1の文字列を前記入力欄に入力するように制御し、
前記入力欄に入力された前記第1の文字列は、前記スキャン画像を含むファイルのファイル名の一部として用いられ、
前記ファイル名を表す文字列の間に挿入する区切り文字を、区切り文字のみを表示した複数の選択肢の中からユーザが選択することが可能である
ことを特徴とする画像処理装置。
発明の詳細な説明
【技術分野】
【0001】
本発明は、タッチパネルを用いた文字入力技術に関する。
続きを表示(約 2,200 文字)
【背景技術】
【0002】
従来より、文書の管理手法として、文書をスキャナで読み取って得られたスキャン画像を所定フォーマットのファイルに変換し、ネットワーク上のストレージサーバに送信して保存する手法が広く利用されている。そして、スキャン画像に対してファイル名を簡単に設定する手法として、プレビュー表示されているスキャン画像上の文字領域をユーザにタッチして選択させる手法がある。特許文献1には、文書をスキャンして得られたスキャン画像が事前に定義した画像特徴と一致する場合、該文書内の特定位置に記載される文字列を用いてファイル名を生成して表示し、当該ファイル名へのユーザによる編集を受け付ける技術が開示されている。
【先行技術文献】
【特許文献】
【0003】
特開2018-124656号公報
【発明の概要】
【発明が解決しようとする課題】
【0004】
上記特許文献1の技術では、文書の特定位置から得られた複数の文字列が結合されて一続きのファイル名の状態でユーザに対して提示(UI画面上に表示)される。そのため、ファイル名の一部である文字列毎に編集を行いたいユーザは、提示されたファイル名全体の中から、編集対象となる文字列の位置と範囲を指定してから編集する必要がある。つまり、提示されたファイル名に対し部分的な編集を行うには多くの手間を要することになっていた。
【0005】
本発明は、上記課題に対応するべくなされたものである。すなわち、UI画面上に表示中の未確定なファイル名等に対する部分的な編集を、ユーザが容易に行えるようにすることを目的とする。
【課題を解決するための手段】
【0006】
本開示に係る画像処理装置は、タッチパネルを有するユーザインタフェース手段と、文書をスキャンして得られたスキャン画像から文字領域を検出する検出手段と、前記スキャン画像に対しプロパティを設定するためのUI画面を、前記タッチパネルに表示する表示制御手段と、前記UI画面を介してユーザによって選択された文字領域の文字列を用いて、前記プロパティを設定する設定手段と、を備え、前記UI画面には、前記プロパティを構成する文字列を入力するための入力欄が存在し、前記表示制御手段は、少なくとも1つの文字列が入力されている状態の前記入力欄へのタッチ操作が検知されると、当該タッチ操作に基づき特定される文字列の修正を行うためのソフトキーボードを前記タッチパネルに表示する、ことを特徴とする。
【発明の効果】
【0007】
本開示の技術によれば、UI画面上に表示中の未確定なファイル名等に対する部分的な編集が容易にできるようになる。これにより、ファイル名の編集作業におけるユーザの操作効率が改善される。
【図面の簡単な説明】
【0008】
画像処理システムの全体構成を示す図
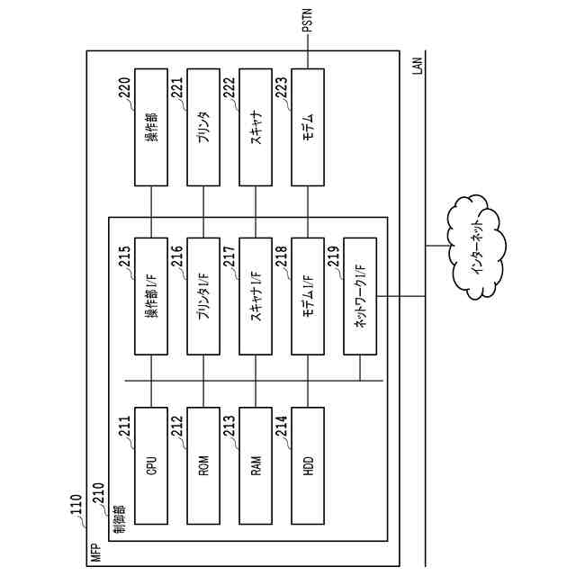
MFPのハードウェア構成を示すブロック図
MFP連携サーバ及びストレージサーバのハードウェア構成を示すブロック図
画像処理システムのソフトウェア構成を示すブロック図
画像処理システム全体の処理の流れを示すシーケンス図
メイン画面の一例を示す図
ログイン画面の一例を示す図
スキャン設定画面の一例を示す図
(a)はリクエストIDの一例を示す図、(b)及び(c)は処理状況の問合せに対するレスポンスの一例を示す図
ファイル名設定画面の一例を示す図
学習リクエストの一例を示す図
MFPにおける処理の流れを示すフローチャート
スキャン画像の一例を示す図
ファイル名条件設定画面の一例を示す図
文字認識結果の一例を示す図
類似帳票判定結果の一例を示す図
スキャン画像の一例を示す図
MFPでのファイル名設定処理の流れを示すフローチャート
MFPでのファイル名設定処理の流れを示すフローチャート
プレビュー領域の初期表示部分を示す図
ファイル名設定画面の一例を示す図
ソフトキーボードの一例を示す図
操作ガイダンスが表示されたファイル名設定画面の一例を示す図
文字領域に対してタッチ操作がなされたときのファイル名設定画面の一例を示す図
初期変倍率を調整した場合の、プレビュー領域の初期表示部分を示す図
【発明を実施するための形態】
【0009】
以下、本発明を実施するための形態について図面を用いて説明する。なお、以下の実施の形態は特許請求の範囲に係る発明を限定するものでなく、また実施の形態で説明されている特徴の組み合わせの全てが発明の解決手段に必須のものとは限らない。
【0010】
[実施形態1]
<システム構成>
図1は、本実施形態に係る、画像処理システムの全体構成を示す図である。画像処理システムは、MFP(Multifunction Peripheral)110と、インターネット上でクラウドサービスを提供するサーバ装置120及び130とを含む。MFP110は、インターネットを介してサーバ装置120及び130と通信可能に接続されている。
(【0011】以降は省略されています)
この特許をJ-PlatPat(特許庁公式サイト)で参照する
関連特許
キヤノン株式会社
容器
今日
キヤノン株式会社
容器
6日前
キヤノン株式会社
トナー
22日前
キヤノン株式会社
トナー
22日前
キヤノン株式会社
トナー
9日前
キヤノン株式会社
トナー
22日前
キヤノン株式会社
測距装置
15日前
キヤノン株式会社
撮像装置
6日前
キヤノン株式会社
現像容器
20日前
キヤノン株式会社
現像装置
20日前
キヤノン株式会社
撮像装置
6日前
キヤノン株式会社
表示装置
今日
キヤノン株式会社
撮像装置
6日前
キヤノン株式会社
現像装置
13日前
キヤノン株式会社
定着装置
21日前
キヤノン株式会社
撮影装置
20日前
キヤノン株式会社
記録装置
6日前
キヤノン株式会社
記録装置
20日前
キヤノン株式会社
現像容器
20日前
キヤノン株式会社
撮像装置
今日
キヤノン株式会社
現像装置
20日前
キヤノン株式会社
モジュール
22日前
キヤノン株式会社
画像処理装置
20日前
キヤノン株式会社
画像形成装置
21日前
キヤノン株式会社
画像形成装置
20日前
キヤノン株式会社
画像形成装置
20日前
キヤノン株式会社
画像形成装置
20日前
キヤノン株式会社
画像形成装置
6日前
キヤノン株式会社
電子写真装置
7日前
キヤノン株式会社
カートリッジ
20日前
キヤノン株式会社
情報処理装置
20日前
キヤノン株式会社
画像形成装置
2日前
キヤノン株式会社
画像形成装置
21日前
キヤノン株式会社
情報処理装置
2日前
キヤノン株式会社
画像形成装置
2日前
キヤノン株式会社
画像形成装置
3日前
続きを見る
他の特許を見る