TOP
|
特許
|
意匠
|
商標
特許ウォッチ
Twitter
他の特許を見る
10個以上の画像は省略されています。
公開番号
2025162552
公報種別
公開特許公報(A)
公開日
2025-10-27
出願番号
2025092981
出願日
2025-06-03
発明の名称
通気性皮革積層体の製造方法
出願人
個人
,
個人
,
YING ZUHAO
代理人
個人
主分類
D06M
17/00 20060101AFI20251020BHJP(繊維または類似のものの処理;洗濯;他に分類されない可とう性材料)
要約
【課題】十分な防水性とともに、安定した通気性を確保しやすく、かつ、通気性に関して不良品の発生を著しく低減できる通気性皮革積層体の製造方法を提供する。
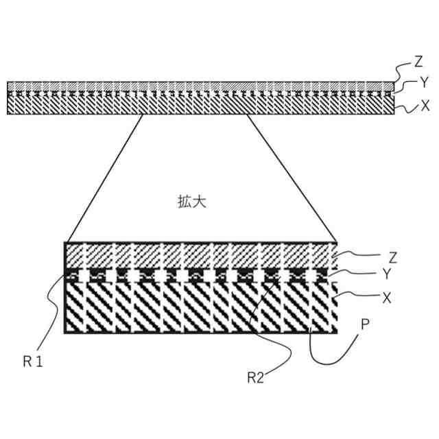
【解決手段】本発明に係る通気性皮革積層体の製造方法は、皮革シートに、レーザーを照射して、貫通孔を形成して通気性皮革シートを作成するレーザー照射工程と、前記通気性皮革シートに、貫通孔に接着剤が塗布されないように貫通孔の周囲に接着剤を塗布して、接着剤塗布面を形成する接着剤塗布工程と、前記通気性皮革シートの接着剤塗布面に、防水性シートを張り合わせて皮革積層体を形成する積層体形成工程とを順次実施する。
【選択図】図1
特許請求の範囲
【請求項1】
皮革シートに、レーザーを照射して、貫通孔を形成して通気性皮革シートを作成するレーザー照射工程と、
前記通気性皮革シートに、貫通孔に接着剤が塗布されないように貫通孔の周囲に接着剤を塗布して、接着剤塗布面を形成する接着剤塗布工程と、
前記通気性皮革シートの接着剤塗布面に、防水性シートとを張り合わせて皮革積層体を形成する積層体形成工程とを順次実施する通気性皮革積層体の製造方法。
発明の詳細な説明
【技術分野】
【0001】
本発明は、通気性皮革積層体の製造方法に関し、具体的には、十分な防水性とともに、安定した通気性を有する確保しやすく、かつ、通気性に関して不良品の発生を著しく低減できる通気性皮革積層体の製造方法に関する。
続きを表示(約 1,100 文字)
【背景技術】
【0002】
一般に、皮革(天然皮革、人工皮革など)を材料として靴を製造した場合、皮革の通気性が極めて低い乃至全くないため、使用者が当該靴を着用した際に、靴内部の湿度が極めて高い状態で維持され、蒸れ、延いては雑菌繁殖の温床となることがある。
【0003】
このような課題に対しては、通気性のある材料が選択されたり、あるいは皮革に微細な貫通孔が形成されたりしている。
皮革に微細な貫通孔を形成する方法として、たとえば、特許文献1では、赤外線領域のレーザー(炭酸レーザやYAGレーザなど)を使用して、人工皮革に貫通孔を形成して、人工皮革に高い通気性を付与する旨が開示されている。
【0004】
一方で、皮革、特に天然皮革を使用した靴では、雨などで一旦水を含むと、深部まで水が浸透してしまい、乾燥しにくく、場合によってはカビや異臭の発生などの原因となる。そのため、皮革の表面に、防水シートを、接着剤を介して積層して、防水性を向上させた皮革積層体も靴の材料として使用されている。
【先行技術文献】
【特許文献】
【0005】
特開2001-248644号公報
【発明の概要】
【発明が解決しようとする課題】
【0006】
ここで、人工皮革の通気性(通気性)と防水性を両立させることは容易ではない。すなわち、皮革に貫通孔を形成して、通気性を向上させると、水にさらされた際に、上述のように、皮革の深部まで水が浸透してしまう上に、上記の貫通孔に水が進入しやすく、乾燥しにくくなってしまう。
【0007】
対して、防水性を向上させるために防水シートを張り合わせると、当然、通気性(通気性)を著しく損なうことになる。
【0008】
さらには、本発明の発明者は、皮革シートと防水シートとを接着剤を介して張り合わせて積層体を形成し、当該積層体にレーザーで無数の貫通孔を形成しても、部分ごとに通気性にムラがあるという知見を得た。
【0009】
そこで、本発明者は、鋭意検討の結果、通気性皮革積層体を製造するにあたり、皮革シートに、レーザーを照射して、貫通孔を形成し、当該貫通孔に接着剤が塗布されないように貫通孔の周囲に接着剤を塗布した後、防水シートを張り合わせて積層体を形成することで、このような課題を解決できることを見出した。
【0010】
すなわち、本発明は、十分な防水性とともに、安定した通気性を有する確保しやすく、かつ、通気性に関して不良品の発生を著しく低減できる通気性皮革積層体の製造方法を提供することを目的とする。
【課題を解決するための手段】
(【0011】以降は省略されています)
この特許をJ-PlatPat(特許庁公式サイト)で参照する
関連特許
個人
洗濯機
10日前
個人
洗濯装置
3か月前
個人
洗濯物干しハンガー
26日前
セーレン株式会社
複合表皮材
10日前
株式会社青柳
染め加工方法
2か月前
東レ株式会社
繊維断面の検査方法
1か月前
株式会社アライホーム
物干装置
10日前
東レ株式会社
ゴム補強用合成繊維コード
2か月前
有限会社高田紙器製作所
紙製洗濯バサミ
3か月前
株式会社槌屋
加飾用表皮材
1か月前
東レ株式会社
炭素繊維シートの製造方法
3か月前
東レ株式会社
樹脂含浸繊維束の製造方法
3か月前
リンナイ株式会社
衣類乾燥機
1か月前
個人
ポリエステル染色物の製造方法
1か月前
株式会社創和
ボックス状洗濯ネット
2か月前
株式会社大阪ソーダ
撥水撥油性繊維処理剤
2か月前
シャープ株式会社
洗濯機
3か月前
リンテック株式会社
耐水性基材
1か月前
個人
洗濯用洗剤容器の蓋
3か月前
アイリスオーヤマ株式会社
洗濯機
26日前
大阪瓦斯株式会社
衣類乾燥機
3か月前
大阪瓦斯株式会社
衣類乾燥機
3か月前
大阪瓦斯株式会社
衣類乾燥機
3か月前
松本油脂製薬株式会社
繊維用処理剤及びその利用
3か月前
個人
開閉角度調整可能な角型折畳みピンチハンガー
3か月前
ダイニック株式会社
ターポリン、及びその製造方法
1か月前
シャープ株式会社
洗濯機
3か月前
シャープ株式会社
洗濯機
3か月前
シャープ株式会社
洗濯機
3か月前
東レ株式会社
抗菌性アクリル系繊維およびその製造方法
2か月前
東芝ライフスタイル株式会社
洗濯機
2か月前
株式会社wash-plus
ランドリーシステム
26日前
シャープ株式会社
衣類処理システム
3か月前
シャープ株式会社
洗濯機
4か月前
東レ株式会社
人工皮革およびその製造方法ならびに雑貨
2か月前
個人
パイプ用係止、固定装置及び洗濯バサミ取り付け具
3か月前
続きを見る
他の特許を見る