TOP
|
特許
|
意匠
|
商標
特許ウォッチ
Twitter
他の特許を見る
10個以上の画像は省略されています。
公開番号
2025162291
公報種別
公開特許公報(A)
公開日
2025-10-27
出願番号
2024065485
出願日
2024-04-15
発明の名称
鞄および鞄の製造方法
出願人
個人
代理人
個人
主分類
A45C
13/30 20060101AFI20251020BHJP(手持品または旅行用品)
要約
【課題】型崩れしにくく、長く使用可能な鞄および鞄の製造方法を提供すること。
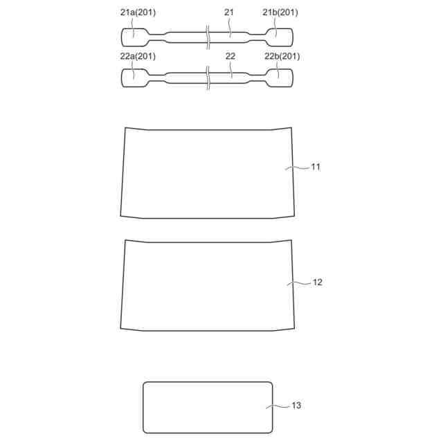
【解決手段】本発明の一態様は、皮革製の鞄本体10と、ハンドル部20と、を備える鞄1であって、鞄本体10は、正面から左右両側面にかけて一体的に曲げられる前身頃部分11と、背面から左右両側面にかけて一体的に曲げられる後身頃部分12と、底面を構成する底面部分13と、左側の側面で前身頃部分11と後身頃部分12とを接続する左側接合部分51と、右側の側面で前身頃部分11と後身頃部分12とを接続する右側接合部分52と、前身頃部分11および後身頃部分12のそれぞれの底面の側の縁と底面部分13とを接続する底側接続部分53と、を有し、ハンドル部20は、収容空間100の上方を跨ぐように取り付けられる第1ハンドル部分21と、収容空間100の上方を跨ぎ、第1ハンドル部分21と交差するように取り付けられる第2ハンドル部分22と、を有する。
【選択図】図1
特許請求の範囲
【請求項1】
正面、背面、底面および左右の側面によって内部に収容空間を構成する皮革製の鞄本体と、
前記鞄本体に取り付けられるハンドル部と、
を備える鞄であって、
前記鞄本体は、
前記正面から左右両方の前記側面にかけて一体的に曲げられる前身頃部分と、
前記背面から左右両方の前記側面にかけて一体的に曲げられる後身頃部分と、
前記底面を構成する底面部分と、
左側の前記側面で前記前身頃部分と前記後身頃部分とを接続する左側接合部分と、
右側の前記側面で前記前身頃部分と前記後身頃部分とを接続する右側接合部分と、
前記前身頃部分および前記後身頃部分のそれぞれの前記底面の側の縁と前記底面部分とを接続する底側接続部分と、を有し、
前記ハンドル部は、
前記収容空間の上方を跨ぐように取り付けられる第1ハンドル部分と、
前記収容空間の上方を跨ぎ、前記第1ハンドル部分と交差するように取り付けられる第2ハンドル部分と、を有する、鞄。
続きを表示(約 980 文字)
【請求項2】
前記鞄本体は、前記収容空間の上方の開口を構成する略矩形の上部周縁部を有し、
前記上部周縁部における4つの隅部を一方周りに順に第1隅部、第2隅部、第3隅部および第4隅部とした場合、
前記第1ハンドル部分の一方の端部は前記第1隅部に接続され、他方の端部は前記第3隅部に接続され、
前記第2ハンドル部分の一方の端部は前記第2隅部に接続され、他方の端部は前記第4隅部に接続される、請求項1に記載の鞄。
【請求項3】
前記第1ハンドル部分の前記一方の端部および前記他方の端部、並びに前記第2ハンドル部分の前記一方の端部および前記他方の端部のそれぞれは、前記上部周縁部の前記隅部を構成する隣り合う2面に跨がり前記2面と接続される取り付け片を有する、請求項2に記載の鞄。
【請求項4】
前記左側接合部分は、前記鞄本体の左側の前記側面の中央部分で前記前身頃部分と前記後身頃部分とを上下方向に縫製した左側縫製領域を有し、
前記右側接合部分は、前記鞄本体の右側の前記側面の中央部分で前記前身頃部分と前記後身頃部分とを上下方向に縫製した右側縫製領域を有する、請求項1に記載の鞄。
【請求項5】
前記底側接続部分は、前記底面の側の前記縁を全周で縫製した底側縫製領域を有し、
前記底側縫製領域は、前記左側縫製領域の下端および前記右側縫製領域の下端のそれぞれと重なる、請求項4に記載の鞄。
【請求項6】
前記鞄本体は、前記正面からみて左右対称型である、請求項5に記載の鞄。
【請求項7】
鞄の製造方法であって、
皮革から構成される前身頃部分、後身頃部分および底面部分をそれぞれ成形する第1の工程と、
前記第1の工程で成形した前記前身頃部分の両側端と前記後身頃部分の両側端とを縫製によって接合する第2の工程と、
前記第2の工程で縫製した前記前身頃部分および前記後身頃部分のそれぞれの底面側の縁と前記底面部分とを縫製によって接合して、収容空間を有する鞄本体を成形する第3の工程と、
前記鞄本体の前記収容空間の上方を跨ぐように、2本のハンドル部分を互いに交差するように取り付ける第4の工程と、
を備える鞄の製造方法。
発明の詳細な説明
【技術分野】
【0001】
本発明は、型崩れしにくく、長く使用可能な鞄および鞄の製造方法に関するものである。
続きを表示(約 1,900 文字)
【背景技術】
【0002】
特許文献1には、ベルトを強固に固着させつつ、ステッチが施された固着部の損傷を防ぐ作用を有する、簡易な構造のベルト固着構造を備えた鞄が開示される。この鞄に用いられるベルト固着構造は、布地本体と、ベルト本体とが固着される固着部の構造において、固着部は、布地本体とベルト本体とを重ねて固着する固着ステッチ部と、固着ステッチ部に接してベルト本体の固着されない部分方向には、布地本体とベルト本体とを重ねて固着するとともに、前記固着ステッチ部を補強する補強ステッチ部と、が備えられる。
【先行技術文献】
【特許文献】
【0003】
特開2022-087766号公報
【発明の概要】
【発明が解決しようとする課題】
【0004】
このように、ハンドバッグやショルダーバッグからなる鞄には、収容空間を有する鞄本体に持ち手やストラップとなるハンドル部が取り付けられている。この鞄に荷物を入れてハンドル部を持つと、荷物の重量がハンドル部の取り付け箇所に集中して掛かることになる。このため、荷物を入れて鞄を持った際の型崩れを防止するとともに、ハンドル部の取り付け箇所の耐久性についても十分に考慮する必要がある。
【0005】
本発明はかかる事情に鑑みてなされたものであり、その目的は、型崩れしにくく、長く使用可能な鞄および鞄の製造方法を提供することである。
【課題を解決するための手段】
【0006】
本発明の一態様は、正面、背面、底面および左右の側面によって内部に収容空間を構成する皮革製の鞄本体と、前記鞄本体に取り付けられるハンドル部と、を備える鞄であって、前記鞄本体は、前記正面から左右両方の前記側面にかけて一体的に曲げられる前身頃部分と、前記背面から左右両方の前記側面にかけて一体的に曲げられる後身頃部分と、前記底面を構成する底面部分と、左側の前記側面で前記前身頃部分と前記後身頃部分とを接続する左側接合部分と、右側の前記側面で前記前身頃部分と前記後身頃部分とを接続する右側接合部分と、前記前身頃部分および前記後身頃部分のそれぞれの前記底面の側の縁と前記底部分とを接続する底側接続部分と、を有し、前記ハンドル部は、前記収容空間の上方を跨ぐように取り付けられる第1ハンドル部分と、前記収容空間の上方を跨ぎ、前記第1ハンドル部分と交差するように取り付けられる第2ハンドル部分と、を有する、鞄である。
【0007】
このような構成によれば、ハンドル部を持ったときに鞄本体に掛かる力の4つの作用点において、第1ハンドル部分の両端部である2つの作用点と、第2ハンドル部分の両端部である2つの作用点とがそれぞれ対角の関係となる。これにより、第1ハンドル部分と第2ハンドル部分との両方を持つことで、鞄本体に対して4点の対角どうしを吊り上げるようになって、鞄をバランス良く持つことができる。
【0008】
好適には、前記鞄本体は、前記収容空間の上方の開口を構成する略矩形の上部周縁部を有し、前記上部周縁部における4つの隅部を一方周りに順に第1隅部、第2隅部、第3隅部および第4隅部とした場合、前記第1ハンドル部分の一方の端部は前記第1隅部に接続され、他方の端部は前記第3隅部に接続され、前記第2ハンドル部分の一方の端部は前記第2隅部に接続され、他方の端部は前記第4隅部に接続される。これにより、第1ハンドル部分と第2ハンドル部分との両方を持つことで、鞄本体の略矩形の上部周縁部の4つの隅部に対して対角どうしを吊り上げるようになって、鞄をバランス良く持つことができる。
【0009】
好適には、前記第1ハンドル部分の前記一方の端部および前記他方の端部、並びに前記第2ハンドル部分の前記一方の端部および前記他方の端部のそれぞれは、前記上部周縁部の前記隅部を構成する隣り合う2面に跨がり前記2面と接続される取り付け片を有する。これにより、第1ハンドル部分および第2ハンドル部分のそれぞれの端部が取り付け片によって隅部を挟むように確実に接続される。
【0010】
好適には、前記左側接合部分は、前記鞄本体の左側の前記側面の中央部分で前記前身頃部分と前記後身頃部分とを上下方向に縫製した左側縫製領域を有し、前記右側接合部分は、前記鞄本体の右側の前記側面の中央部分で前記前身頃部分と前記後身頃部分とを上下方向に縫製した右側縫製領域を有する。これにより、前身頃部分と後身頃部分とが鞄本体の左右の側面の中央部分で上下方向に縫製され、鞄本体の収容空間がしっかりと構成される。
(【0011】以降は省略されています)
この特許をJ-PlatPat(特許庁公式サイト)で参照する
関連特許
個人
包み箱
3か月前
個人
爪やすり
1か月前
個人
傘
3か月前
個人
杖
5か月前
個人
傘
7か月前
個人
二重把手袋
7か月前
個人
財布
5か月前
個人
折り畳み傘
4か月前
個人
バッグ
4か月前
個人
シール
7か月前
個人
眼鏡ホルダー
4か月前
個人
肩ベルトカバー
3か月前
個人
刺抜き具
8か月前
個人
傘
10か月前
個人
シート状パック
7か月前
個人
美容用具
4か月前
個人
ゲル状のシート
22日前
個人
傘の先端キャップ
6か月前
個人
滑らないヘアピン
10か月前
個人
補助持ち手付き傘
6か月前
個人
電動爪削り器
11か月前
ベス工業株式会社
整髪具
6か月前
個人
折りたたみ式提げ手。
8か月前
個人
スマートフォンカバー
8か月前
株式会社文殊
巾着袋
4か月前
株式会社松風
人工爪組成物
6日前
個人
リュックサック
11か月前
個人
手提げ袋携帯ホルダー
9か月前
大忠株式会社
バッグ
9か月前
株式会社バンビ
長財布
9か月前
株式会社イケテイ
袋物
6か月前
コクヨ株式会社
バッグ
7か月前
株式会社バンビ
長財布
1か月前
個人
エクステプレート
3か月前
個人
傘巻き取り補助具
2か月前
個人
背負い型荷物支え具
1か月前
続きを見る
他の特許を見る