TOP
|
特許
|
意匠
|
商標
特許ウォッチ
Twitter
他の特許を見る
10個以上の画像は省略されています。
公開番号
2025161589
公報種別
公開特許公報(A)
公開日
2025-10-24
出願番号
2024064905
出願日
2024-04-12
発明の名称
処理装置、撮像装置、処理方法、プログラム、および記憶媒体
出願人
キヤノン株式会社
代理人
個人
,
個人
,
個人
主分類
G02B
7/34 20210101AFI20251017BHJP(光学)
要約
【課題】 高速処理が可能な処理装置を提供する。
【解決手段】 処理装置(200)は、撮像素子(202)の画素位置ごとの情報が撮像光学系(201)の光軸から周辺に向かう順または周辺から光軸に向かう順の第1配列(106)で格納された第1データと、第1データが光学条件に関する第2配列(104、105)で格納された第2データとを記憶する記憶部(203)と、第2データにおける第1データの一部の連続した複数の隣接データを用いて第3データを演算し、第1配列と異なる第3配列で第3データを記憶部に格納する処理部(207)とを有する。
【選択図】図1
特許請求の範囲
【請求項1】
撮像素子の画素位置ごとの情報が撮像光学系の光軸から周辺に向かう順または該周辺から該光軸に向かう順の第1配列で格納された第1データと、前記第1データが光学条件に関する第2配列で格納された第2データとを記憶する記憶部と、
前記第2データにおける前記第1データの一部の連続した複数の隣接データを用いて第3データを演算し、前記第1配列と異なる第3配列で前記第3データを前記記憶部に格納する処理部と、を有することを特徴とする処理装置。
続きを表示(約 930 文字)
【請求項2】
前記記憶部は、前記第1配列における位置と前記第3配列における位置とを対応付ける画素位置テーブルを記憶し、
前記処理部は、前記画素位置テーブルを参照して、前記第1配列の順に演算して得られた前記第3データを前記第3配列で前記記憶部に格納することを特徴とする請求項1に記載の処理装置。
【請求項3】
前記撮像光学系は、複数の光軸を有し、
前記第1配列は、前記複数の光軸のそれぞれから前記周辺に向かう順または該周辺から該複数の光軸のそれぞれに向かう順の配列であることを特徴とする請求項1に記載の処理装置。
【請求項4】
前記第1配列は、前記光軸を基準としたスパイラル順の配列であることを特徴とする請求項1に記載の処理装置。
【請求項5】
前記第2配列は、前記光学条件に関する値の順の配列であることを特徴とする請求項1に記載の処理装置。
【請求項6】
前記光学条件に関する前記値は、F値またはPO値の少なくとも一つを含むことを特徴とする請求項5に記載の処理装置。
【請求項7】
前記第3配列は、画素の横方向または縦方向の順であることを特徴とする請求項1に記載の処理装置。
【請求項8】
前記第3データは、デフォーカス量の算出に用いられる係数データであることを特徴とする請求項1乃至7のいずれかに記載の処理装置。
【請求項9】
前記処理部は、
前記撮像光学系の第1瞳部分領域の通過光束を受光する第1焦点検出画素の受光信号から生成される第1焦点検出信号と、前記第1瞳部分領域と異なる前記撮像光学系の第2瞳部分領域の通過光束を受光する第2焦点検出画素の受光信号から生成される第2焦点検出信号とを用いて像ずれ量を算出し、
前記像ずれ量と前記第3データとを用いてデフォーカス量を算出することを特徴とする請求項1乃至7のいずれかに記載の処理装置。
【請求項10】
撮像素子と、請求項1乃至7のいずれかに記載の処理装置とを有することを特徴とする撮像装置。
(【請求項11】以降は省略されています)
発明の詳細な説明
【技術分野】
【0001】
本発明は、処理装置、撮像装置、処理方法、プログラム、および記憶媒体に関する。
続きを表示(約 1,400 文字)
【背景技術】
【0002】
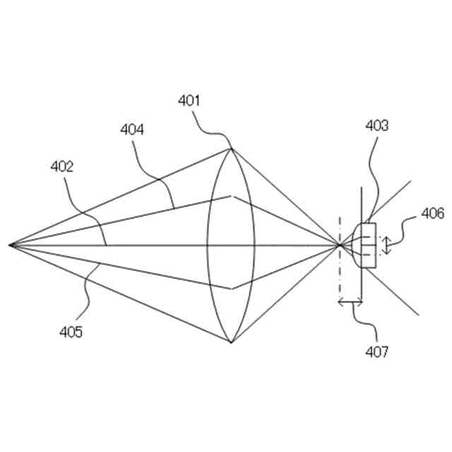
従来、撮像素子を用いて瞳分離を行う撮像面位相差方式の焦点検出方法が知られている。また、レンズ交換式カメラにおいて、交換レンズの光学特性と撮像素子の光学特性との両方で決まる特性がある。特に焦点検出画素同士の基線長は焦点面を演算するために必要であり、前記特性を演算する必要がある。
【0003】
特許文献1には、レンズ毎のレンズ枠のケラレ形状の情報を用いて、瞳分離された像の像ずれ量からデフォーカス量に変換する変換係数を算出する方法が開示されている。ケラレ形状に対する変換係数を求めるパラメータをメモリ部にテーブルとして記憶しておき、決定したケラレ形状に対応するパラメータをメモリ部から取り出して演算を行う。特許文献2には、メモリ部に記憶された復元フィルタを用いてデコンボリューション処理を行うことで画像を補正する方法が開示されている。特許文献1および特許文献2において、必要なパラメータはメモリ部に記憶されている。
【先行技術文献】
【特許文献】
【0004】
特開2019-219576号公報
特開2012-65187号公報
特開2023-42434号公報
【発明の概要】
【発明が解決しようとする課題】
【0005】
しかしながら、特許文献1および特許文献2に開示された方法では、画素位置ごとに異なるパラメータが必要となり、画素位置、F値、およびPO値などの光学条件を離散的に持って補間する場合でも膨大なテーブルとなる。また、光学条件を離散的に持つ場合、画素位置、F値、およびPO値を補間演算する必要があるため、1つの画素位置に対応する4つの補間用画素位置に対して2つの補間用F値および2つ補間用PO値の合計16個のパラメータの補間が必要となる。
【0006】
近年、同時に測距可能な測距点数が増え、フレームレートも高速化し、距離マップおよび距離画像などの大量に係数演算をする必要があるため、これらのテーブル参照が莫大な量となる。加えて、測距演算を行うタイミングでは、テーブルが格納されているDRAMに対して画像の現像処理などで大量のトラフィックが発生し、それらのロングバースト転送の間にテーブル参照が発生する。このため、現像処理および測距処理の両方のスループットが低下する。
【0007】
そこで本発明は、高速処理が可能な処理装置を提供することを目的とする。
【課題を解決するための手段】
【0008】
本発明の一側面としての光学係数演算手段は、撮像素子の画素位置ごとの情報が撮像光学系の光軸から周辺に向かう順または該周辺から該光軸に向かう順の第1配列で格納された第1データと、前記第1データが光学条件に関する第2配列で格納された第2データとを記憶する記憶部と、前記第2データにおける前記第1データの一部の連続した複数の隣接データを用いて第3データを演算し、前記第1配列と異なる第3配列で前記第3データを前記記憶部に格納する処理部とを有する。
【0009】
本発明の他の目的及び特徴は、以下の実施形態において説明される。
【発明の効果】
【0010】
本発明によれば、高速処理が可能な処理装置を提供することができる。
【図面の簡単な説明】
(【0011】以降は省略されています)
この特許をJ-PlatPat(特許庁公式サイト)で参照する
関連特許
キヤノン株式会社
容器
4日前
キヤノン株式会社
トナー
7日前
キヤノン株式会社
トナー
25日前
キヤノン株式会社
トナー
20日前
キヤノン株式会社
トナー
20日前
キヤノン株式会社
トナー
20日前
キヤノン株式会社
撮像装置
25日前
キヤノン株式会社
記録装置
25日前
キヤノン株式会社
現像容器
18日前
キヤノン株式会社
測距装置
13日前
キヤノン株式会社
撮影装置
18日前
キヤノン株式会社
現像装置
18日前
キヤノン株式会社
記録装置
18日前
キヤノン株式会社
撮像装置
4日前
キヤノン株式会社
撮像装置
21日前
キヤノン株式会社
現像装置
11日前
キヤノン株式会社
定着装置
19日前
キヤノン株式会社
撮像装置
4日前
キヤノン株式会社
現像装置
18日前
キヤノン株式会社
撮像装置
4日前
キヤノン株式会社
記録装置
4日前
キヤノン株式会社
現像容器
18日前
キヤノン株式会社
光学センサ
20日前
キヤノン株式会社
現像剤容器
26日前
キヤノン株式会社
モジュール
20日前
キヤノン株式会社
画像形成装置
11日前
キヤノン株式会社
画像形成装置
11日前
キヤノン株式会社
吐出素子基板
25日前
キヤノン株式会社
画像形成装置
11日前
キヤノン株式会社
電子写真装置
11日前
キヤノン株式会社
印刷システム
6日前
キヤノン株式会社
画像表示装置
25日前
キヤノン株式会社
画像形成装置
7日前
キヤノン株式会社
画像形成装置
7日前
キヤノン株式会社
画像形成装置
7日前
キヤノン株式会社
画像形成装置
12日前
続きを見る
他の特許を見る