TOP
|
特許
|
意匠
|
商標
特許ウォッチ
Twitter
他の特許を見る
10個以上の画像は省略されています。
公開番号
2025161475
公報種別
公開特許公報(A)
公開日
2025-10-24
出願番号
2024064685
出願日
2024-04-12
発明の名称
圧電振動板およびダイヤフラムポンプとそれらの製造方法ならびに液体吐出装置
出願人
キヤノン株式会社
代理人
個人
,
個人
,
個人
,
個人
,
個人
主分類
H10N
30/073 20230101AFI20251017BHJP()
要約
【課題】圧電素子の電極にリードを接続する際の熱エネルギーが、圧電素子の他の電極と金属板とを接着する接着材に及ぼす影響を抑えることができる圧電振動板を提供する。
【解決手段】圧電振動板1が、圧電素子2と、圧電素子2が積層されている金属板3と、を含む。圧電素子2の両面2a,2bにそれぞれ電極6a,6bが設けられている。圧電素子2の一方の面2aに設けられた電極6aが金属板3に接着されている。圧電素子2の他方の面2bに設けられた電極6bにリード8bが接続されている。圧電素子2の一方の面2aに設けられた電極6aは、平面視において、他方の面2bの電極6bとリード8bとの接続部分に重なる位置を含む領域では、耐熱性接着材4によって金属板3に接着されており、当該領域以外の部分の少なくとも一部では、導電性接着材5によって金属板3に接着されている。
【選択図】図1
特許請求の範囲
【請求項1】
圧電素子と、前記圧電素子が積層されている金属板と、を含み、
前記圧電素子の両面にそれぞれ電極が設けられており、
前記圧電素子の一方の面に設けられた前記電極が前記金属板に接着されており、
前記圧電素子の他方の面に設けられた前記電極にリードが接続されており、
前記圧電素子の前記一方の面に設けられた前記電極は、平面視において、前記他方の面の前記電極と前記リードとの接続部分に重なる位置を含む領域では、耐熱性接着材によって前記金属板に接着されており、当該領域以外の部分の少なくとも一部では、導電性接着材によって前記金属板に接着されていることを特徴とする圧電振動板。
続きを表示(約 960 文字)
【請求項2】
前記耐熱性接着材は非導電性である、請求項1に記載の圧電振動板。
【請求項3】
前記耐熱性接着材は少なくとも200℃の温度に対する耐熱性を有する、請求項1に記載の圧電振動板。
【請求項4】
前記耐熱性接着材は多角形状または円形状の平面形状を有する、請求項1から3のいずれか1項に記載の圧電振動板。
【請求項5】
前記耐熱性接着材はリング状の平面形状を有する、請求項1から3のいずれか1項に記載の圧電振動板。
【請求項6】
平面視においてリング状の前記耐熱性接着材の内側に前記導電性接着材が配置されている、請求項5に記載の圧電振動板。
【請求項7】
圧電素子と、前記圧電素子が積層されている金属板と、を含み、
前記圧電素子の両面にそれぞれ電極が設けられており、
前記圧電素子の一方の面に設けられた前記電極が前記金属板に接着されており、
前記圧電素子の他方の面に設けられた前記電極にリードが接続されており、
前記金属板には、平面視において前記他方の面の前記電極と前記リードとの接続部分に重なる位置を含む領域に開口が設けられており、
前記圧電素子の前記一方の面に設けられた前記電極は、平面視において前記開口に対向する位置では当該開口の内部の接着材によって前記金属板に接着されており、前記開口に対向する位置以外の部分の少なくとも一部では、導電性接着材によって前記金属板に接着されていることを特徴とする圧電振動板。
【請求項8】
前記金属板は、平面視において前記開口の内部にリブを有しており、前記リブは、前記圧電素子の前記他方の面に設けられた前記電極と前記リードとの接続部分と対向している、請求項7に記載の圧電振動板。
【請求項9】
前記開口の内部の前記接着材は、前記導電性接着材とは異なる接着材である、請求項7または8に記載の圧電振動板。
【請求項10】
前記圧電素子の前記他方の面に設けられた前記電極と前記リードとははんだ付けにより接続されている、請求項1,2,3,7,8のいずれか1項に記載の圧電振動板。
(【請求項11】以降は省略されています)
発明の詳細な説明
【技術分野】
【0001】
本発明は、圧電振動板およびダイヤフラムポンプとそれらの製造方法ならびに液体吐出装置に関する。
続きを表示(約 3,100 文字)
【背景技術】
【0002】
マイクロポンプ等の作動源として用いられる圧電振動板は、両面にそれぞれ電極が設けられている圧電素子と、圧電素子の一方の面の電極が接合されている金属板と、を含む。電極から圧電素子に電力を供給すると圧電素子と金属板とが一体的に振動する。通常、圧電素子の他方の面の電極には、電力を供給するためのリードがはんだ付け等によって接続されている。しかし、はんだ付け等による接続の際の熱エネルギーが圧電素子にダメージを与える可能性がある。そこで、特許文献1に記載された発明では、圧電素子の、リードが接続される電極と反対側の電極の、平面視において接続部分と重なる位置に、切り欠き部が形成されている。
【先行技術文献】
【特許文献】
【0003】
特開2000-165993号公報
【発明の概要】
【発明が解決しようとする課題】
【0004】
特許文献1のように電極に切り欠き部を形成することにより、はんだ付け等による接続時の熱エネルギーにより圧電素子にクラックが発生した場合の両電極のマイグレーションやショートを抑制できる。しかし、特許文献1の構成でも、接続時の熱エネルギーが、圧電素子の一方の面の電極と金属板とを接着している接着材にダメージを与え、接着強度が低下することは抑えられない。圧電素子の一方の面の電極と金属板との接着強度が低下すると、金属板にはんだ付けされたリードに引っ張り力が加わった際にリードが剥がれ易くなる。
【0005】
本発明の目的は、圧電素子の電極にリードを接続する際の熱エネルギーが、圧電素子の他の電極と金属板とを接着する接着材に及ぼす影響を抑えることができる圧電振動板を提供することにある。
【課題を解決するための手段】
【0006】
本発明の圧電振動板は、圧電素子と、前記圧電素子が積層されている金属板と、を含み、前記圧電素子の両面にそれぞれ電極が設けられており、前記圧電素子の一方の面に設けられた前記電極が前記金属板に接着されており、前記圧電素子の他方の面に設けられた前記電極にリードが接続されており、前記圧電素子の前記一方の面に設けられた前記電極は、平面視において、前記他方の面の前記電極と前記リードとの接続部分に重なる位置を含む領域では、耐熱性接着材によって前記金属板に接着されており、当該領域以外の部分の少なくとも一部では、導電性接着材によって前記金属板に接着されていることを特徴とする。
【発明の効果】
【0007】
本発明の圧電振動板によると、圧電素子の電極にリードを接続する際の熱エネルギーが、圧電素子の他の電極と金属板とを接着する接着材に及ぼす影響を抑えることができる。
【図面の簡単な説明】
【0008】
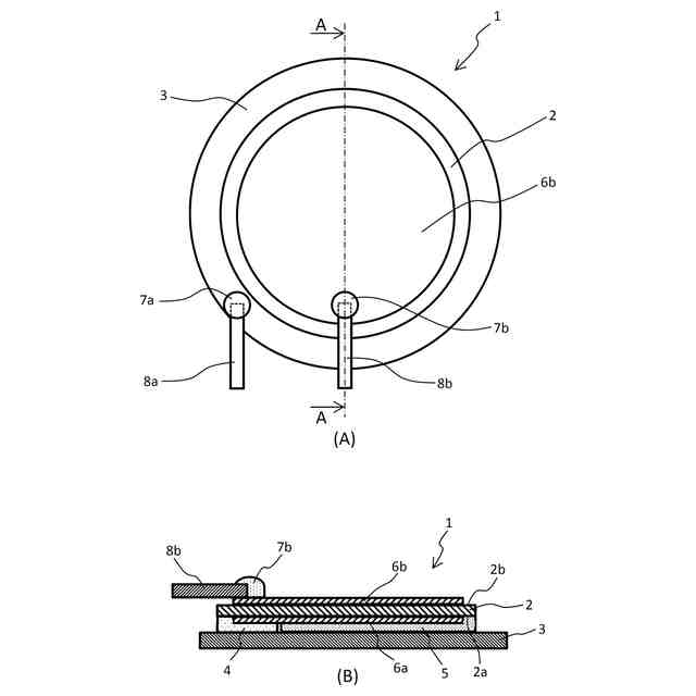
本発明の第1の実施形態の圧電振動板を示す平面図および断面図である。
図1に示す圧電振動板の圧電素子を示す平面図および断面図である。
図1に示す圧電振動板の、接着材が塗布された金属板を示す平面図および断面図である。
図1に示す圧電振動板の圧電素子と金属板とが接合された状態を示す平面図および断面図である。
本発明の第2の実施形態の圧電振動板を示す平面図および断面図である。
図5に示す圧電振動板の、接着材が塗布された金属板を示す平面図および断面図である。
本発明の第3の実施形態の圧電振動板を示す平面図および断面図である。
図7に示す圧電振動板の、接着材が塗布された金属板を示す平面図および断面図である。
図7に示す圧電振動板の圧電素子と金属板とが接合された状態を示す平面図および断面図である。
図7に示す圧電振動板のはんだ付け状態を示す平面図および断面図である。
図7に示す圧電振動板にダイヤフラムを取り付けた状態を示す平面図および断面図である。
本発明の第4の実施形態の圧電振動板を示す平面図および断面図である。
図12に示す圧電振動板の、接着材が塗布された金属板を示す平面図および断面図である。
図12に示す圧電振動板の圧電素子と金属板とが接合された状態を示す平面図および断面図である。
図12に示す圧電振動板のはんだ付け状態を示す平面図および断面図である。
図12に示す圧電振動板にダイヤフラムを取り付けた状態を示す平面図および断面図である。
本発明に係るダイヤフラムポンプの斜視図および断面図である。
図17に示すダイヤフラムポンプの分解斜視図である。
本発明に係る液体吐出装置の構成例を示す概略斜視図である。
図19に示す液体吐出装置の液体吐出ヘッドの斜視図である。
液体吐出装置全体の循環経路を模式的に示すブロック図である。
【発明を実施するための形態】
【0009】
以下、本発明の実施形態について、図面を参照して説明する。
<第1の実施形態>
図1(A)は本発明の第1の実施形態の圧電振動板1を示す平面図であり、図1(B)は図1(A)のA-A線断面図である。図2(A)は両面に電極6a,6bが設けられた圧電素子2を示す平面図であり、図2(B)は図2(A)のA-A線断面図である。図3(A)は2種類の接着材4,5が塗布された金属板3を示す平面図であり、図3(B)は図3(A)のA-A線断面図である。図4(A)は圧電素子2と金属板3とが接合された状態を示す平面図であり、図4(B)は図4(A)のA-A線断面図である。本実施形態の圧電振動板1は、圧電素子2と、圧電素子2が積層されている金属板3と、を含む。圧電素子2は例えば圧電セラミックからなり、両面2a,2bにそれぞれ銀ペースト等の導電性ペーストからなる電極6a,6bが設けられている。圧電素子2の一方の面(裏面)2aに設けられた電極6aおよびその周囲の面2aが金属板3に接着されている。金属板3と、圧電素子2の他方の面(表面)2bに設けられた電極6bとに、それぞれはんだ7a,7bによってリード8a,8bが接続されている。はんだ付けは、はんだごて12(図10,15参照)またはレーザー等を用いて行われる。
【0010】
圧電素子2の一方の面2aに設けられた電極6aは、平面視において、他方の面2bに設けられた電極6bとリード8bとの接続部分に重なる位置を含む領域では、耐熱性接着材4によって金属板3に接着されている。そして、当該領域以外の部分では、導電性接着材5によって電極6aが金属板3に接着されている。本明細書では、平面視とは、板状の部材等の主面に対して直交する方向に見る状態のことを指す。導電性接着材5の一例は、体積抵抗率が6×10
-3
Ω・cmの熱硬化型導電性アクリル接着材である。耐熱性接着材4は一般的に非導電性であり、導電性接着材5よりも耐熱性に優れており、少なくとも200℃の温度に対する耐熱性を有することが好ましい。一例としては、耐熱性接着材4は200℃耐熱のエポキシ系接着材である。本実施形態において他方の面(表面)2bに設けられた電極6bとリード8bとを接続するはんだ7bの平面形状は直径が約3mmの略円形状である。耐熱性接着材4の平面形状(耐熱性接着材4が塗布される領域の平面形状)は、1辺がはんだ7bの平面形状の直径の1.5倍である4.5mm×4.5mmの略正方形状である。
(【0011】以降は省略されています)
この特許をJ-PlatPat(特許庁公式サイト)で参照する
関連特許
キヤノン株式会社
容器
5日前
キヤノン株式会社
トナー
8日前
キヤノン株式会社
撮影装置
19日前
キヤノン株式会社
撮像装置
5日前
キヤノン株式会社
撮像装置
5日前
キヤノン株式会社
記録装置
5日前
キヤノン株式会社
記録装置
19日前
キヤノン株式会社
測距装置
14日前
キヤノン株式会社
現像装置
19日前
キヤノン株式会社
現像容器
19日前
キヤノン株式会社
現像装置
19日前
キヤノン株式会社
撮像装置
5日前
キヤノン株式会社
現像容器
19日前
キヤノン株式会社
定着装置
20日前
キヤノン株式会社
現像装置
12日前
キヤノン株式会社
画像処理装置
19日前
キヤノン株式会社
画像形成装置
2日前
キヤノン株式会社
画像形成装置
19日前
キヤノン株式会社
画像形成装置
5日前
キヤノン株式会社
光電変換装置
2日前
キヤノン株式会社
画像形成装置
19日前
キヤノン株式会社
画像形成装置
20日前
キヤノン株式会社
画像形成装置
15日前
キヤノン株式会社
カートリッジ
19日前
キヤノン株式会社
画像形成装置
15日前
キヤノン株式会社
画像形成装置
2日前
キヤノン株式会社
画像形成装置
6日前
キヤノン株式会社
電子写真装置
6日前
キヤノン株式会社
印刷システム
7日前
キヤノン株式会社
画像形成装置
13日前
キヤノン株式会社
画像形成装置
8日前
キヤノン株式会社
画像形成装置
13日前
キヤノン株式会社
画像形成装置
8日前
キヤノン株式会社
画像形成装置
8日前
キヤノン株式会社
画像形成装置
13日前
キヤノン株式会社
画像形成装置
12日前
続きを見る
他の特許を見る