TOP
|
特許
|
意匠
|
商標
特許ウォッチ
Twitter
他の特許を見る
10個以上の画像は省略されています。
公開番号
2025161331
公報種別
公開特許公報(A)
公開日
2025-10-24
出願番号
2024064433
出願日
2024-04-12
発明の名称
光源装置および画像形成装置
出願人
キヤノン株式会社
代理人
個人
,
個人
,
個人
主分類
B41J
2/447 20060101AFI20251017BHJP(印刷;線画機;タイプライター;スタンプ)
要約
【課題】発光ユニットの非発光部で反射してレンズユニットに入射する光を低減する。
【解決手段】光源装置105は、基板202の第1面における第1の方向および該第1の方向に垂直な第2の方向において互いに異なる位置に配置された第1の発光ユニット209および第2の発光ユニット210と、第1および第2の発光ユニットからの光を集光するレンズユニット212とを有する。第1および第2の発光ユニットのそれぞれは、第2面と、該第2面において第1方向に配列された複数の発光素子と含む。第1の方向から見たとき、第1および第2の発光ユニットのうち少なくとも一方における第2面が第1面に対して傾斜している。
【選択図】図6
特許請求の範囲
【請求項1】
基板の第1面における第1の方向および該第1の方向に垂直な第2の方向において互いに異なる位置に配置された第1および第2の発光ユニットと、
前記第1および第2の発光ユニットからの光を集光するレンズユニットとを有し、
前記第1および第2の発光ユニットのそれぞれは、第2面と、該第2面において前記第1方向に配列された複数の発光素子と含み、
前記第1の方向から見たとき、前記第1および第2の発光ユニットのうち少なくとも一方における前記第2面が前記第1面に対して傾斜していることを特徴する光源装置。
続きを表示(約 1,100 文字)
【請求項2】
前記第1面に対して傾斜した前記第2面を含む発光ユニットから出射して前記レンズユニットで反射し、他方の発光ユニットの前記第2面で反射して前記レンズユニットに入射する光は、前記第2面が傾斜していない場合よりも少ないことを特徴とする請求項1に記載の光源装置。
【請求項3】
前記第1の方向から見たとき、前記第1および第2の発光ユニットのそれぞれの前記第2面における法線同士の距離は、前記レンズユニットに近いほど長くなることを特徴する請求項1に記載の光源装置。
【請求項4】
前記第1および第2の発光ユニットのそれぞれの前記第2面は、前記第1面に対して傾斜していることを特徴とする請求項1に記載の光源装置。
【請求項5】
前記第1および第2の発光ユニットのそれぞれの前記第2面は、前記第1面に対して互いに異なる方向へ傾斜していることを特徴とする請求項4に記載の光源装置。
【請求項6】
前記レンズユニットは、それぞれが前記第1の方向に配列された複数のレンズを含む第1および第2のレンズアレイを備え、該1および第2のレンズアレイは前記第2の方向における互いに異なる位置に配置されていることを特徴とする請求項1に記載の光源装置。
【請求項7】
前記レンズユニットは、屈折率分布型レンズを含むことを特徴とする請求項1に記載の光源装置。
【請求項8】
前記第2面の反射率は、50%以上であることを特徴とする請求項1に記載の光源装置。
【請求項9】
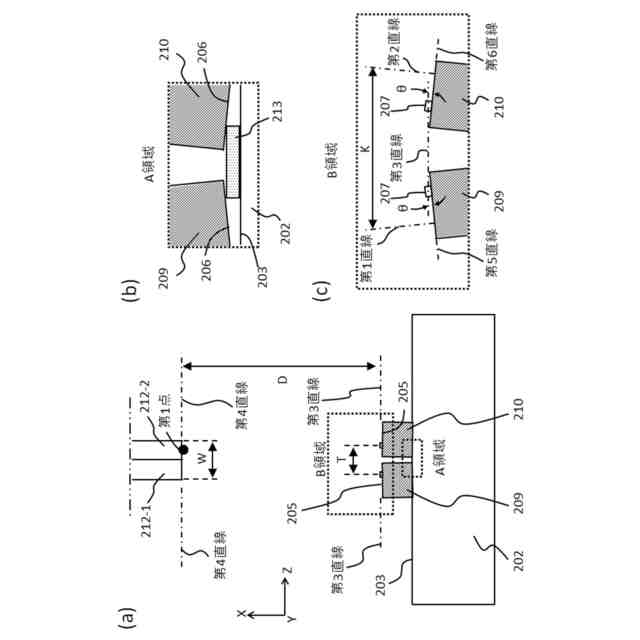
前記第1の方向から見たときに、前記第1の発光ユニットにおける第1の発光素子の中心と前記第2の発光ユニットにおける第2の発光素子の中心との距離をT、前記第1および第2の発光ユニットの前記中心を結ぶ直線を第3直線、前記レンズユニットに含まれるレンズの入射面の中心を第1点、該第1点を含んで前記第3直線と平行な直線を第4直線、前記第3直線と前記第4直線の距離をD、前記第4直線上での前記レンズユニットの幅をW、前記第1の発光ユニットの前記第2面に平行な直線を第5直線、前記第2の発光ユニットの前記第2面に平行な直線を第6直線、前記第3直線と前記第5直線および前記第6直線のそれぞれとがなす角θ1、θ2をθとするとき、
0.95<(W+T+4Dtanθ)/(2W)<18.50
なる条件を満足することを特徴とする請求項4に記載の光源装置。
【請求項10】
1.00<(W+T+4Dtanθ)/(2W)<4.58
なる条件を満足することを特徴とする請求項9に記載の光源装置。
(【請求項11】以降は省略されています)
発明の詳細な説明
【技術分野】
【0001】
本発明は、画像形成装置の露光ヘッド等に用いられる光源装置に関する。
続きを表示(約 2,000 文字)
【背景技術】
【0002】
電子写真方式プリンタには、LEDや有機EL等を用いた露光ヘッドによって被照射面としての感光ドラムを露光して静電潜像の形成を行う方式のものがある。露光ヘッドは、感光ドラムの長手方向に配列された複数の発光ユニットと、該複数の発光ユニットからの光を感光ドラム上に集光するレンズユニット(レンズアレイ)とを備える。
【0003】
特許文献1には、複数の発光ユニットが千鳥状に2列に配列された光源と、屈折率分布型レンズアレイとを用いた露光ヘッドが開示されている。
【先行技術文献】
【特許文献】
【0004】
特開2002-248803号公報
【発明の概要】
【発明が解決しようとする課題】
【0005】
しかしながら、特許文献1の露光ヘッドでは、隣り合う発光ユニットの繋ぎ部(非発光部)で反射光が発生するおそれがある。これにより、感光ドラム上の光量が、上記繋ぎ部からの反射光が入射する領域で他の領域より増加する。この結果、反射光が入射する領域で形成される画像の濃度が他の領域で形成される画像の濃度より濃くなり筋のように見えてしまう。
【0006】
本発明は、発光ユニットで反射してレンズユニットに入射する光を低減することができるようにした光源装置およびこれを用いた画像形成装置を提供する。
【課題を解決するための手段】
【0007】
本発明の一側面としての光源装置は、基板の第1面における第1の方向および該第1の方向に垂直な第2の方向において互いに異なる位置に配置された第1の発光ユニットおよび第2の発光ユニットと、第1および第2の発光ユニットからの光を集光するレンズユニットとを有する。第1および第2の発光ユニットのそれぞれは、第2面と、該第2面において第1方向に配列された複数の発光素子と含む。第1の方向から見たとき、第1および第2の発光ユニットのうち少なくとも一方における第2面が第1面に対して傾斜していることを特徴とする。なお、上記光源装置を露光ヘッドとして有する画像形成装置も、本発明の他の一側面を構成する。
【発明の効果】
【0008】
本発明によれば、光源装置における発光ユニットで反射してレンズユニットに入射する光を低減することができる。
【図面の簡単な説明】
【0009】
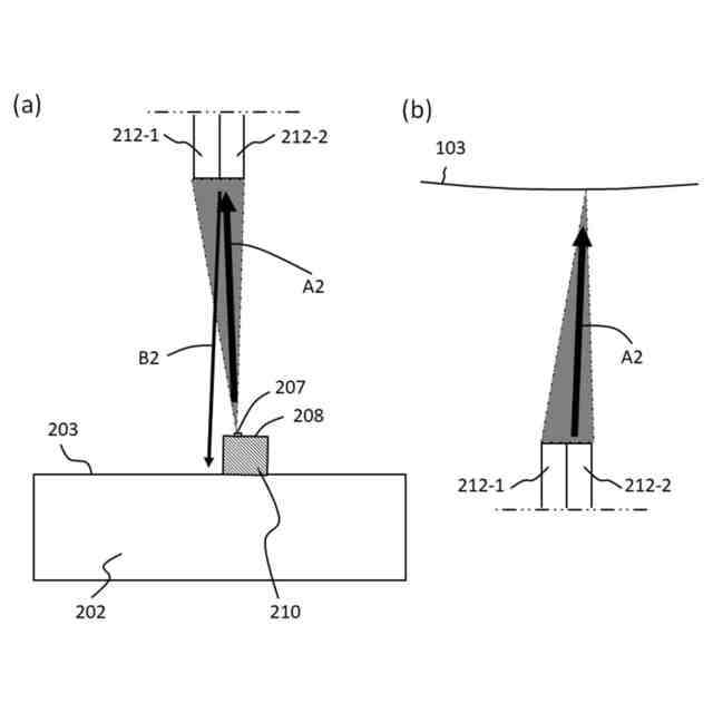
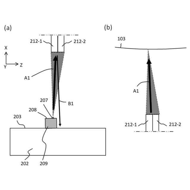
実施例1の露光ヘッドを用いた画像形成装置の構成を示す図。
実施例1の露光ヘッドと感光ドラムを示す図。
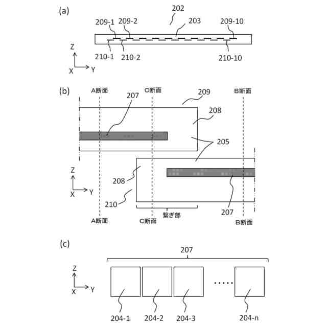
実施例1の露光ヘッドにおける発光基板を示す図。
実施例1の露光ヘッドにおける発光部と屈折率分布型レンズアレイを示す図。
実施例1の露光ヘッドと感光ドラムを示す模式図。
実施例1の露光ヘッドにおける発光基板と第1および第2の発光ユニットと屈折率分布型レンズアレイを示す図。
実施例1の露光ヘッドの光路を示すA断面図。
実施例1の露光ヘッドの光路を示すB断面図。
実施例1の露光ヘッドの光路を示すC断面図。
実施例2の露光ヘッドにおける発光基板と第1および第2の発光ユニットと屈折率分布型レンズアレイを示す図。
実施例2の露光ヘッドの光路を示すA断面図。
実施例2の露光ヘッドの光路を示すB断面図。
実施例2の露光ヘッドの光路を示すC断面図。
実施例3における発光基板と第1および第2の発光ユニットと屈折率分布型レンズアレイを示す図。
実施例3の露光ヘッドの光路を示すA断面図。
実施例3の露光ヘッドの光路を示すB断面図。
実施例3の露光ヘッドの光路を示すC断面図。
実施例4における発光基板と第1および第2の発光ユニットと屈折率分布型レンズアレイを示す図。
実施例4の露光ヘッドの光路を示すA断面図。
実施例4の露光ヘッドの光路を示すB断面図。
実施例4の露光ヘッドの光路を示すC断面図。
変形例の露光ヘッドにおける発光基板と第1および第2の発光ユニットを示す図。
比較例の露光ヘッドの光路を示すA断面図。
比較例の露光ヘッドの光路を示すB断面図。
比較例の露光ヘッドの光路を示すC断面図。
発光素子の配光特性を示す図。
【発明を実施するための形態】
【0010】
以下、本発明の実施例について図面を参照しながら説明する。なお、各図では実際とは異なる縮尺で描かれている場合がある。また各図において同一部材については同一参照符号を付して重複する説明を省略する。
【実施例】
(【0011】以降は省略されています)
この特許をJ-PlatPat(特許庁公式サイト)で参照する
関連特許
キヤノン株式会社
容器
5日前
キヤノン株式会社
トナー
26日前
キヤノン株式会社
トナー
21日前
キヤノン株式会社
トナー
21日前
キヤノン株式会社
トナー
21日前
キヤノン株式会社
トナー
8日前
キヤノン株式会社
現像装置
19日前
キヤノン株式会社
撮像装置
26日前
キヤノン株式会社
測距装置
14日前
キヤノン株式会社
現像装置
19日前
キヤノン株式会社
現像容器
19日前
キヤノン株式会社
現像装置
12日前
キヤノン株式会社
現像容器
19日前
キヤノン株式会社
記録装置
5日前
キヤノン株式会社
撮像装置
22日前
キヤノン株式会社
記録装置
19日前
キヤノン株式会社
撮影装置
19日前
キヤノン株式会社
記録装置
26日前
キヤノン株式会社
撮像装置
5日前
キヤノン株式会社
撮像装置
5日前
キヤノン株式会社
撮像装置
5日前
キヤノン株式会社
定着装置
20日前
キヤノン株式会社
現像剤容器
27日前
キヤノン株式会社
モジュール
21日前
キヤノン株式会社
光学センサ
21日前
キヤノン株式会社
画像形成装置
8日前
キヤノン株式会社
画像形成装置
22日前
キヤノン株式会社
印刷システム
7日前
キヤノン株式会社
画像形成装置
22日前
キヤノン株式会社
画像形成装置
6日前
キヤノン株式会社
画像形成装置
26日前
キヤノン株式会社
電子写真装置
6日前
キヤノン株式会社
画像形成装置
8日前
キヤノン株式会社
画像形成装置
26日前
キヤノン株式会社
画像形成装置
26日前
キヤノン株式会社
情報処理装置
26日前
続きを見る
他の特許を見る