TOP
|
特許
|
意匠
|
商標
特許ウォッチ
Twitter
他の特許を見る
公開番号
2025160799
公報種別
公開特許公報(A)
公開日
2025-10-23
出願番号
2024063593
出願日
2024-04-10
発明の名称
主軸旋回装置
出願人
オークマ株式会社
代理人
個人
,
個人
主分類
B23Q
5/20 20060101AFI20251016BHJP(工作機械;他に分類されない金属加工)
要約
【課題】本体部内の構成部をコンパクトに配置して、加工領域の縮小や動作範囲の制限を可及的に回避する。
【解決手段】主軸旋回装置1は、回転可能な主軸5を備える旋回ユニット4と、主軸軸線A2に対して傾斜する旋回軸16を中心として旋回ユニット4を旋回可能に支持すると共に、旋回ユニット4を旋回駆動させるモータ17及び減速部18を備えた本体ユニット3と、を含む。そして、主軸軸線A2が鉛直方向となる旋回ユニット4の旋回位置では、本体ユニット3の下面22が主軸5の下端面62よりも上方に位置していると共に、モータ17は、旋回軸線A1よりも下側で本体ユニット3内に配置されている。
【選択図】図2
特許請求の範囲
【請求項1】
回転可能な主軸を備える旋回部と、前記主軸の軸線に対して傾斜する旋回軸を中心として前記旋回部を旋回可能に支持すると共に、前記旋回部を旋回駆動させるモータ及び減速部を備えた本体部と、を含む主軸旋回装置であって、
前記主軸の軸線が鉛直方向下向きとなる前記旋回部の旋回位置では、前記本体部の最下面が前記旋回部の最下面よりも上方に位置していると共に、
前記モータは、前記旋回軸の軸線よりも下側で前記本体部内に配置されていることを特徴とする主軸旋回装置。
続きを表示(約 620 文字)
【請求項2】
前記減速部は、前記モータの回転が伝達される入力軸と、前記旋回軸の軸線と同軸配置されて前記入力軸の回転を前記旋回軸に伝達する出力軸と、を含むと共に、前記入力軸は、前記出力軸に対して直交しており、前記モータは、モータ軸が前記入力軸と平行となる姿勢で前記本体部内に配置されていることを特徴とする請求項1に記載の主軸旋回装置。
【請求項3】
前記本体部における前記旋回部の支持側と反対側の外面は、鉛直方向に形成されていることを特徴とする請求項2に記載の主軸旋回装置。
【請求項4】
前記本体部内に、前記旋回部に配設される配線及び/又は配管を案内するケーブルガイド部が、前記旋回軸の軸線の延長線上で、且つ前記旋回軸の軸線と直交する平面上に配置されており、
前記ケーブルガイド部は、可撓性を有して前記配線及び/又は配管が挿通するケーブルガイドと、前記ケーブルガイドを収納するガイド収納部と、を備え、前記ガイド収納部は、前記旋回軸の軸線方向から見て、前記ガイド収納部の上下方向の中心が前記旋回軸の軸線よりも上方へずれる位置に配置されていることを特徴とする請求項1乃至3の何れかに記載の主軸旋回装置。
【請求項5】
前記本体部の上側に、鉛直方向の第2の旋回軸を中心として前記本体部を回転可能に連結する連結部をさらに備えることを特徴とする請求項1乃至3の何れかに記載の主軸旋回装置。
発明の詳細な説明
【技術分野】
【0001】
本開示は、工作機械に設けられ、主軸を所定の旋回軸を中心として旋回させるための主軸旋回装置に係り、特に、旋回軸が主軸の軸線に対して傾斜している主軸旋回装置に関する。
続きを表示(約 3,000 文字)
【背景技術】
【0002】
例えば門形マシニングセンタといった工作機械において、主軸を旋回させる主軸旋回装置には、特許文献1に開示されるように、旋回軸が主軸の軸線に対して傾斜しているものが知られている。このような主軸旋回装置は、交換可能なアタッチメントとして使用される場合があるため、機内で旋回させた際のワークや他の構成部との干渉回避、アタッチメントを交換する際のスペース確保を考慮して、コンパクトな設計が要求される。特に、旋回スペースが大きくなると、その分加工領域の縮小や動作範囲の制限を招き、干渉を回避するために突き出しの長い工具を使用すると、加工時間の延長や工具寿命の短縮に繋がる。
【先行技術文献】
【特許文献】
【0003】
特表2015-502862号公報
【発明の概要】
【発明が解決しようとする課題】
【0004】
主軸旋回装置の駆動には、モータに加えてウォームギヤやローラギヤカムといった回転伝達機構が使用されるが、コンパクト化を達成するためには、これらの構成部の配置も重要となる。特許文献1の主軸旋回装置では、旋回軸を駆動させるモータを旋回軸よりも上側に配置しているため、モータを配置するスペースを確保するために旋回軸の位置を下方へ下げざるを得なくなり、装置全体のコンパクト化が阻害されてしまう。
【0005】
そこで、本開示は、本体部内の構成部をコンパクトに配置して、加工領域の縮小や動作範囲の制限を可及的に回避できる主軸旋回装置を提供することを目的としたものである。
【課題を解決するための手段】
【0006】
上記目的を達成するために、本開示は、回転可能な主軸を備える旋回部と、前記主軸の軸線に対して傾斜する旋回軸を中心として前記旋回部を旋回可能に支持すると共に、前記旋回部を旋回駆動させるモータ及び減速部を備えた本体部と、を含む主軸旋回装置であって、
前記主軸の軸線が鉛直方向下向きとなる前記旋回部の旋回位置では、前記本体部の最下面が前記旋回部の最下面よりも上方に位置していると共に、
前記モータは、前記旋回軸の軸線よりも下側で前記本体部内に配置されていることを特徴とする。
本開示の別の態様は、上記構成において、前記減速部は、前記モータの回転が伝達される入力軸と、前記旋回軸の軸線と同軸配置されて前記入力軸の回転を前記旋回軸に伝達する出力軸と、を含むと共に、前記入力軸は、前記出力軸に対して直交しており、前記モータは、モータ軸が前記入力軸と平行となる姿勢で前記本体部内に配置されていることを特徴とする。
本開示の別の態様は、上記構成において、前記本体部における前記旋回部の支持側と反対側の外面は、鉛直方向に形成されていることを特徴とする。
本開示の別の態様は、上記構成において、前記本体部内に、前記旋回部に配設される配線及び/又は配管を案内するケーブルガイド部が、前記旋回軸の軸線の延長線上で、且つ前記旋回軸の軸線と直交する平面上に配置されており、
前記ケーブルガイド部は、可撓性を有して前記配線及び/又は配管が挿通するケーブルガイドと、前記ケーブルガイドを収納するガイド収納部と、を備え、前記ガイド収納部は、前記旋回軸の軸線方向から見て、前記ガイド収納部の上下方向の中心が前記旋回軸の軸線よりも上方へずれる位置に配置されていることを特徴とする。
本開示の別の態様は、上記構成において、前記本体部の上側に、鉛直方向の第2の旋回軸を中心として前記本体部を回転可能に連結する連結部をさらに備えることを特徴とする。
【発明の効果】
【0007】
本開示では、本体部の最下面が旋回部の最下面よりも上方に位置して、モータは旋回軸の軸線よりも下側で本体部内に配置されている。よって、本開示によれば、本体部内の構成部をコンパクトに配置して、加工領域の縮小や動作範囲の制限を可及的に回避することができる。
本開示の別の態様では、減速部において、入力軸は出力軸に対して直交しており、モータは、モータ軸が減速部の入力軸と平行となる姿勢で本体部内に配置されている。よって、当該態様によれば、上記効果に加えて、モータ及び減速部が非対称であっても本体部内でコンパクトに配置することができる。
本開示の別の態様では、本体部における旋回部の支持側と反対側の外面は、鉛直方向に形成されている。よって、当該態様によれば、上記効果に加えて、水平方向にもコンパクトとなり、加工領域の縮小や動作範囲の制限の回避に寄与できる。
本開示の別の態様では、ケーブルガイド部のガイド収納部は、旋回軸の軸線方向から見て、上下方向の中心が旋回軸の軸線よりも上方へずれる位置に配置されている。よって、当該態様によれば、上記効果に加えて、ガイド収納部を上方に配置してモータの収納スペースを確保でき、モータの位置を上げることができる。
本開示の別の態様では、本体部の上側に、鉛直方向の第2の旋回軸を中心として本体部を回転可能に連結する連結部をさらに備えている。よって、当該態様によれば、上記効果に加えて、装置全体が回転可能となり、加工領域を拡大することができる。
【図面の簡単な説明】
【0008】
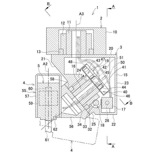
主軸旋回装置の側面図である。
主軸旋回装置の中央縦断面図である。
図2のA-A線断面図である。
図2のB-B線断面図である。
ワークの加工状態を示す説明図で、図5Aが段部のないワークの加工状態、図5Bが段部のあるワークの加工状態をそれぞれ示す。
【発明を実施するための形態】
【0009】
以下、本開示の実施の形態を図面に基づいて説明する。
図1は、本開示の主軸旋回装置(以下、単に「旋回装置」という。)1の一例を示す側面図、図2は、図1の中央縦断面図である。説明の便宜上、図2の上側を上方、下側を下方とし、図2の左側を前方、右側を後方として説明する。
旋回装置1は、上から順に、連結ユニット2と、本体ユニット3と、旋回ユニット4とを備えている。旋回ユニット4に主軸5が設けられている。
【0010】
連結ユニット2は、図示しない門形マシニングセンタのサドルにアタッチメントとして取り付けられる。連結ユニット2は、本開示の連結部の一例である。
連結ユニット2は、連結ハウジング10を有している。連結ハウジング10は、サドルに取り付けられる筒状で、中空軸11及び従動ギヤ12と、従動ギヤ12を回転させるための図示しない駆動ギヤ及びモータとを収容している。中空軸11は、後述する本体ハウジング15の上面20から鉛直方向上向きに設けられている。中空軸11は、本開示の第2の旋回軸の一例である。従動ギヤ12は、中空軸11の外側へ一体に設けられている。従動ギヤ12は、連結ハウジング10内で軸受13を介して回転可能に支持され、連結ハウジング10内に設けた図示しない駆動ギヤと噛み合っている。
(【0011】以降は省略されています)
この特許をJ-PlatPat(特許庁公式サイト)で参照する
関連特許
オークマ株式会社
主軸旋回装置
1日前
オークマ株式会社
工場の温度環境診断装置及び温度環境診断方法
15日前
個人
フライス盤
1か月前
日東精工株式会社
ねじ締め機
15日前
日東精工株式会社
ねじ締め機
2か月前
日東精工株式会社
ねじ締め機
1か月前
日東精工株式会社
ねじ締め装置
1か月前
株式会社ダイヘン
溶接電源装置
3か月前
株式会社ダイヘン
溶接電源装置
3か月前
日東精工株式会社
ねじ締め装置
3か月前
株式会社ダイヘン
溶接電源装置
2か月前
株式会社FUJI
工作機械
21日前
株式会社FUJI
工作機械
4か月前
株式会社FUJI
工作機械
14日前
株式会社FUJI
工作機械
3か月前
個人
切削油供給装置
2か月前
キヤノン電子株式会社
加工システム
2か月前
株式会社アンド
半田付け方法
1か月前
個人
型枠製造装置のフレーム
25日前
中国電力株式会社
養生シート
8日前
株式会社ツガミ
工作機械
1か月前
大見工業株式会社
ドリル
2か月前
株式会社不二越
ブローチ盤
2か月前
ビアメカニクス株式会社
レーザ加工装置
15日前
株式会社不二越
ブローチ盤
1か月前
ビアメカニクス株式会社
レーザ加工装置
15日前
株式会社ダイヘン
溶接装置
3か月前
有限会社 ナプラ
ソルダペースト
3か月前
株式会社ダイヘン
溶接装置
3か月前
津田駒工業株式会社
センタリングバイス
2か月前
ビアメカニクス株式会社
レーザ加工装置
15日前
トヨタ自動車株式会社
溶接マスク
3か月前
住友重機械工業株式会社
加工装置
3か月前
関東冶金工業株式会社
ろう付け方法
1か月前
株式会社タマリ工業
レーザ加工装置
2か月前
株式会社不二越
摩耗判定装置
4か月前
続きを見る
他の特許を見る