TOP
|
特許
|
意匠
|
商標
特許ウォッチ
Twitter
他の特許を見る
10個以上の画像は省略されています。
公開番号
2025160766
公報種別
公開特許公報(A)
公開日
2025-10-23
出願番号
2024063537
出願日
2024-04-10
発明の名称
触覚フィードバック装置、制御方法およびプログラム
出願人
キヤノン株式会社
代理人
弁理士法人大塚国際特許事務所
主分類
G06F
3/01 20060101AFI20251016BHJP(計算;計数)
要約
【課題】ユーザの関心度に基づいて触覚フィードバックを行う。
【解決手段】被操作部を操作可能な操作部に触感を発生させる触覚フィードバック装置は、前記被操作部が物体に触れたときの触感を表す触覚情報を取得する取得手段と、前記被操作部が触れている前記物体を含む所定の範囲内にある物体から、前記操作部を操作するユーザが関心を持っている物体を検出する検出手段と、前記ユーザが関心を持っている物体の物体情報と前記触覚情報とに基づいて前記操作部に触感を発生させるためのフィードバック量を算出する算出手段と、を有する。
【選択図】図2
特許請求の範囲
【請求項1】
被操作部を操作可能な操作部に触感を発生させる触覚フィードバック装置であって、
前記被操作部が物体に触れたときの触感を表す触覚情報を取得する取得手段と、
前記被操作部が触れている前記物体を含む所定の範囲内にある物体から、前記操作部を操作するユーザが関心を持っている物体を検出する検出手段と、
前記ユーザが関心を持っている物体情報と前記触覚情報とに基づいて前記操作部に触感を発生させるためのフィードバック量を算出する算出手段と、を有することを特徴とする触覚フィードバック装置。
続きを表示(約 1,000 文字)
【請求項2】
前記所定の範囲内にある物体の関心度を設定する設定手段を有することを特徴とする請求項1に記載の触覚フィードバック装置。
【請求項3】
前記所定の範囲内の画像を表示する表示手段を有し、
前記設定手段は、前記表示手段に表示されている画像を用いて関心度を設定することを特徴とする請求項2に記載の触覚フィードバック装置。
【請求項4】
前記設定手段は、前記被操作部と所定時間以上重なっている物体の関心度、前記所定の範囲内にある物体の関心度、前記物体のうち所定のサイズ以上の物体の関心度を、その他の物体の関心度よりも高い値に設定することを特徴とする請求項3に記載の触覚フィードバック装置。
【請求項5】
前記算出手段は、前記関心度が最も高い物体のうち最もサイズが大きい物体の物体情報を用いて前記フィードバック量を算出することを特徴とする請求項4に記載の触覚フィードバック装置。
【請求項6】
前記関心度が設定されている物体がない場合、前記算出手段は、前記フィードバック量を算出しないことを特徴とする請求項2に記載の触覚フィードバック装置。
【請求項7】
前記所定の範囲内の画像を表示する表示手段と、ユーザの視線方向を検出する視線検出手段と、を有し、
前記設定手段は、前記表示手段に表示されている画像と前記ユーザの視線方向とに基づいて前記関心度を設定することを特徴とする請求項2に記載の触覚フィードバック装置。
【請求項8】
前記設定手段は、前記視線方向にある物体の関心度を、他の物体の関心度よりも高い値に設定することを特徴とする請求項7に記載の触覚フィードバック装置。
【請求項9】
前記設定手段は、前記視線方向に所定時間以上ある物体の関心度、視線方向と物体のそれぞれの速度と進行方向との差が所定の差以内の物体の関心度、前記視線方向に合計で所定時間ある物体の関心度を、他の物体の関心度よりも高い値に設定することを特徴とする請求項8に記載の触覚フィードバック装置。
【請求項10】
前記算出手段は、前記関心度が最も高い物体のうち最もサイズが大きい物体の物体情報を用いて前記フィードバック量を算出することを特徴とする請求項9に記載の触覚フィードバック装置。
(【請求項11】以降は省略されています)
発明の詳細な説明
【技術分野】
【0001】
本発明は、ユーザの関心度に基づいて触覚フィードバックを行う技術に関する。
続きを表示(約 1,800 文字)
【背景技術】
【0002】
触覚フィードバック(Haptic Feedback)とは、操作対象物からユーザの手や指に対して振動や圧力などの物理的な刺激を与えることで、操作の結果や状態を伝える技術である。触覚フィードバックは、ユーザが操作対象物を操作したときに振動や動きとして感じることで、操作が正しく行われたことを確認したり、視覚や聴覚に障害のあるユーザには触覚を通じたフィードバックは重要な情報源となり、ユーザインタフェースのユーザビリティやアクセシビリティを高める役割がある。また、触覚フィードバックは、ユーザが触覚情報に基づいてロボットアームなどの操作を適切に行ったり、仮想空間において没入感を向上させたりすることにも利用される。
【0003】
特許文献1には、触覚センサが装着されている物体に対してユーザが関心を示した場合、触覚センサにより触覚情報を取得し、触覚フィードバックを行う技術が記載されている。
【先行技術文献】
【特許文献】
【0004】
特開2015-215894号公報
【発明の概要】
【発明が解決しようとする課題】
【0005】
特許文献1では、触覚フィードバックが行えるのは、ユーザが触覚センサが装着されている物体に注目した場合に限られ、触覚センサが装着されていない物体から触覚情報を取得したい場合には対応できない。このため、ユーザが注目している物体と関連付けて触覚情報を取得できる技術が望まれる。
【0006】
本発明は、上記課題に鑑みてなされ、その目的は、ユーザの関心度に基づいて触覚フィードバックを行うことができる技術を実現することである。
【課題を解決するための手段】
【0007】
上記課題を解決し、目的を達成するために、本発明は、被操作部を操作可能な操作部に触感を発生させる触覚フィードバック装置であって、前記被操作部が物体に触れたときの触感を表す触覚情報を取得する取得手段と、前記被操作部が触れている前記物体を含む所定の範囲内にある物体から、前記操作部を操作するユーザが関心を持っている物体を検出する検出手段と、前記ユーザが関心を持っている物体の物体情報と前記触覚情報とに基づいて前記操作部に触感を発生させるためのフィードバック量を算出する算出手段と、を有する。
【発明の効果】
【0008】
本発明によれば、ユーザの関心度に基づいて触覚フィードバックを行うことができる。
【図面の簡単な説明】
【0009】
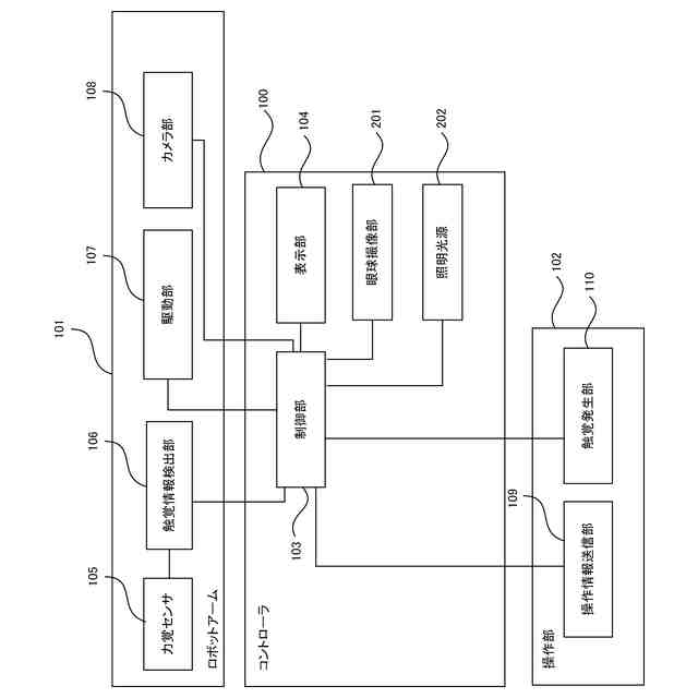
実施形態1の触覚フィードバック装置を模式的に示す外観図。
実施形態1の触覚フィードバック装置の構成を例示するブロック図。
実施形態1の触覚フィードバック処理を例示するフローチャート。
実施形態1の関心物体検出処理を例示するフローチャート
実施形態1の視線検出装置を含む触覚フィードバック装置の構成を例示するブロック図。
実施形態1の視線検出処理を例示するフローチャート。
実施形態1の視線検出方法の説明図。
実施形態1の眼球像の説明図。
実施形態1の視線情報に基づく関心物体検出処理を例示するフローチャート。
実施形態1の視線情報に基づく関心度算出処理の説明図
実施形態1の触覚フィードバック量算出処理を例示するフローチャート。
実施形態2の触覚フィードバック装置を模式的に示す外観図。
実施形態2の触覚フィードバック装置の構成を例示するブロック図。
実施形態2の触覚フィードバック処理を例示するフローチャート。
実施形態2の触覚フィードバック量算出処理を例示するフローチャート。
【発明を実施するための形態】
【0010】
以下、添付図面を参照して実施形態を詳しく説明する。尚、以下の実施形態は特許請求の範囲に係る発明を限定するものでするものでない。実施形態には複数の特徴が記載されているが、これらの複数の特徴の全てが発明に必須のものとは限らず、また、複数の特徴は任意に組み合わせられてもよい。さらに、添付図面においては、同一若しくは同様の構成に同一の参照番号を付し、重複した説明は省略する。
(【0011】以降は省略されています)
この特許をJ-PlatPat(特許庁公式サイト)で参照する
関連特許
キヤノン株式会社
容器
1日前
キヤノン株式会社
トナー
17日前
キヤノン株式会社
トナー
17日前
キヤノン株式会社
トナー
17日前
キヤノン株式会社
トナー
22日前
キヤノン株式会社
トナー
4日前
キヤノン株式会社
現像装置
8日前
キヤノン株式会社
電子機器
24日前
キヤノン株式会社
記録装置
1日前
キヤノン株式会社
撮像装置
18日前
キヤノン株式会社
撮像装置
1日前
キヤノン株式会社
撮像装置
1日前
キヤノン株式会社
定着装置
16日前
キヤノン株式会社
記録装置
15日前
キヤノン株式会社
撮影装置
15日前
キヤノン株式会社
電子機器
26日前
キヤノン株式会社
表示装置
29日前
キヤノン株式会社
記録装置
22日前
キヤノン株式会社
発光装置
29日前
キヤノン株式会社
収容装置
1か月前
キヤノン株式会社
電子機器
1か月前
キヤノン株式会社
現像装置
15日前
キヤノン株式会社
現像容器
15日前
キヤノン株式会社
現像装置
15日前
キヤノン株式会社
現像容器
15日前
キヤノン株式会社
定着装置
1か月前
キヤノン株式会社
電子機器
1か月前
キヤノン株式会社
撮像装置
1か月前
キヤノン株式会社
撮像装置
1日前
キヤノン株式会社
定着装置
1か月前
キヤノン株式会社
撮像装置
22日前
キヤノン株式会社
測距装置
10日前
キヤノン株式会社
半導体装置
24日前
キヤノン株式会社
現像剤容器
23日前
キヤノン株式会社
光学センサ
17日前
キヤノン株式会社
モジュール
17日前
続きを見る
他の特許を見る