TOP
|
特許
|
意匠
|
商標
特許ウォッチ
Twitter
他の特許を見る
10個以上の画像は省略されています。
公開番号
2025160650
公報種別
公開特許公報(A)
公開日
2025-10-23
出願番号
2024063326
出願日
2024-04-10
発明の名称
カテーテル
出願人
朝日インテック株式会社
代理人
弁理士法人ウィルフォート国際特許事務所
主分類
A61M
25/14 20060101AFI20251016BHJP(医学または獣医学;衛生学)
要約
【課題】簡易な構成で、優れたサポート性および誘導性を得ることが可能なカテーテルの提供を目的とする。
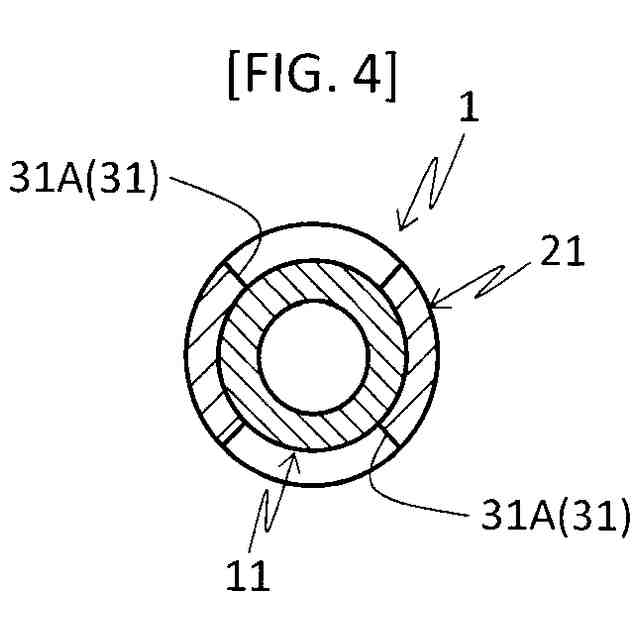
【解決手段】カテーテル1は、第1のチューブ11と、第1のチューブ11の外周面11aを囲むように配置され、第1のチューブ11の長軸方向に沿って移動可能な第2のチューブ21であって、第2のチューブ21の外周面21aから半径方向内側に向かって延びる貫通する孔31、非貫通の孔32、貫通する切れ込み51、および非貫通の切れ込み52の少なくともいずれかが、第2のチューブ21の長軸方向に沿って複数形成されている第2のチューブ21と、を備えている。
【選択図】図1
特許請求の範囲
【請求項1】
第1のチューブ(11)と、
前記第1のチューブ(11)の外周面(11a)を囲むように配置され、前記第1のチューブ(11)の長軸方向に沿って移動可能な第2のチューブ(21,22)であって、前記第2のチューブ(21,22)の外周面(21a,22a)から半径方向内側に向かって延びる貫通する孔(31)、非貫通の孔(32)、貫通する切れ込み(51)、および非貫通の切れ込み(52)の少なくともいずれかが、前記第2のチューブ(21,22)の長軸方向に沿って複数形成されている第2のチューブ(21,22)と、を備えるカテーテル(1,2)。
続きを表示(約 640 文字)
【請求項2】
前記2のチューブ(21)は、前記貫通する孔(31)を有している請求項1に記載のカテーテル(1)。
【請求項3】
前記貫通する孔(31)、前記非貫通の孔、(32)、前記貫通する切れ込み(51)、および前記非貫通の切れ込み(52)は、前記第2のチューブ(21,22)の円周方向に沿って延びている請求項1または請求項2に記載のカテーテル(1,2)。
【請求項4】
前記第2のチューブ(21,22)の長軸方向における長さは、前記第1のチューブ(11)の長軸方向における長さよりも短い請求項1から請求項3のいずれか1項に記載のカテーテル(1,2)。
【請求項5】
前記第1のチューブ(11)の基端に接続され、前記第2のチューブ(21,22)の内径よりも大きな外径を有する把持部材(41)を備えている請求項1から請求項4のいずれか1項に記載のカテーテル(1,2)。
【請求項6】
前記第1のチューブ(11)は親水性コーティング層を含み、
前記親水性コーティング層の外周面が、前記第1のチューブ(11)の外周面(11a)を構成する請求項1から請求項5のいずれか1項に記載のカテーテル(1,2)。
【請求項7】
前記第2のチューブ(21,22)の外周面に(21a,22a)は、親水性コーティング層が設けられていない請求項1から請求項6のいずれか1項に記載のカテーテル(1,2)。
発明の詳細な説明
【技術分野】
【0001】
本開示は、カテーテルに関する。
続きを表示(約 1,100 文字)
【背景技術】
【0002】
体腔に長尺状の医療デバイスを挿入する際、例えば、医療デバイスを挿通するための内腔を備えたカテーテルなどが用いられる。
【0003】
このようなカテーテルには、医療デバイスを体腔内の所定の部位に維持できる優れたサポート性に加え、カテーテルを所定の部位まで円滑に進めることを可能にする高い誘導性が要求される。
【0004】
上述のサポート性および誘導性を実現するため、例えば、先端が閉口したルーメンを形成し、流体をルーメンに投入して内部の圧力を調整することにより剛性を調整するカテーテルが提案されている(例えば、特許文献1参照)。
【0005】
上記カテーテルにおいては、流体の圧力を大きくすることでカテーテルの剛性が高まり、体腔内での医療デバイスの高いサポート性が期待される。流体の圧力を小さくすることでカテーテルの柔軟性が高まり、体腔内においてカテーテルの容易な誘導が期待される。
【先行技術文献】
【特許文献】
【0006】
特開2021-168974号公報
【発明の概要】
【発明が解決しようとする課題】
【0007】
上述したような従来のカテーテルにおいては、ルーメンに液体を投入する際、ルーメンに空気が残らないように脱気をしたり、液体に圧力をかけるための装置が必要になる。このため、大掛かりな装置が必要になると共に、操作が煩雑になる傾向にある。
【0008】
本開示のカテーテルは、簡易な構成で、優れたサポート性および誘導性を得ることが可能なカテーテルを提供することにある。
【課題を解決するための手段】
【0009】
本開示のカテーテルは、
(1)第1のチューブと、
前記第1のチューブの外周面を囲むように配置され、前記第1のチューブの長軸方向に沿って移動可能な第2のチューブであって、前記第2のチューブの外周面から半径方向内側に向かって延びる貫通する孔、非貫通の孔、貫通する切れ込み、および非貫通の切れ込みの少なくともいずれかが、前記第2のチューブの長軸方向に沿って複数形成されている第2のチューブと、を備えている。
この構成によれば、簡易な構成で、優れたサポート性および誘導性を得ることができる。
【0010】
(2)前記(1)のカテーテルにおいて、
前記第2のチューブは、前記貫通する孔を有していてもよい。
この構成によれば、組織へのアンカリングにより、サポート性を高めることができる。
(【0011】以降は省略されています)
この特許をJ-PlatPat(特許庁公式サイト)で参照する
関連特許
朝日インテック株式会社
カテーテル
5日前
朝日インテック株式会社
ラベルシート
4日前
朝日インテック株式会社
二重板ばねステント
5日前
朝日インテック株式会社
導電性エレメントを持つガイドワイヤ
5日前
個人
貼付剤
1日前
個人
健康器具
8か月前
個人
歯茎みが品
9か月前
個人
鼾防止用具
8か月前
個人
短下肢装具
3か月前
個人
嚥下鍛錬装置
3か月前
個人
脈波測定方法
8か月前
個人
脈波測定方法
8か月前
個人
排尿補助器具
14日前
個人
白内障治療法
7か月前
個人
マッサージ機
8か月前
個人
前腕誘導装置
3か月前
個人
導電香
9か月前
個人
洗井間専家。
7か月前
個人
ウォート指圧法
12日前
個人
歯の修復用材料
4か月前
個人
ホバーアイロン
6か月前
個人
汚れ防止シート
29日前
個人
アイマスク装置
2か月前
個人
バッグ式オムツ
4か月前
個人
矯正椅子
5か月前
個人
腰ベルト
4日前
個人
胸骨圧迫補助具
1か月前
三生医薬株式会社
錠剤
7か月前
個人
車椅子持ち上げ器
7か月前
個人
哺乳瓶冷まし容器
3か月前
個人
歯の保護用シール
5か月前
個人
口内洗浄具
8か月前
個人
陣痛緩和具
3か月前
個人
湿布連続貼り機。
2か月前
個人
シャンプー
6か月前
株式会社コーセー
化粧料
11日前
続きを見る
他の特許を見る