TOP
|
特許
|
意匠
|
商標
特許ウォッチ
Twitter
他の特許を見る
10個以上の画像は省略されています。
公開番号
2025160646
公報種別
公開特許公報(A)
公開日
2025-10-23
出願番号
2024063321
出願日
2024-04-10
発明の名称
利益率管理装置
出願人
ローランドディー.ジー.株式会社
代理人
個人
,
個人
,
個人
,
個人
主分類
G06F
3/12 20060101AFI20251016BHJP(計算;計数)
要約
【課題】プリンタを用いて印刷した印刷物を販売する際、精度の良い利益率を算出することができる。
【解決手段】利益率管理装置100は、プリンタ10によって印刷されるロール状の媒体5毎に、印刷に要する印刷コスト125を取得するコスト取得部103と、媒体5毎に、媒体5に印刷された印刷物6を販売することで得られる売上金額126を取得する売上取得部105と、コスト取得部103によって取得された印刷コスト125と、売上取得部105によって取得された売上金額126に基づいて、媒体5毎の利益率129を算出する利益率算出部107と、を備えている。
【選択図】図6
特許請求の範囲
【請求項1】
プリンタによって印刷されるロール状の媒体毎に、印刷に要する印刷コストを取得するコスト取得部と、
前記媒体毎に、前記媒体に印刷された印刷物を販売することで得られる売上金額を取得する売上取得部と、
前記コスト取得部によって取得された前記印刷コストと、前記売上取得部によって取得された前記売上金額に基づいて、前記媒体毎の利益率を算出する利益率算出部と、
を備えた、利益率管理装置。
続きを表示(約 510 文字)
【請求項2】
前記印刷コストは、
前記媒体を購入する際に支払った媒体価格と、
前記媒体への印刷を行う際に消費したインクの量に応じたインク消費コストと、
を有する、請求項1に記載された利益率管理装置。
【請求項3】
前記インク消費コストは、
前記プリンタが前記媒体に対して印刷を行う際に、前記媒体に向かって吐出されたインクの量に基づいた媒体吐出コストと、
前記プリンタをメンテナンスする際に、前記プリンタから吐出されたインクの量に基づいたメンテナンスコストと、
を有する、請求項2に記載された利益率管理装置。
【請求項4】
前記利益率算出部は、前記印刷物毎のROIである単品ROIを算出する、請求項1に記載された利益率管理装置。
【請求項5】
前記利益率算出部によって算出された、前記媒体毎の利益率を表示画面に表示する表示部を備えた、請求項1に記載された利益率管理装置。
【請求項6】
前記利益率算出部は、前記媒体毎のROIを算出する、請求項1から5までの何れか1つに記載された利益率管理装置。
発明の詳細な説明
【技術分野】
【0001】
本発明は、利益率管理装置に関する。
続きを表示(約 1,400 文字)
【背景技術】
【0002】
例えば特許文献1には、ロール状のロールメディアに印刷を行うプリンタが開示されている。このプリンタは、展開されたロールメディアを支持するプラテンと、ロールメディアが設置され、プラテンに向けてロールメディアを供給するメディア供給装置と、インクヘッドと、を備えている。
【0003】
メディア供給装置から供給されたロールメディアは、展開された状態でプラテンに支持される。プラテンに支持されたロールメディアに向かってインクヘッドからインクが吐出されることで、展開されたロールメディアに画像が印刷される。
【先行技術文献】
【特許文献】
【0004】
特開2022-127397号公報
【発明の概要】
【発明が解決しようとする課題】
【0005】
ところで、上記のようなプリンタにおいて、ロールメディアに印刷された印刷物は、切り取られて販売されることがあり得る。印刷物を販売した際に得られる売上金額と、印刷物を印刷する際に要したコストとに基づいて、利益率を算出することが可能である。しかしながら、従来では、利益率を算出する際に用いられるコストは、ユーザが手動で計算したものであった。そのため、より精度の良い利益率を算出することが望まれている。
【0006】
本発明はかかる点に鑑みてなされたものであり、その目的は、プリンタを用いて印刷した印刷物を販売する際、精度の良い利益率を算出することが可能な利益率管理装置を提供することである。
【課題を解決するための手段】
【0007】
本発明に係る利益率管理装置は、プリンタによって印刷されるロール状の媒体毎に、印刷に要する印刷コストを取得するコスト取得部と、前記媒体毎に、前記媒体に印刷された印刷物を販売することで得られる売上金額を取得する売上取得部と、前記コスト取得部によって取得された前記印刷コストと前記売上取得部によって取得された前記売上金額に基づいて、前記媒体毎の利益率を算出する利益率算出部と、を備えている。
【0008】
前記利益率管理装置によれば、ユーザは、媒体毎の利益率を知ることができる。ここでは、実際に印刷に要した印刷コストと、実際に印刷物を販売した売上金額とに基づいて利益率を算出しているため、利益率を精度良く算出することができる。
【発明の効果】
【0009】
本発明によれば、プリンタを用いて印刷した印刷物を販売する際、精度の良い利益率を算出することが可能な利益率管理装置を提供することができる。
【図面の簡単な説明】
【0010】
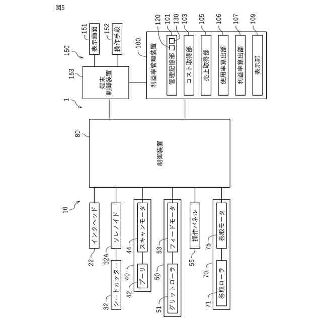
実施形態に係る印刷システムを示す概念図である。
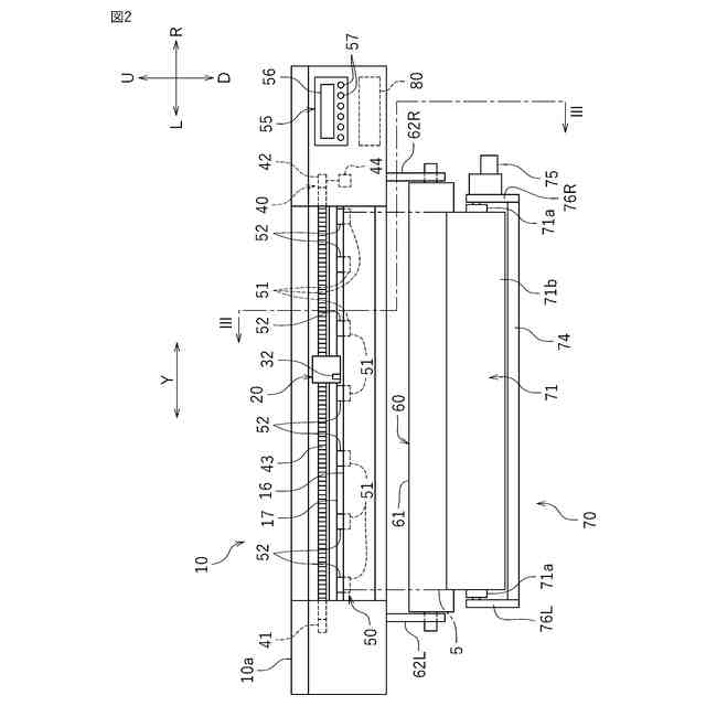
プリンタを示す正面図である。
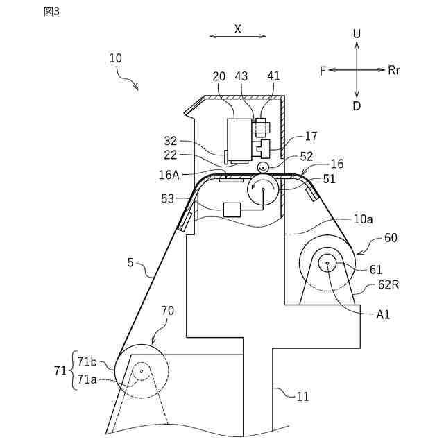
図2のIII-III断面に沿ったプリンタの断面図である。
キャリッジおよびインクヘッドの底面の構成を模式的に示す底面図である。
実施形態に係る印刷システムのブロック図である。
利益率情報を示す図である。
単品利益率情報を示す図である。
印刷コストの説明図である。
印刷物が印刷された媒体の一例を示す図である。
【発明を実施するための形態】
(【0011】以降は省略されています)
この特許をJ-PlatPat(特許庁公式サイト)で参照する
関連特許
個人
詐欺保険
14日前
個人
縁伊達ポイン
14日前
個人
RFタグシート
1日前
個人
地球保全システム
27日前
個人
QRコードの彩色
18日前
個人
自動調理装置
今日
個人
表変換編集支援システム
1か月前
個人
残土処理システム
20日前
個人
農作物用途分配システム
13日前
個人
タッチパネル操作指代替具
7日前
個人
知的財産出願支援システム
21日前
個人
パスワード管理支援システム
1か月前
個人
スケジュール調整プログラム
6日前
個人
携帯端末障害問合せシステム
6日前
株式会社キーエンス
受発注システム
26日前
個人
食品レシピ生成システム
26日前
株式会社キーエンス
受発注システム
26日前
個人
海外支援型農作物活用システム
1か月前
株式会社キーエンス
受発注システム
26日前
個人
システム及びプログラム
1か月前
個人
AIキャラクター制御システム
1か月前
個人
人格進化型対話応答制御システム
1か月前
個人
未来型家系図構築システム
1か月前
個人
音声・通知・再配達UX制御構造
21日前
キヤノン株式会社
表示システム
26日前
サクサ株式会社
中継装置
1か月前
個人
帳票自動生成型SaaSシステム
21日前
トヨタ自動車株式会社
通知装置
4日前
大同特殊鋼株式会社
疵判定方法
1か月前
個人
社会還元・施設向け供給支援構造
1か月前
個人
SaaS型勤務調整支援システム
1か月前
個人
音声対話型帳票生成支援システム
1か月前
エッグス株式会社
情報処理装置
7日前
キヤノン株式会社
印刷システム
6日前
個人
マーケティング活動支援装置
25日前
トヨタ自動車株式会社
車両
5日前
続きを見る
他の特許を見る