TOP
|
特許
|
意匠
|
商標
特許ウォッチ
Twitter
他の特許を見る
10個以上の画像は省略されています。
公開番号
2025160407
公報種別
公開特許公報(A)
公開日
2025-10-22
出願番号
2025128032,2023573164
出願日
2025-07-31,2022-05-24
発明の名称
さまざまなパネル能力によるマルチパネルUEの動作の容易化
出願人
ノキア テクノロジーズ オサケユイチア
代理人
弁理士法人川口國際特許事務所
主分類
H04W
8/24 20090101AFI20251015BHJP(電気通信技術)
要約
【課題】異なるビームフォーミング能力を有するUEパネルにおいても適切なビームフォーミング手順を提供する。
【解決手段】無線通信システム100において、ユーザ機器(UE)106は、複数のアンテナパネル1062、1064、1068を有し、第1の能力セットを、無線通信システムに含まれる次世代ノードB(gNB)102に送信する。第1の能力セットは、複数の対応する能力インデックスによってそれぞれインデックス付けされた複数の能力情報項目を含み、各能力情報項目は、複数のアンテナパネルの中からの能力情報項目に対応するパネルについて、第1の機能に関する対応するパネルの能力情報を示す。
【選択図】図1
特許請求の範囲
【請求項1】
ダウンリンク(DL)および/またはアップリンク(UL)のビーム選択のための、ビーム管理測定および報告のために構成された参照信号(RS)と、少なくとも1つの機能の能力セットの半静的に構成された能力インデックスとの間の動的な関連付けを容易にするための、無線通信システムの、ユーザ機器(UE)であって、
複数のアンテナパネルと、
コンピュータ実行可能命令を記憶するメモリと、
コンピュータ実行可能命令を実行するように構成されたプロセッサと
を含み、コンピュータ実行可能命令は、
少なくとも第1の機能の第1の能力セットを生成することであって、第1の能力セットは、複数の対応する能力インデックスによってそれぞれインデックス付けされた複数の能力情報項目を含み、各能力情報項目は、複数のアンテナパネルの中からの能力情報項目に対応するパネルについて、第1の機能に関する対応するパネルの能力情報を示す、ことと、
第1の能力セットを無線通信システムに含まれる次世代ノードB(gNB)に送信することと
を含む、UE。
続きを表示(約 2,900 文字)
【請求項2】
第1の能力セットに含まれる複数の能力情報項目が、複数の能力インデックスの中からの、それぞれ第1および第2のインデックスによってインデックス付けされる少なくとも第1および第2の能力情報項目を含み、
第1の能力情報が、第1の機能に関する、複数のアンテナパネルの中からの第1のパネルの能力情報を示し、
第2の能力情報項目が、第1の機能に関する、複数のアンテナパネルの中からの第2のパネルの能力情報を示し、
第2のパネルが第1のパネルとは異なる、
請求項1に記載のUE。
【請求項3】
第1の能力セットに含まれる複数の能力情報項目が、複数の能力インデックスの中からの、それぞれ第1および第2のインデックスによってインデックス付けされる少なくとも第1および第2の能力情報項目を含み、
第1の能力情報項目が、第1の機能および第1のDLおよび/またはULチャネル条件に関する、複数のアンテナパネルの中からの第1のパネルの能力情報を示し、
第2の能力情報項目が、第1の機能および第2のDLおよび/またはULチャネル条件に関する、第1のパネルの能力情報を示し、
第2のDLおよび/またはULチャネル条件が、第1のDLおよび/またはULチャネル条件とは異なる、請求項1に記載のUE。
【請求項4】
第1の機能が、Rxビームの最大数、ポートの数、アクティブ化遅延グループ情報、選択遅延グループ情報、または最大の達成可能な等価等方放射電力(EIRP)のうちの少なくとも1つである、請求項1に記載のUE。
【請求項5】
コンピュータ実行可能命令が、
gNBからのダウンリンク(DL)参照信号(RS)を受信および測定することと、
DL参照信号を測定した後にタイマを開始することと、
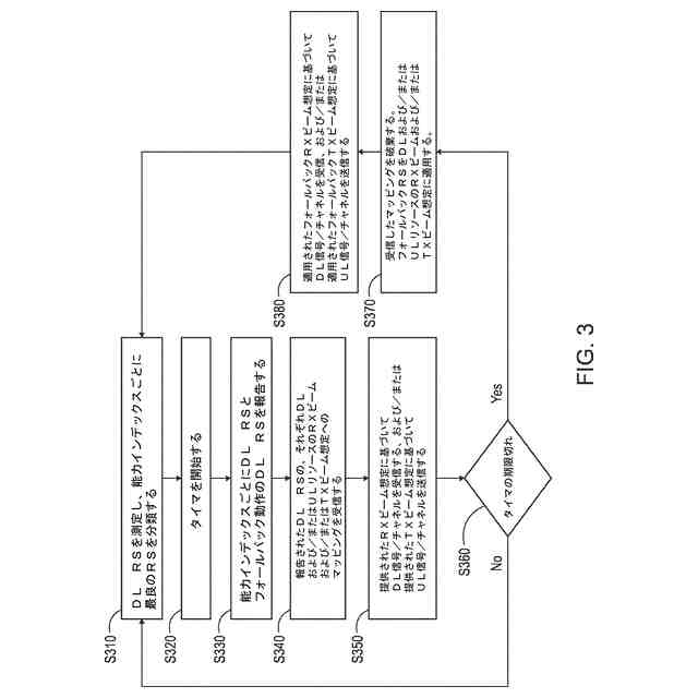
第1の能力セットに含まれる複数の能力インデックスの中からの、各能力インデックスに対して、受信されたDL RSの中から1つ以上の最良のDL RSを決定することと、
受信されたDL RSの中からフォールバック動作のために1つ以上のフォールバックRSを決定することと、
各能力インデックスを、各能力インデックスに対して決定された1つ以上の最良のDL RSとともにgNBに報告することと、
1つ以上のフォールバックRSをgNBに報告することと、
複数の能力インデックスの中からの能力インデックスに対して決定された1つ以上の最良のDL RSに基づいて、DL信号を受信するためのRxビームおよび/またはUL信号を送信するためのTxビームを決定することと、
タイマが期限切れになったかどうかを決定することと、
タイマが期限切れになったと決定したことに応答して、フォールバック動作を行うこととをさらに含み、フォールバック動作が、
1つ以上のフォールバックRSに基づいて、DL信号を受信するための新しいRxビームおよび/またはUL信号を送信するための新しいTxビームを決定することを含む、請求項1に記載のUE。
【請求項6】
ダウンリンク(DL)および/またはアップリンク(UL)のビーム選択のための、ビーム管理測定および報告のために構成された参照信号(RS)と、少なくとも1つの機能の能力セットの半静的に構成された能力インデックスとの間の動的な関連付けを容易にするための、無線通信システムの、ネットワーク要素であって、
コンピュータ実行可能命令を記憶するメモリと、
コンピュータ実行可能命令を実行するように構成されたプロセッサと
を含み、コンピュータ実行可能命令は、
ユーザ機器(UE)にダウンリンク(DL)参照信号(RS)を送信することと、
UEから、少なくとも第1の機能の第1の能力セットを受信することとを含み、第1の能力セットは、複数の対応する能力インデックスによってそれぞれインデックス付けされた複数の能力情報項目を含み、各能力情報項目は、UEの複数のアンテナパネルの中からの能力情報項目に対応するパネルについて、第1の機能に関する対応するパネルの能力情報を示す、ネットワーク要素。
【請求項7】
第1の機能が、Rxビームの最大数、ポートの数、アクティブ化遅延グループ情報、選択遅延グループ情報、または最大の達成可能な等価等方放射電力(EIRP)のうちの少なくとも1つを含む、請求項6に記載のネットワーク要素。
【請求項8】
ダウンリンク(DL)および/またはアップリンク(UL)のビーム選択のための、ビーム管理測定および報告のために構成された参照信号(RS)と、少なくとも1つの機能の能力セットの半静的に構成された能力インデックスとの間の動的な関連付けを容易にするための、無線通信システムの、ユーザ機器(UE)を動作させる方法であって、UEは複数のアンテナパネルを含み、方法は、
少なくとも第1の機能の第1の能力セットを生成することであって、第1の能力セットは、複数の対応する能力インデックスによってそれぞれインデックス付けされた複数の能力情報項目を含み、各能力情報項目は、複数のアンテナパネルの中からの能力情報項目に対応するパネルについて、第1の機能に関する対応するパネルの能力情報を示す、ことと、
第1の能力セットを無線通信システムに含まれる次世代ノードB(gNB)に送信することと
を含む、方法。
【請求項9】
第1の能力セットに含まれる複数の能力情報項目が、複数の能力インデックスの中からの、それぞれ第1および第2のインデックスによってインデックス付けされる少なくとも第1および第2の能力情報項目を含み、
第1の能力情報が、第1の機能に関する、複数のアンテナパネルの中からの第1のパネルの能力情報を示し、
第2の能力情報項目が、第1の機能に関する、複数のアンテナパネルの中からの第2のパネルの能力情報を示し、
第2のパネルが第1のパネルとは異なる、
請求項8に記載の方法。
【請求項10】
第1の能力セットに含まれる複数の能力情報項目が、複数の能力インデックスの中からの、それぞれ第1および第2のインデックスによってインデックス付けされる少なくとも第1および第2の能力情報項目を含み、
第1の能力情報項目が、第1の機能および第1のDLおよび/またはULチャネル条件に関する、複数のアンテナパネルの中からの第1のパネルの能力情報を示し、
第2の能力情報項目が、第1の機能および第2のDLおよび/またはULチャネル条件に関する、第1のパネルの能力情報を示し、
第2のDLおよび/またはULチャネル条件が、第1のDLおよび/またはULチャネル条件とは異なる、
請求項8に記載の方法。
(【請求項11】以降は省略されています)
発明の詳細な説明
【技術分野】
【0001】
1つ以上の例示的な実施形態は、一般に無線通信に関し、より詳細には、第3世代パートナーシッププロジェクト(3GPP)第5世代(5G)新無線(NR)ネットワークにおけるポジショニングの容易化に関する。
続きを表示(約 2,900 文字)
【背景技術】
【0002】
第5世代(5G)無線通信ネットワークは、次世代の移動通信ネットワークである。5G通信ネットワークの標準は、現在、第3世代パートナーシッププロジェクト(3GPP)によって開発されている。これらの標準は、3GPP New Radio(NR)標準として知られている。3GPP New Radio(NR)技術の開発分野の1つは、UEと次世代NodeB(gNB)との間のビーム管理である。
【発明の概要】
【課題を解決するための手段】
【0003】
少なくともいくつかの例示的な実施形態によれば、ダウンリンク(DL)および/またはアップリンク(UL)のビーム選択のための、ビーム管理測定および報告のために構成された参照信号(reference signal)(RS)と、少なくとも1つの機能の能力セットの半静的に構成された能力インデックスとの間の動的な関連付けを容易にするための、無線通信システムの、ユーザ機器(UE)は、複数のアンテナパネルと;コンピュータ実行可能命令を記憶するメモリと;コンピュータ実行可能命令を実行するように構成されたプロセッサとを含み、コンピュータ実行可能命令は、少なくとも第1の機能の第1の能力セットを生成することであって、第1の能力セットは、複数の対応する能力インデックスによってそれぞれインデックス付けされた複数の能力情報項目を含み、各能力情報項目は、複数のアンテナパネルの中からの能力情報項目に対応するパネルについて、第1の機能に関する対応するパネルの能力情報を示す、ことと、第1の能力セットを無線通信システムに含まれる次世代ノードB(gNB)に送信することとを含む。
【0004】
第1の能力セットに含まれる複数の能力情報項目は、複数の能力インデックスの中からの、それぞれ第1および第2のインデックスによってインデックス付けされる少なくとも第1および第2の能力情報項目を含み得、第1の能力情報項目は、第1の機能に関する、複数のアンテナパネルの中からの第1のパネルの能力情報を示し、第2の能力情報項目は、第1の機能に関する、複数のアンテナパネルの中からの第2のパネルの能力情報を示し、第2のパネルは第1のパネルとは異なる。
【0005】
第1の能力セットに含まれる複数の能力情報項目は、複数の能力インデックスの中からの、それぞれ第1および第2のインデックスによってインデックス付けされる少なくとも第1および第2の能力情報項目を含み得、第1の能力情報項目は、第1の機能および第1のDLおよび/またはULチャネル条件に関する、複数のアンテナパネルの中からの第1のパネルの能力情報を示し、第2の能力情報項目は、第1の機能および第2のDLおよび/またはULチャネル条件に関する、第1のパネルの能力情報を示し、第2のDLおよび/またはULチャネル条件は、第1のDLおよび/またはULチャネル条件とは異なる。
【0006】
第1の機能は、Rxビームの最大数、ポートの数、アクティブ化遅延グループ情報、選択遅延グループ情報、または最大の達成可能な等価等方放射電力(EIRP)のうちの少なくとも1つであり得る。
【0007】
コンピュータ実行可能命令は、gNBからダウンリンク(DL)参照信号(RS)を受信および測定することと;DL参照信号を測定した後にタイマを開始することと;第1の能力セットに含まれる複数の能力インデックスの中からの、各能力インデックスに対して、受信されたDL RSの中から1つ以上の最良のDL RSを決定することと、受信されたDL RSの中からフォールバック動作のために1つ以上のフォールバックRSを決定することと;各能力インデックスを、各能力インデックスに対して決定された1つ以上の最良のDL RSとともにgNBに報告することと;1つ以上のフォールバックRSをgNBに報告することと;複数の能力インデックスの中からの能力インデックスに対して決定された1つ以上の最良のDL RSに基づいて、DL信号を受信するためのRxビームおよび/またはUL信号を送信するためのTxビームを決定することと;タイマが期限切れになったかどうかを決定することと;タイマが期限切れになったと決定したことに応答して、フォールバック動作を行うことをさらに含んでよく、フォールバック動作は、1つ以上のフォールバックRSに基づいて、DL信号を受信するための新しいRxビームおよび/またはUL信号を送信するための新しいTxビームを決定することを含む。
【0008】
少なくともいくつかの例示的な実施形態によれば、ダウンリンク(DL)および/またはアップリンク(UL)のビーム選択のための、ビーム管理測定および報告のために構成された参照信号(RS)と、少なくとも1つの機能の能力セットの半静的に構成された能力インデックスとの間の動的な関連付けを容易にするための、無線通信システムの、ネットワーク要素は、コンピュータ実行可能命令を記憶するメモリと;コンピュータ実行可能命令を実行するように構成されたプロセッサとを含み、コンピュータ実行可能命令は、ユーザ機器(UE)へのダウンリンク(DL)参照信号(RS)を送信することと;UEから、少なくとも第1の機能の第1の能力セットを受信することとを含み、第1の能力セットは、複数の対応する能力インデックスによってそれぞれインデックス付けされた複数の能力情報項目を含み、各能力情報項目は、UEの複数のアンテナパネルの中からの能力情報項目に対応するパネルについて、第1の機能に関する対応するパネルの能力情報を示す。
【0009】
7.第1の機能は、Rxビームの最大数、ポートの数、アクティブ化遅延グループ情報、選択遅延グループ情報、または最大の達成可能な等価等方放射電力(EIRP)のうちの少なくとも1つを含み得る。
【0010】
少なくともいくつかの例示的な実施形態によれば、ダウンリンク(DL)および/またはアップリンク(UL)のビーム選択のための、ビーム管理測定および報告のために構成された参照信号(RS)と、少なくとも1つの機能の能力セットの半静的に構成された能力インデックスとの間の動的な関連付けを容易にするための、無線通信システムの、ユーザ機器(UE)を動作させる方法であって、UEは複数のアンテナパネルを含み、方法は、少なくとも第1の機能の第1の能力セットを生成することであって、第1の能力セットは、複数の対応する能力インデックスによってそれぞれインデックス付けされた複数の能力情報項目を含み、各能力情報項目は、複数のアンテナパネルの中からの能力情報項目に対応するパネルについて、第1の機能に関する対応するパネルの能力情報を示す、ことと、第1の能力セットを無線通信システムに含まれる次世代ノードB(gNB)に送信することとを含む。
(【0011】以降は省略されています)
この特許をJ-PlatPat(特許庁公式サイト)で参照する
関連特許
個人
イヤーピース
今日
個人
イヤーマフ
14日前
個人
監視カメラシステム
23日前
個人
スイッチシステム
8日前
キーコム株式会社
光伝送線路
24日前
サクサ株式会社
中継装置
29日前
サクサ株式会社
中継装置
1か月前
WHISMR合同会社
収音装置
1か月前
個人
スキャン式車載用撮像装置
23日前
アイホン株式会社
電気機器
1か月前
株式会社リコー
画像形成装置
16日前
キヤノン電子株式会社
画像読取装置
8日前
ヤマハ株式会社
放音制御装置
8日前
個人
映像表示装置、及びARグラス
9日前
サクサ株式会社
無線通信装置
29日前
個人
ワイヤレスイヤホン対応耳掛け
1か月前
キヤノン電子株式会社
画像読取装置
今日
キヤノン電子株式会社
画像読取装置
22日前
株式会社リコー
画像形成装置
2か月前
株式会社リコー
画像形成装置
2か月前
キヤノン電子株式会社
画像読取装置
1か月前
サクサ株式会社
無線通信装置
29日前
サクサ株式会社
無線システム
28日前
キヤノン電子株式会社
シート搬送装置
今日
個人
発信機及び発信方法
28日前
日本電気株式会社
海底分岐装置
24日前
キヤノン株式会社
画像処理装置
3日前
キヤノン株式会社
撮像システム
1か月前
キヤノン電子株式会社
画像処理システム
22日前
株式会社NTTドコモ
端末
24日前
株式会社NTTドコモ
端末
24日前
シャープ株式会社
端末装置
21日前
有限会社フィデリックス
マイクロフォン
1か月前
シャープ株式会社
表示装置
今日
株式会社小糸製作所
画像照射装置
2か月前
株式会社松平商会
携帯機器カバー
2か月前
続きを見る
他の特許を見る