TOP
|
特許
|
意匠
|
商標
特許ウォッチ
Twitter
他の特許を見る
10個以上の画像は省略されています。
公開番号
2025160365
公報種別
公開特許公報(A)
公開日
2025-10-22
出願番号
2025126228,2024084542
出願日
2025-07-29,2024-05-24
発明の名称
タッチ入力装置
出願人
株式会社 ハイディープ
,
HiDeep Inc.
代理人
個人
,
個人
,
個人
,
個人
,
個人
,
個人
,
個人
,
個人
,
個人
,
個人
,
個人
,
個人
,
個人
,
個人
主分類
G06F
3/041 20060101AFI20251015BHJP(計算;計数)
要約
【課題】フリッカー(flicker)の影響を最小化にすることができるタッチ入力装置を提供する。
【解決手段】タッチ入力装置は、ディスプレイパネルを含むタッチ入力装置として、複数の第1電極及び前記複数の第1電極と交差するように配置された複数の第2電極を含むタッチセンサと、複数の第1電極と複数の第2電極と電気的に連結されてタッチセンサを制御するように構成されたタッチコントローラと、を含み、第2電極は、一対の電極部を含み、一対の電極部のいずれか一つの電極部は、複数の第1電極のうち少なくとも一つの一部の電極と隣り合うように配置され、第2電極の一対の電極部のうちの他の一つの電極部は、複数の第1電極のうち少なくとも一つの残りの電極と隣り合うように配置され、タッチコントローラは、ディスプレイパネルの各スキャンラインに印加される水平同期信号に同期化してタッチセンサを駆動するように構成される。
【選択図】図31
特許請求の範囲
【請求項1】
ディスプレイパネルを含むタッチ入力装置において、
複数の第1電極及び前記複数の第1電極と交差するように配置された複数の第2電極を含
むタッチセンサと、
前記複数の第1電極と前記複数の第2電極と電気的に連結されて前記タッチセンサを制御
するように構成されたタッチコントローラと、を含み、
前記第2電極は、一対の電極部を含み、前記一対の電極部のいずれか一つの電極部は、
前記複数の第1電極のうち少なくとも一つの一部の電極と隣り合うように配置され、前記
第2電極の前記一対の電極部のうちの他の一つの電極部は、前記複数の第1電極のうち少な
くとも一つの残りの電極と隣り合うように配置され、
前記タッチコントローラは、前記タッチセンサを前記ディスプレイパネルに印加される
少なくとも一つの水平同期信号に同期させて駆動するものの、前記水平同期信号が前記デ
ィスプレイパネルに印加され始めた後、所定の時間の間に前記タッチセンサを駆動するよ
うに構成された、タッチ入力装置。
続きを表示(約 1,600 文字)
【請求項2】
ディスプレイパネルを含むタッチ入力装置において、
複数の第1電極及び前記複数の第1電極と交差するように配置された複数の第2電極を含
むタッチセンサと、
前記複数の第1電極と前記複数の第2電極と電気的に連結されて前記タッチセンサを制御
するように構成されたタッチコントローラと、を含み、
前記第2電極は、一対の電極部を含み、前記一対の電極部のいずれか一つの電極部は、
前記複数の第1電極のうち少なくとも一つの一部の電極と隣り合うように配置され、前記
第2電極の前記一対の電極部のうちの他の一つの電極部は、前記複数の第1電極のうち少な
くとも一つの残りの電極と隣り合うように配置され、
前記タッチコントローラは、前記ディスプレイパネルに水平同期信号が印加される時間
区間と異なる時間区間に前記タッチセンサを駆動するように構成された、タッチ入力装置
。
【請求項3】
前記タッチコントローラは、前記タッチセンサのタッチレポートレートを前記ディスプ
レイパネルのディスプレイリフレッシュレートと同じであるように制御する、請求項1又
は2に記載のタッチ入力装置。
【請求項4】
前記タッチコントローラは、前記タッチセンサのタッチレポートレートを前記ディスプ
レイパネルのディスプレイリフレッシュレートより高いように制御する、請求項2に記載
のタッチ入力装置。
【請求項5】
前記ディスプレイパネルの駆動を制御するように構成されたディスプレイコントローラ
、をさらに含み、
前記ディスプレイコントローラは、水平同期信号が印加される全体時間区間を少なくと
も二つの時間区間に分けて前記ディスプレイパネルを駆動するように構成され、
前記タッチコントローラは、前記二つの時間区間の間の所定の時間区間において前記タ
ッチセンサを駆動するように構成された、請求項4に記載のタッチ入力装置。
【請求項6】
前記タッチコントローラは、
前記ディスプレイパネルに印加される垂直同期信号を受信し、
受信された前記垂直同期信号の周期の1/N倍(Nは自然数)に該当する周期を有する内部
信号を少なくとも1以上生成し、
生成された前記内部信号を基準として前記タッチセンサを駆動するための駆動信号のタ
イミングを制御するように構成された、請求項5に記載のタッチ入力装置。
【請求項7】
前記タッチコントローラは、前記二つの時間区間の間の所定の時間区間において、前記
タッチセンサを駆動する時間とスタイラスを駆動又は/及び受信する時間を時分割して制
御するように構成された、請求項5に記載のタッチ入力装置。
【請求項8】
前記タッチコントローラは、前記スタイラスのスタイラスレポートレートを前記タッチ
レポートレートよりN倍(Nは1より大きい自然数)以上さらに速いように制御する、請求
項7に記載のタッチ入力装置。
【請求項9】
前記タッチコントローラは、前記複数の第1電極に少なくとも1以上の駆動信号が印加さ
れるようにし、前記複数の第2電極から感知信号を受信するように制御する、請求項1又は
2に記載のタッチ入力装置。
【請求項10】
前記タッチコントローラは、前記複数の第2電極と電気的に連結される受信回路部を含
み、
前記受信回路部は、前記第2電極の一対の電極部に電気的に連結された一対の入力端を
有する差動増幅器を含む、請求項9に記載のタッチ入力装置。
(【請求項11】以降は省略されています)
発明の詳細な説明
【技術分野】
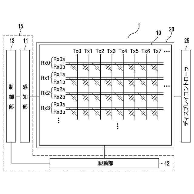
【0001】
本発明はタッチ入力装置に関し、さらに詳しくは、ディスプレイパネルの駆動時間を考
慮してタッチセンサを駆動することにより、ディスプレイパネルの駆動によるディスプレ
イノイズ(display noise)とタッチセンサの駆動によってディスプレイパネルで発生し
得るフリッカー(flicker)の影響を最小化にすることができるタッチ入力装置に関する
ものである。
続きを表示(約 2,200 文字)
【背景技術】
【0002】
コンピューティングシステムの操作のために多様な種類の入力装置が利用されている。
例えば、ボタン(button)、キー(key)、ジョイステック(joystick)、及びタッチス
クリーンのような入力装置が利用されている。タッチスクリーンの容易で手軽な操作によ
り、コンピューティングシステムの操作時にタッチスクリーンの利用が増加している。
タッチセンサは、情報入力装置の一種として、ディスプレイパネルに備えられて使用する
ことができる。一例として、タッチセンサは、ディスプレイパネルの一面に付着されるか
、ディスプレイパネルと一体に製作されて使用することができる。使用者は、ディスプレ
イパネルの画面に表示されるイメージを見ながら、タッチセンサをタッチして情報を入力
することができる。
【0003】
図1は、従来のオクタ方式の積層構造を概略的に示す図面である。
【0004】
タッチスクリーンパネル技術の一種であるオクタ(OCTA)は、On Cell Touch AMOLEDの
略字で、図1に示されたように、AMOLEDディスプレイセルの上にタッチセンサ(Touch sen
sor)を直接蒸着したTSP(Touch Screen Panel)の一種である。すなわち、スマートフォ
ン/タブレットのタッチスクリーン機能をOLEDパネルに内在化する技術である。セルと電
極との間に強化ガラスがないため、既存の一般的なTSPより鮮明度が高くなる効果がある
。
【0005】
ワイ・オクタ(Y-OCTA)は、セルの上にタッチセンサをすぐに蒸着したタッチスクリー
ンパネルである。ワイ・オクタは、「OCTA」にサムスンディスプレイのフレキシブルOLED
ブランド名の「YOUM」のYを付してネーミングしたものである。Y-OCTA技術は、OLED製造
工程のうち薄膜封止(TFE、Thin Film Encapsulation)工程に適用される。薄膜封止用の
有機物と偏光版(Polarizer)との間にタッチセンサとして使用されるアルミニウムメタ
ルメッシュセンサをパターニングしてタッチスクリーンを具現するものである。Y-OCTAは
、偏光版をカバーウインドウに近づけて付着させ、カーブドエッジ(curved edge)で発
生する可視性の問題を解決することができる。また、サポートフィルム(Support film)
を除去することにより、パネルの厚みを減少させ、ラミネーティング過程を省略して価格
を減少させることができる。
【0006】
従来のワイ・オクタ タッチスクリーンパネルを備えたタッチ入力装置は、LGM(Low Gr
ound Mass)状況で問題点がある。前記問題点は、タッチセンサが単一層又は二重層で駆
動電極と受信電極が具現された場合、前記タッチセンサが実装されたタッチ入力装置を使
用者が手でつかまない状態(フローティング状態)で所定のタッチが発生する時、タッチ
入力装置の立場で正常に感知されなければならない信号が消えたり、感知されなければな
らない信号が分かれて2地点以上でタッチされたものと信号が感知される現象である。
また、従来のワイ・オクタ タッチスクリーンパネルを備えたタッチ入力装置は、タッチ
センサの駆動によるディスプレイパネルにおけるフリッカー問題が存在する。前記フリッ
カーは、ディスプレイ画面が非常に早く点滅したり振動する現象であって、多様な原因に
よって発生し得る。
【0007】
従来には、このようなフリッカー問題を解決するために、フレーム(frame)別にディ
ザリング(dithering)を使ったり、タッチセンサの駆動電圧を低くしたり、VRR(Variab
le Refresh Rate)動作時にディスプレイ駆動チップ(DDI)からフレームレート(frame
rate)情報を受けて、それに合うようにタッチセンサの駆動信号の周波数を変更する試み
があったが、このような試みではフリッカー問題を完全に解決することができずにいる。
【発明の概要】
【発明が解決しようとする課題】
【0008】
本発明が解決しようとする課題は、ディスプレイパネルの駆動によるディスプレイノイ
ズを最小化にすることができるタッチ入力装置を提供することである。
【0009】
また、タッチセンサの駆動によってディスプレイパネルで発生し得るフリッカーの影響
を最小化にすることができるタッチ入力装置を提供する。
【0010】
また、LGM状態でのタッチ誤動作を改善することができるタッチ入力装置を提供するこ
とである。
【課題を解決するための手段】
(【0011】以降は省略されています)
この特許をJ-PlatPat(特許庁公式サイト)で参照する
関連特許
個人
詐欺保険
18日前
個人
縁伊達ポイン
18日前
個人
RFタグシート
5日前
個人
QRコードの彩色
22日前
個人
ペルソナ認証方式
2日前
個人
地球保全システム
1か月前
個人
自動調理装置
4日前
個人
残土処理システム
24日前
個人
農作物用途分配システム
17日前
個人
表変換編集支援システム
1か月前
個人
知的財産出願支援システム
25日前
個人
インターネットの利用構造
1日前
個人
タッチパネル操作指代替具
11日前
個人
スケジュール調整プログラム
10日前
個人
パスワード管理支援システム
1か月前
個人
携帯端末障害問合せシステム
10日前
個人
行動時間管理システム
1か月前
個人
食品レシピ生成システム
1か月前
個人
システム及びプログラム
1か月前
個人
AIキャラクター制御システム
1か月前
株式会社キーエンス
受発注システム
1か月前
個人
海外支援型農作物活用システム
1か月前
個人
エリアガイドナビAIシステム
2日前
株式会社キーエンス
受発注システム
1か月前
株式会社キーエンス
受発注システム
1か月前
個人
音声対話型帳票生成支援システム
1か月前
個人
社会還元・施設向け供給支援構造
1か月前
個人
音声・通知・再配達UX制御構造
25日前
個人
未来型家系図構築システム
1か月前
トヨタ自動車株式会社
通知装置
8日前
エッグス株式会社
情報処理装置
11日前
個人
SaaS型勤務調整支援システム
1か月前
キヤノン株式会社
印刷システム
10日前
個人
人格進化型対話応答制御システム
1か月前
個人
帳票自動生成型SaaSシステム
25日前
大同特殊鋼株式会社
疵判定方法
1か月前
続きを見る
他の特許を見る