TOP
|
特許
|
意匠
|
商標
特許ウォッチ
Twitter
他の特許を見る
10個以上の画像は省略されています。
公開番号
2025160338
公報種別
公開特許公報(A)
公開日
2025-10-22
出願番号
2025124997,2024102219
出願日
2025-07-25,2019-11-19
発明の名称
ビデオ符号化及び復号
出願人
キヤノン株式会社
代理人
弁理士法人大塚国際特許事務所
主分類
H04N
19/13 20140101AFI20251015BHJP(電気通信技術)
要約
【課題】Context-based Adaptive Binary Arithmetic Coding(CABAC)符号化を使用してインデックス/フラグ/情報/データの符号化および復号を改善する方法を提供する。
【解決手段】ビデオ符号化方法は、動き情報予測子に関する情報を符号化する方法であって、複数の動き情報予測子候補のうちの1つを選択することと、CABAC符号化を使用して、選択された動き情報予測子候補を識別するための情報を符号化することと、を含み、CABAC符号化は、情報の少なくとも1つのビットについて、トライアングルマージモードまたは動きベクトル差分(MMVD)マージモードのマージのうちの1つまたは両方が使用される場合に、別のインター予測モードに使用される同じコンテキスト変数を使用する。
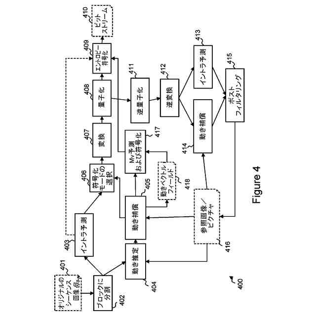
【選択図】図4
特許請求の範囲
【請求項1】
動き情報予測子に関する情報を符号化する方法であって、
複数の動き情報予測子候補のうちの1つを選択することと、
前記選択された動き情報予測子候補を特定するための第1インデックスと第2インデックスを含む複数のインデックスのうちの1つを、Context-based Adaptive Binary Arithmetic Coding(CABAC)符号化を使用して符号化することと、
を含み、
前記第1インデックスは、ブロックにおける第1領域に関連する第1ブロック予測子と、前記ブロックにおける領域であって前記第1領域と異なる領域である第2領域に関連する第2ブロック予測子と、からブロック予測子が取得可能である第1マージモードに対し使用され、
前記第2インデックスは、前記第1マージモードと異なる、インター予測モードの第2マージモードのために使用され、
前記第1マージモードのための前記第1インデックスの最初のビットのCABAC符号化は、前記第2マージモードのための前記第2インデックスの最初のビットのCABAC符号化と同じコンテキスト変数を使用し、
前記第1インデックスの前記最初のビットを除く前記第1インデックスの全てのビットはバイパス符号化され、前記第2インデックスの前記最初のビットを除く前記第2インデックスの全てのビットはバイパス符号化され、
前記第2マージモードに基づいて、且つ、イントラブロック予測子とインターブロック予測子との平均を用いて、ブロック予測子は取得可能であり、
空間マージ候補が前記第2マージモードのために使用可能である
ことを特徴とする方法。
続きを表示(約 1,500 文字)
【請求項2】
前記第1マージモードと前記第2マージモードの各々は、アフィン動き情報を用いるマージモードとは独立したマージモードであることを特徴とする請求項1に記載の方法。
【請求項3】
前記第1領域および前記第2領域の各々は、矩形と異なる形状を有することを特徴とする請求項1に記載の方法。
【請求項4】
前記ブロックにおける前記第1領域は、前記ブロックの左下頂点を含まず、且つ、前記ブロックの右上頂点を含み、
前記ブロックにおける前記第2領域は、前記ブロックの前記右上頂点を含まず、且つ、前記ブロックの前記左下頂点を含むことを特徴とする請求項3に記載の方法。
【請求項5】
前記ブロック内の前記第1領域と前記第2領域の間の領域に対し加重平均が適用されることを特徴とする請求項1に記載の方法。
【請求項6】
動き情報予測子に関する情報を復号する方法であって、
複数の動き情報予測子候補のうちの1つを特定するために、第1インデックスと第2インデックスを含む複数のインデックスのうちの1つをContext-based Adaptive Binary Arithmetic Coding(CABAC)復号を使用して復号することと、
前記復号したインデックスを使用して、前記複数の動き情報予測子候補のうちの1つを選択することと、
を含み、
前記第1インデックスは、ブロックにおける第1領域に関連する第1ブロック予測子と、前記ブロックにおける領域であって前記第1領域と異なる領域である第2領域に関連する第2ブロック予測子と、からブロック予測子が取得可能である第1マージモードのために使用され、
前記第2インデックスは、前記第1マージモードと異なる、インター予測モードの第2マージモードのために使用され、
前記第1マージモードのための前記第1インデックスの最初のビットのCABAC復号は、インター予測モードの前記第2マージモードのための前記第2インデックスの最初のビットのCABAC復号と同じコンテキスト変数を使用し、
前記第1インデックスの前記最初のビットを除く前記第1インデックスの全てのビットはバイパス復号され、前記第2インデックスの前記最初のビットを除く前記第2インデックスの全てのビットはバイパス復号され、
前記第2マージモードに基づいて、且つ、イントラブロック予測子とインターブロック予測子との平均を用いて、ブロック予測子は取得可能であり、
空間マージ候補が前記第2マージモードのために使用可能である
ことを特徴とする方法。
【請求項7】
前記第1マージモードと前記第2マージモードの各々は、アフィン動き情報を用いるマージモードとは独立したマージモードであることを特徴とする請求項6に記載の方法。
【請求項8】
前記第1領域および前記第2領域の各々は、矩形と異なる形状を有することを特徴とする請求項6に記載の方法。
【請求項9】
前記ブロックにおける前記第1領域は、前記ブロックの左下頂点を含まず、且つ、前記ブロックの右上頂点を含み、
前記ブロックにおける前記第2領域は、前記ブロックの前記右上頂点を含まず、且つ、前記ブロックの前記左下頂点を含むことを特徴とする請求項8に記載の方法。
【請求項10】
前記ブロック内の前記第1領域と前記第2領域の間の領域に対し加重平均が適用されることを特徴とする請求項6に記載の方法。
(【請求項11】以降は省略されています)
発明の詳細な説明
【技術分野】
【0001】
本発明は、ビデオ符号化及び復号に関する。
続きを表示(約 2,000 文字)
【背景技術】
【0002】
最近、MPEGとITU-T Study Group 16のVCEGによって形成された共同チームであるJVET(Joint Video Experts Team)は、VVC(Versatile Video Coding)と呼ばれる新しいビデオ符号化規格の研究を開始した。VVCの目標は、既存のHEVC規格(すなわち、典型的には以前の2倍)を超える圧縮性能の著しい改善を提供し、2020年に完了することである。主なターゲットアプリケーションおよびサービスは、360度および高ダイナミックレンジ(HDR)ビデオを含むが、限定されない。総じて、JVETは、独立した試験所が実施した正式な主観的試験を用いて、32団体からのレスポンスを評価した。いくつかの提案は、HEVCを使用する場合と比較して、典型的には40%以上の圧縮効率ゲインを実証した。超高精細(UHD)ビデオ試験材料について特に有効性を示した。したがって、圧縮効率の向上は、最終標準の目標とする50%をはるかに超えることが予想される。
【0003】
JVET探索モデル(JEM)は、すべてのHEVCツールを使用する。HEVCには存在しないさらなるツールは、動き補償を適用する場合に「アフィン動きモード」を使用することである。HEVCにおける動き補償は並進に限定されるが、実際には例えばズームイン/アウト、回転、透視動作、及び他の不規則な動作のような多くの種類の動きがある。アフィン動きモードを利用する場合、より複雑な変換がブロックに適用され、そのような動きの形成をより正確に予測しようと試みる。したがって、良好な符号化効率を達成しながら、複雑さを減らしながら、アフィン動きモードを使用することができることが望ましい。
【0004】
HEVCに存在しない別のツールは、代替時間的動きベクトル予測(ATMVP)を使用することである。代替時間的動きベクトル予測(ATMVP)は、特定の動き補償である。時間的参照フレームからの現在のブロックについて1つの動き情報のみを考慮する代わりに、各コロケートされたブロックの各動き情報が考慮される。したがって、この時間的動きベクトル予測は、各サブブロックの関連する動き情報を用いた現在のブロックのセグメンテーションを与える。現在のVTM(VVCテストモデル)参照ソフトウェアでは、ATMVPがマージ候補のリストに挿入されたマージ候補としてシグナリングされる。SPSレベルでATMVPがイネーブルされると、マージ候補の最大数は1だけ増加される。従って、このモードがディスエーブルされているときから、5個の代わりに6個の候補が考慮される。
【0005】
これらの、および後述する他のツールは候補のリストの中から(例えば、マージモード符号化と共に使用するためのマージ候補のリストから)どの候補が選択されたかを知らせるために使用されるインデックス(例えば、マージインデックス)またはフラグの符号化の符号化効率および複雑さに関する問題を引き起こしている。
【発明の概要】
【0006】
したがって、前述の問題の少なくとも1つに対する解決策が望ましい。
【0007】
本発明の第1の態様によれば、動きベクトル予測子インデックスを符号化する方法であって、
ATMVP候補を含む動きベクトル予測子候補のリストを生成し、
前記リスト内の動きベクトル予測子候補のうちの1つを選択し、
CABAC符号化を使用して、選択された動きベクトル予測子候補の動きベクトル予測子インデックス(マージインデックス)を生成し、動きベクトル予測子インデックスの1つまたは複数のビットは、バイパスCABAC符号化される
ことを特徴とする方法が提供される。
【0008】
一実施形態では、動きベクトル予測子インデックスの最初のビットを除くすべてのビットがバイパスCABAC符号化される。
【0009】
本発明の第2の態様によれば、動きベクトル予測子インデックスを復号する方法であって、
ATMVP候補を含む動きベクトル予測子候補のリストを生成し、
CABAC復号を使用して動きベクトル予測子インデックスを復号し、動きベクトル予測子インデックスの1つまたは複数のビットは、バイパスCABAC復号され、
復号された動きベクトル予測子インデックスを使用して、前記リスト内の動きベクトル予測子候補のうちの1つを識別する
ことを特徴とする方法が提供される。
【0010】
一実施形態では、動きベクトル予測子インデックスの最初のビットを除くすべてのビットがバイパスCABAC復号される。
(【0011】以降は省略されています)
この特許をJ-PlatPat(特許庁公式サイト)で参照する
関連特許
キヤノン株式会社
容器
今日
キヤノン株式会社
トナー
16日前
キヤノン株式会社
トナー
16日前
キヤノン株式会社
トナー
16日前
キヤノン株式会社
トナー
3日前
キヤノン株式会社
現像容器
14日前
キヤノン株式会社
現像装置
14日前
キヤノン株式会社
定着装置
15日前
キヤノン株式会社
記録装置
今日
キヤノン株式会社
撮像装置
17日前
キヤノン株式会社
現像装置
14日前
キヤノン株式会社
撮影装置
14日前
キヤノン株式会社
撮像装置
今日
キヤノン株式会社
撮像装置
今日
キヤノン株式会社
撮像装置
今日
キヤノン株式会社
現像容器
14日前
キヤノン株式会社
現像装置
7日前
キヤノン株式会社
記録装置
14日前
キヤノン株式会社
測距装置
9日前
キヤノン株式会社
光学センサ
16日前
キヤノン株式会社
モジュール
16日前
キヤノン株式会社
画像形成装置
10日前
キヤノン株式会社
画像形成装置
14日前
キヤノン株式会社
画像形成装置
今日
キヤノン株式会社
画像形成装置
17日前
キヤノン株式会社
画像形成装置
17日前
キヤノン株式会社
画像形成装置
10日前
キヤノン株式会社
情報処理装置
14日前
キヤノン株式会社
画像形成装置
14日前
キヤノン株式会社
画像形成装置
1日前
キヤノン株式会社
カートリッジ
14日前
キヤノン株式会社
画像形成装置
15日前
キヤノン株式会社
カートリッジ
14日前
キヤノン株式会社
印刷システム
2日前
キヤノン株式会社
画像形成装置
14日前
キヤノン株式会社
電子写真装置
1日前
続きを見る
他の特許を見る