TOP
|
特許
|
意匠
|
商標
特許ウォッチ
Twitter
他の特許を見る
公開番号
2025160184
公報種別
公開特許公報(A)
公開日
2025-10-22
出願番号
2025108561,2022553143
出願日
2025-06-26,2021-02-24
発明の名称
マイクロ原子炉においてコンパクトであってより高い出力密度のコアを可能にする高温ハイドライド減速材
出願人
ウェスティングハウス エレクトリック カンパニー エルエルシー
,
WESTINGHOUSE ELECTRIC COMPANY LLC
代理人
弁理士法人 快友国際特許事務所
主分類
G21C
5/00 20060101AFI20251015BHJP(核物理;核工学)
要約
【課題】マイクロ原子炉においてコンパクトであってより高い出力密度のコアを提供する。
【解決手段】燃料チャンネル202と、ヒートパイプ204と、前記燃料チャンネル202及び前記ヒートパイプ204を取り巻くように構成された一次減速材マトリックス206と、前記燃料チャンネル202、前記ヒートパイプ204、及び、前記一次減速材マトリックス206を少なくとも部分的に取り囲むように構成された二次減速材チャンネル208と、を備えた炉心ブロック200が開示されている。前記二次減速材チャンネル208が、メタルハイドライドを含んでいる。
【選択図】図1
特許請求の範囲
【請求項1】
炉心ブロックであって、
燃料チャンネルと、
ヒートパイプと、
前記燃料チャンネル及び前記ヒートパイプを取り巻くように構成された一次減速材マトリックスと、
前記燃料チャンネル、前記ヒートパイプ、及び、前記一次減速材マトリックスを少なくとも部分的に取り囲むように構成された二次減速材チャンネルと、
を備えており、
前記二次減速材チャンネルが、メタルハイドライドを含んでいる、炉心ブロック。
続きを表示(約 1,000 文字)
【請求項2】
前記一次減速材マトリックスが、グラファイト、炭化ケイ素、窒化アルミニウム、ステンレス鋼、及び、それらの組み合わせから成る群から選択される、請求項1の炉心ブロック。
【請求項3】
前記メタルハイドライドが、イットリウムハイドライド、セリウムハイドライド、ジルコニウムハイドライド、及び、それらの組み合わせから成る群から選択される、請求項1又は2の炉心ブロック。
【請求項4】
前記二次減速材チャンネルが、ブロック、ペレット、ロッド、又は、プレート、及び、それらの組み合わせから成る群から選択される、請求項1~3のいずれか一項の炉心ブロック。
【請求項5】
前記二次減速材チャンネルが、前記燃料チャンネル、前記ヒートパイプ、及び、前記一次減速材マトリックスを完全に取り囲むように構成されている、請求項1~4のいずれか一項の炉心ブロック。
【請求項6】
炉心であって、
複数の炉心ブロックを備えており、各炉心ブロックが、
燃料チャンネルと、
ヒートパイプと、
前記燃料チャンネル及び前記ヒートパイプを取り巻く一次減速材マトリックスと、
前記燃料チャンネル、前記ヒートパイプ、及び、前記一次減速材マトリックスを少なくとも部分的に取り囲むように構成された二次減速材チャンネルと、
を備えており、
前記二次減速材チャンネルが、メタルハイドライドを含んでいる、炉心。
【請求項7】
中性子反射体及び中性子吸収体を備えている制御ドラムをさらに備えている、請求項6の炉心。
【請求項8】
前記制御ドラムが、第1の位置と第2の位置との間で回転可能であり、
前記第1の位置では、前記中性子吸収体が前記複数の炉心ブロックに対面しており、
前記第2の位置では、前記中性子反射体が前記複数の炉心ブロックに対面している、請求項7の炉心。
【請求項9】
前記一次減速材マトリックスが、グラファイト、炭化ケイ素、窒化アルミニウム、ステンレス鋼、及び、それらの組み合わせから成る群から選択される、請求項6~8のいずれか一項の炉心。
【請求項10】
前記メタルハイドライドが、イットリウムハイドライド、セリウムハイドライド、ジルコニウムハイドライド、及び、それらの組み合わせから成る群から選択される、請求項6~9のいずれか一項の炉心。
(【請求項11】以降は省略されています)
発明の詳細な説明
【技術分野】
【0001】
(関連出願の相互参照)
この出願は、2020年3月3日に出願された米国仮出願第62/984,591号の利益を主張しており、その内容は、その全体が本明細書において引用により組み込まれている。
続きを表示(約 2,900 文字)
【背景技術】
【0002】
この発明は、概してマイクロ炉に関し、より詳しくは、炉心内における燃料チャンネル、ヒートパイプ、及び、減速材の配列に関する。
【0003】
電気エネルギ市場は、集中型市場と分散型市場とに分類することができる。集中型市場は、大きな(数百MWeの範囲の)発電機と、高容量高密度送配電ネットワークと、に基づいている。分散型市場又はオフグリッド市場は、その代わりに、ローカライズされた小さな配電ネットワーク又はマイクログリッドに通常接続されている、コンパクトな(<15MWe)発電機に依拠している。目下、分散型市場の例が、遠隔の北極圏のコミュニティ、遠隔の鉱山、軍事基地、及び島嶼のコミュニティである。現在、オフグリッド市場におけるエネルギは主として、ディーゼル発電機により提供されている。このことは、高コストの電気、化石燃料への依存性、負荷制限、複雑な燃料供給ロジスティックス、及び、老朽化するインフラを招く。オフグリッド市場の厳格な要件には、低廉化、信頼性、柔軟性、障害回復性、持続可能性(クリーンエネルギ)、エネルギ安全保障、並びに、迅速な据え付け労力及び最小の保守労力が含まれる。これらの要望の全てに応えることができるのが、原子力エネルギである。
【0004】
マイクロ炉は、10MWe未満を生成することが可能であるとともに、遠隔用途用に配備することが可能な原子炉である。これらのマイクロ炉は、比較的小さなコンテナへの梱包、人員の積極的介入を伴わない稼働、及び、従来の原子力発電プラントよりも長期間にわたる、燃料補給/交換を伴わない稼働、が可能である。
【0005】
1つのこのようなマイクロ炉が、ウェスティングハウス・エレクトリック・カンパニー(Westinghouse Electric Company)により設計された、eVinciマイクロ炉システムである。このeVinciシステムは、コンパクトなモノリスコアブロック内に収容された、燃料と、中性子減速材チャンネルと、ヒートパイプと、を利用する、ヒートパイプ冷却式炉発電システムである。ヒートパイプは、熱エネルギを、モノリスコアからマイクロ炉の二次側における熱交換器へと効率的に移動させる受動的熱除去デバイスとして働く。ヒートパイプは、気密封止された管であって、この管は、当該管の一方端(蒸発器セクション)において、沸騰した少量の(液体カリウム又はナトリウムといった)揮発性液体を内包しており、蒸気が、当該管の他方端(凝縮器セクション)へ進行し、ここで凝縮して、その蒸発熱を降ろす。凝縮された液体は、毛細管力を使用するウィックという手段により当該管の他方端に戻されて、凝縮液が蒸発器セクションに向けて引き戻される。ヒートパイプに関する追加的な論考は、それらの全てが本明細書に引用により組み込まれている、米国特許出願公開第2016/0027536号として公開され、「モバイルヒートパイプ冷却式高速炉システム(MOBILE HEAT PIPE COOLED FAST REACTOR SYSTEM)」と題された、米国特許出願第14/773,405号、及び、「熱抽出用ヒートパイプを有する原子炉(NUCLEAR REACTOR WITH HEAT PIPES FOR HEAT EXTRACTION)」と題された、米国特許第3,668,070号に記載されている。
【0006】
マイクロ炉内における目下のコアは、5重量%U-235よりもはるかに高いレベルまで濃縮する必要があるウラン燃料を利用している。1つのこのような燃料が、高アッセイ低濃縮ウラン(HALEU:High Assay Low Enriched Uranium)であり、これは、最高で19.75重量%U-235まで濃縮されたウラン燃料である。5重量%U-235を上回って濃縮されるウランの工業規模の量は、必要とされる規模を製造する能力がないことを理由に、限られている。このことは、核燃料のコストを高くし、その結果、マイクロ炉の高コストを招く。これにより結果的に、マイクロ炉は、潜在市場及び潜在顧客にとっての利用容易性が限られてしまう。
【0007】
本開示の1つのこのような目的は、本質的に安全であり、数年にわたって交換を伴わずに稼働することが可能であり、低減された量のHALEU燃料で使用可能であるか、又は、5重量%U-235と同程度の低濃縮度の燃料で使用可能であり、質量及びサイズの厳しい制限を満たすことにより、飛行機、トラック、及び、従来の道路による移送が可能である、軽量マイクロ原子炉を提供することである。
【発明の概要】
【0008】
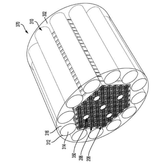
様々な実施例では、燃料チャンネルと、ヒートパイプと、前記燃料チャンネル及び前記ヒートパイプを取り巻くように構成された一次減速材マトリックスと、前記燃料チャンネル、前記ヒートパイプ、及び、前記一次減速材マトリックスを少なくとも部分的に取り囲むように構成された二次減速材チャンネルと、を備えた炉心ブロックが開示されている。前記二次減速材チャンネルが、メタルハイドライドを含んでいる。
【0009】
様々な実施例では、複数の炉心ブロックを備えている、炉心が開示されている。各炉心ブロックが、燃料チャンネルと、ヒートパイプと、前記燃料チャンネル及び前記ヒートパイプを取り巻く一次減速材マトリックスと、前記燃料チャンネル、前記ヒートパイプ、及び、前記一次減速材マトリックスを少なくとも部分的に取り囲むように構成された二次減速材チャンネルと、を備えている。前記二次減速材チャンネルが、メタルハイドライドを含んでいる。
【0010】
様々な実施例では、第1の配列、第2の配列、前記第1の配列と前記第2の配列との間に位置付けられた第3の配列を含んでいる炉心が開示されている。前記第1の配列が、第1の複数の燃料チャンネルと、第1の複数のヒートパイプと、を備えている。前記第1の配列が、前記第1の複数の燃料チャンネルからの燃料チャンネルと、前記第1の複数のヒートパイプからのヒートパイプと、を交互に繰り返すように構成されている。前記第2の配列が、第2の複数の燃料チャンネルと、第2の複数のヒートパイプと、を備えている。前記第2の配列が、前記第2の複数の燃料チャンネルからの燃料チャンネルと、前記第2の複数のヒートパイプからのヒートパイプと、を交互に繰り返すように構成されている。前記第3の配列が、第1の複数の減速材チャンネルを備えている。前記第1の複数の減速材チャンネルからの各減速材チャンネルが、メタルハイドライドを含んでいる。前記炉心がさらに、減速材マトリックスを備えている。前記第1の配列、前記第2の配列、及び、前記第3の配列が、前記減速材マトリックス内に埋め込まれている。
(【0011】以降は省略されています)
この特許をJ-PlatPat(特許庁公式サイト)で参照する
関連特許
個人
原子力プラント
8日前
個人
超音波振動子の利用
8日前
個人
廃炉方法及び固化材
23日前
個人
元素変換用固体核融合工程
4か月前
個人
安山岩を利用した放射線消去装置
3か月前
個人
安山岩を利用した放射線消去装置
5か月前
パテントフレア株式会社
核融合反応促進法
5か月前
個人
はんれい岩を利用した放射線消去装置
3か月前
合同会社日本レプトン
電子発生ペースト
27日前
株式会社エー・アンド・デイ
X線検査装置
5か月前
株式会社エー・アンド・デイ
X線検査装置
5か月前
栗田工業株式会社
放射性廃液の処理方法
23日前
PDRファーマ株式会社
遮蔽容器
5か月前
個人
核変換システム、加工装置、除去装置、切除装置
5か月前
国立大学法人大阪大学
原子力発電装置
5か月前
住友重機械工業株式会社
搬送システム
3か月前
個人
共振励起型固体核融合装置と元素変換用固体核融合工程
3か月前
合同会社日本レプトン
電子発生器具及びその製造方法
27日前
合同会社日本レプトン
電子発生器具及びその製造方法
27日前
浜松ホトニクス株式会社
電子線照射装置
6か月前
浜松ホトニクス株式会社
電子線照射装置
6か月前
個人
過剰熱起電力発生方法
4か月前
三菱重工業株式会社
加圧容器
1か月前
株式会社大林組
埋め戻し材、埋め戻し材の製造方法
2か月前
株式会社イトーキ
放射線遮蔽扉
3か月前
清水建設株式会社
放射線遮蔽構造
5か月前
株式会社エム・ディ・インスツルメンツ
X線管の焦点寸法測定方法
3か月前
三菱重工業株式会社
容器解体装置
23日前
アンカーハウジング株式会社
核シェルター
3か月前
株式会社安藤・間
レーザー除染装置による除染方法
5か月前
個人
ブランケット・炉心2領域増殖原子炉及びプルトニウム金属生産炉
3か月前
三菱重工業株式会社
プラントの電力設備
3か月前
株式会社リガク
生体試料の観察方法
3か月前
個人
プラズマ発生装置およびプラズマ発生方法
3か月前
三菱重工業株式会社
炉内構造物の解体方法
23日前
日立GEニュークリア・エナジー株式会社
ベントシステム
5か月前
続きを見る
他の特許を見る