TOP
|
特許
|
意匠
|
商標
特許ウォッチ
Twitter
他の特許を見る
10個以上の画像は省略されています。
公開番号
2025160179
公報種別
公開特許公報(A)
公開日
2025-10-22
出願番号
2025107638,2023543395
出願日
2025-06-25,2022-04-23
発明の名称
エピタキシ処理チャンバにおける複数ゾーンランプ加熱及び温度監視
出願人
アプライド マテリアルズ インコーポレイテッド
,
APPLIED MATERIALS,INCORPORATED
代理人
園田・小林弁理士法人
主分類
H01L
21/205 20060101AFI20251015BHJP(基本的電気素子)
要約
【課題】エピタキシャル処理チャンバ内の温度制御を改善するエピタキシャル堆積チャンバを提供する。
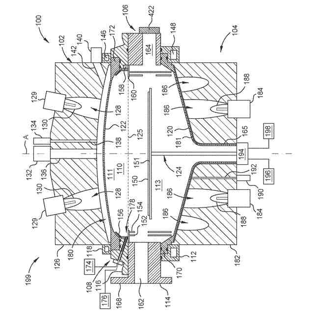
【解決手段】エピタキシャルチャンバ100は、チャンバ本体アセンブリ106を有する。チャンバ本体アセンブリは、下方ウィンドウ120及び上方ウィンドウ122を含み、チャンバ本体アセンブリと、下方ウィンドウと、上方ウィンドウとが内部空間110を取り囲む。サセプタアセンブリ124は、内部空間内に配置されている。エピタキシャルチャンバは、複数の温度制御要素199も有している。複数の温度制御要素は、上方ランプモジュール102、下方ランプモジュール104、上方ヒータ158、下方ヒータ152及び加熱ガス通路136を含む。
【選択図】図1
特許請求の範囲
【請求項1】
エピタキシャルチャンバであって、
チャンバ本体とアセンブリと、
下方ウィンドウと、
上方ウィンドウと、
を備え、
チャンバ本体アセンブリが、
前記下方ウィンドウと前記上方ウィンドウとが内部空間を取り囲み、
前記エピタキシャルチャンバがさらに、
前記内部空間内に配置されたサセプタアセンブリと、
複数の温度制御要素と、
を備え、
前記複数の温度制御要素が上方ランプモジュールを含み、前記上方ランプモジュールが、
上面と底面を含む上方モジュール本体、
中心軸、
前記底面から前記上面に向かって配置された複数のランプ開口部
を含み、前記複数のランプ開口部が、
ランプベース支持部、及び
前記底面における電球開口部であって、各ランプ開口部が、前記中心軸に対して0度より大きい角度に電球を配向するよう構成されている、電球開口部
を含む、エピタキシャルチャンバ。
続きを表示(約 1,300 文字)
【請求項2】
前記内部空間の内部かつ注入リングの近傍に配置された上方ライナと、
前記内部空間の内部かつベースリングの近傍に配置された下方ライナと、
をさらに含む、請求項1に記載のエピタキシャルチャンバ。
【請求項3】
前記複数の温度制御要素が、前記下方ライナと前記ベースリングの間に配置された下方ヒータをさらに含む、請求項2に記載のエピタキシャルチャンバ。
【請求項4】
前記複数の温度制御要素が、下方ランプモジュールをさらに含み、前記下方ランプモジュールが、
上面と底面を含む下方モジュール本体、
中心軸、
前記底面から前記上面に向かって配置された複数のランプ開口部
を含み、前記複数のランプ開口部が、
ランプベース支持部、及び
前記底面における電球開口部であって、各ランプ開口部が、前記中心軸に対して0度より大きい角度と、前記中心軸から45度と、の間の角度に電球を配向するよう構成されている、電球開口部
を含む、請求項1に記載のエピタキシャルチャンバ。
【請求項5】
前記複数のランプ開口部が3つの異なるゾーン内に配置されており、各ゾーンが、5~10個のランプ開口部を含む、請求項1に記載のエピタキシャルチャンバ。
【請求項6】
前記上方ランプモジュール内に配置された加熱ガス通路と、
前記加熱ガス通路に接続されており、前記上方ランプモジュールと前記上方ウィンドウの間に画定されたプレナム内に熱風を供給するよう構成されたドームヒータと、
をさらに含む、請求項1に記載のエピタキシャルチャンバ。
【請求項7】
前記チャンバ本体アセンブリが、
ベースリングと、
前記ベースリングの上に配置された注入リングと、
前記注入リングの内周面と上方ライナの外周面との間に配置された上方ヒータと、
下方ライナと前記ベースリングの間に配置された下方ヒータと、
をさらに含む、請求項6に記載のエピタキシャルチャンバ。
【請求項8】
エピタキシャル処理チャンバのためのランプモジュールであって、
上面及び底面を含むモジュール本体と、
中心軸と、
前記底面から前記上面に向かって配置された複数のランプ開口部と、
を含み、前記複数のランプ開口部が、
電球開口部であって、各ランプ開口部が、中心軸から0度より大きくかつ約45度以下の角度に、電球を配向するよう構成されている、電球開口部
を含む、エピタキシャル処理チャンバのためのランプモジュール。
【請求項9】
前記複数のランプ開口部が3つの異なるゾーン内に配置されており、各ゾーンが、5~10個のランプ開口部を含む、請求項8に記載のエピタキシャル処理チャンバ。
【請求項10】
反射性の内壁が、赤外波長に対して高い反射率を有する反射コーティングを含む、請求項9に記載のエピタキシャル処理チャンバ。
(【請求項11】以降は省略されています)
発明の詳細な説明
【技術分野】
【0001】
本開示の実施形態は、概して、半導体基板を作製するための装置及び方法に関する。より具体的には、本明細書に開示される装置は、複数の温度制御要素を有するエピタキシャル堆積チャンバに関する。
続きを表示(約 2,300 文字)
【背景技術】
【0002】
半導体基板は、集積デバイス及び微小デバイスの製造を含む様々な用途のために処理される。このような処理装置の1つに、エピタキシャル処理チャンバがある。処理中に、基板は、エピタキシャル処理チャンバ内のサセプタ上に配置される。サセプタは中心軸の周りに回転可能な支持体シャフトによって支持される。基板の上下に配置された複数の加熱ランプといった熱源を正確に制御することで、極めて厳密な許容誤差の範囲内で基板を加熱することが可能となる。基板の温度は、基板の上に堆積する材料の均一性に影響を及ぼしうる。
【0003】
エピタキシャル処理チャンバ内の基板温度を正確に制御する能力はスループット及び生産収率に大きな影響を与える。従来のエピタキシャル処理チャンバでは、次世代デバイスの製造に必要な温度制御基準を満たしつつ、生産収率の向上及びスループットの高速化に対するますます高まる要求を満たすことが困難であった。
【0004】
従って、エピタキシャル処理チャンバ内の温度制御を改善する必要がある。
【発明の概要】
【0005】
本開示は、概して、複数の温度制御要素を有する半導体基板を処理するための処理チャンバに関する。一例において、エピタキシャルチャンバがチャンバ本体アセンブリを有する。チャンバ本体アセンブリが、下方ウィンドウ及び上方ウィンドウを含み、チャンバ本体アセンブリと、下方ウィンドウと、上方ウィンドウとが内部空間を取り囲む。サセプタアセンブリが、内部空間内に配置されている。エピタキシャルチャンバは、複数の温度制御要素も有している。複数の温度制御要素は、上方ランプモジュール、下方ランプモジュール、上方ヒータ、下方ヒータ、又は加熱ガス通路で構成される群から選択された2つ以上の温度制御要素を含む。
【0006】
本開示の先に記載した特徴が詳細に理解できるように、先に簡潔に要約した本開示のより具体的な説明が、実施形態を参照することによって得るができ、実施形態の一部が添付の図面に示されている。しかしながら、添付の図面は例示的な実施形態を示しているにすぎず、従って、本開示の範囲を限定すると見なすべきではなく、その他の等しく有効な実施形態も許容されうることに注意されたい。
【図面の簡単な説明】
【0007】
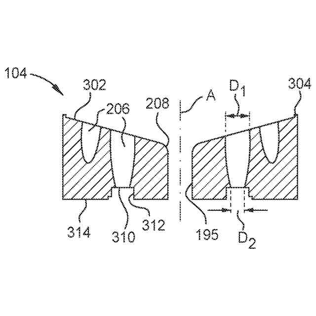
本開示の実施形態に係る処理チャンバの概略図である。
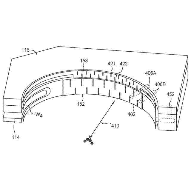
本開示の実施形態に係る、上方ランプアセンブリの概略的な底面図である。
本開示の実施形態に係る、図2Aの上方ランプモジュールの概略的な平面図である。
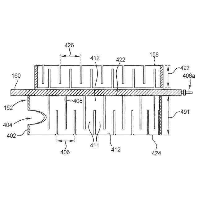
本開示の実施形態に係る、切断線2C-2Cで切った図2Aの上方ランプモジュールの概略的な断面図である。
本開示の一実施形態に係る、下方ランプモジュールの概略的な底面図である。
本開示の実施形態に係る、図3Aの下方ランプモジュールの概略的な平面図である。
本開示の実施形態に係る、図3Aの切断線3C-3Cで切った上方ランプモジュールの概略的な断面図である。
本開示の実施形態に係る、上方ヒータ及び下方ヒータの概略的な断面図である。
本開示の実施形態に係る、図4Aに示すヒータの概略的な等角図である。
本開示の実施形態に係る、他の実施形態による下方ヒータの概略的な断面図である。
図5Aの下方ヒータ152の追加の例を示す概略的な等角図である。
一実施形態による光学フィルタの概略図である。
他の実施形態による光学フィルタの概略図である。
ドームヒータの概略図である。
上方ランプモジュール内の加熱ガス通路の概略的な断面図である。
【発明を実施するための形態】
【0008】
理解を容易にするために、可能な場合には、複数の図に共通する同一の要素を指し示すのに同一の参照番号を使用した。一実施形態の構成要素及び特徴は、さらなる記述がなくとも、他の実施形態に有益に組み込まれうると想定されている。
【0009】
本開示は、概して、複数の温度制御要素を有する半導体処理のための装置に関する。より具体的には、本明細書に開示される装置は、処理チャンバ及びその構成要素に関する。処理チャンバは、エピタキシャル堆積チャンバといった熱堆積チャンバとして構成されている。処理チャンバは、従来のチャンバに比べて部品が安価であるため、チャンバ本体の一部が摩耗した後又はチャンバ本体の一部に改良された設計が施されたときの処理チャンバの一部の交換コストを削減する。開示される処理チャンバは、処理チャンバでの均一な熱制御の改善を含む従来の課題を克服し、これによりスループットがより良くなってプロセス歩留まりが向上する。
【0010】
本明細書では、温度制御の改善を可能とする処理チャンバの構成要素も開示される。改善された温度制御を可能とする構成要素には、上方ランプモジュール、下方ランプモジュール、及び1つ以上の加熱要素が含まれる。温度制御を改善する上記処理チャンバの構成要素のそれぞれを、個別に、又は1つ以上の他の温度制御改善チャンバ構成要素と共に利用して、エピタキシャル堆積により基板を処理する間処理チャンバの温度を制御することが可能であり、このことは、エピタキシャル堆積膜の品質及び処理スループットに対して、実質的で有益な影響を与える。
(【0011】以降は省略されています)
この特許をJ-PlatPat(特許庁公式サイト)で参照する
関連特許
東ソー株式会社
絶縁電線
今日
個人
フレキシブル電気化学素子
12日前
株式会社ユーシン
操作装置
12日前
日新イオン機器株式会社
イオン源
8日前
ローム株式会社
半導体装置
14日前
ローム株式会社
半導体装置
19日前
太陽誘電株式会社
全固体電池
19日前
株式会社GSユアサ
蓄電装置
19日前
株式会社GSユアサ
蓄電設備
12日前
株式会社GSユアサ
蓄電設備
12日前
株式会社ホロン
冷陰極電子源
6日前
株式会社ホロン
冷陰極電子源
19日前
太陽誘電株式会社
コイル部品
12日前
オムロン株式会社
電磁継電器
13日前
TDK株式会社
電子部品
19日前
サクサ株式会社
電池の固定構造
12日前
日本特殊陶業株式会社
保持装置
1日前
トヨタ自動車株式会社
蓄電装置
12日前
トヨタ自動車株式会社
バッテリ
13日前
ノリタケ株式会社
熱伝導シート
12日前
トヨタ自動車株式会社
冷却構造
今日
日東電工株式会社
積層体
13日前
日本特殊陶業株式会社
保持装置
19日前
日本特殊陶業株式会社
保持装置
19日前
日本特殊陶業株式会社
保持装置
21日前
日本製紙株式会社
導電性フィルム
13日前
株式会社ダイヘン
搬送装置
12日前
ローム株式会社
半導体装置
今日
日本製紙株式会社
導電性フィルム
13日前
TDK株式会社
コイル部品
21日前
日本特殊陶業株式会社
電極
19日前
SMK株式会社
キートップ及びスイッチ
14日前
TDK株式会社
コイル部品
19日前
日本特殊陶業株式会社
電極
19日前
日本特殊陶業株式会社
電極
19日前
日本特殊陶業株式会社
電極
19日前
続きを見る
他の特許を見る