TOP
|
特許
|
意匠
|
商標
特許ウォッチ
Twitter
他の特許を見る
10個以上の画像は省略されています。
公開番号
2025159972
公報種別
公開特許公報(A)
公開日
2025-10-22
出願番号
2024062886
出願日
2024-04-09
発明の名称
分析デバイス及び分析デバイスを用いた検査方法
出願人
キヤノン株式会社
代理人
個人
,
個人
,
個人
,
個人
主分類
G01N
35/02 20060101AFI20251015BHJP(測定;試験)
要約
【課題】表面を保護しながら、分注部での分注検体の安定性を維持することが出来、安定した測定が可能な分析デバイスを提供することができる。
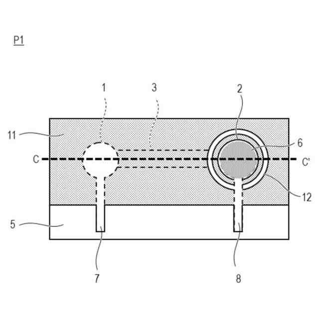
【解決手段】基材の内部あるいは上に設けられた疎水性の流路壁で囲まれた親水性あるいは多孔質の流路領域を有する分析デバイスであって、該分析デバイスの表面には、検体が、分注される分注部と、該分注部を囲むように設けられ、検体が浸透しない規制部材によって覆われた領域Bと、該領域Bの分注部と対向していない側に隣接して形成された領域Aと、が設けられ、該領域Aと該領域Bとの境界には該分析デバイスの厚さ方向に段差が設けられており、該段差が、以下の(i)又は(ii)の何れかの要件を満たす、ことを特徴とする分析デバイス。(i)該領域Aが該領域Bよりも低くなっている。(ii)該領域Aが該領域Bよりも高くなっており、該領域Aが検体が浸透しない規制部材によって覆われている。
【選択図】図1
特許請求の範囲
【請求項1】
基材の内部あるいは上に設けられた疎水性の流路壁で囲まれた親水性あるいは多孔質の流路領域を有する分析デバイスであって、
該分析デバイスの表面には、
該検体が分注される分注部と、
該分注部の周囲に隣接し、該分注部を囲むように設けられ、検体が浸透しない規制部材によって覆われた領域Bと、
該領域Bの分注部と対向していない側に隣接して形成された領域Aと、
が設けられ、
該分析デバイスの表面において、該領域Aと該領域Bとの境界には該分析デバイスの厚さ方向に段差が設けられており、該段差が、以下の(i)又は(ii)の何れかの要件を満たす、ことを特徴とする分析デバイス。
(i)該領域Aが該領域Bよりも低くなっている。
(ii)該領域Aが該領域Bよりも高くなっており、該領域Aが検体が浸透しない規制部材によって覆われている。
続きを表示(約 380 文字)
【請求項2】
前記段差が、前記(i)の要件を満たしており、前記領域Aが、前記規制部材を存在させていない領域であって、ドーナツ状に形成されている、請求項1に記載の分析デバイス。
【請求項3】
前記段差が、前記(i)の要件を満たしており、前記領域Aが、前記規制部材を存在させていない領域を不連続に設けることで形成されている、請求項1に記載の分析デバイス。
【請求項4】
前記段差が、前記(ii)の要件を満たしており、前記領域Aが、ドーナツ状に形成されている、請求項1に記載の分析デバイス。
【請求項5】
請求項1~4のいずれか1項に記載の分析デバイスを用いた検査方法であって、
前記領域Aと前記領域Bとの境界が、検体の分注時において検体が広がる範囲に含まれている、ことを特徴とする検体の検査方法。
発明の詳細な説明
【技術分野】
【0001】
本発明は、基材の内部あるいは上に設けられた疎水性の流路壁で囲まれた親水性あるいは多孔質の流路領域を形成した分析デバイスに関するものである。
続きを表示(約 1,700 文字)
【背景技術】
【0002】
近年、小型サイズの微細流路を利用して、生化学における分析を1つのチップ内で効率的に行うことができる分析デバイスが、幅広い分野で注目されている。具体的には、生化学の研究はもとより、医療、創薬、ヘルスケア、環境、食品などの各分野で注目されている。
【0003】
1990年代前半に、フォトリソグラフィ法や金型などを用いて、ガラスやシリコン上にマイクロメータサイズの微細流路を形成し、サンプルの前処理、撹拌、混合、反応、検出を1チップ上で行う分析デバイスが開発された。その結果、検査システムの小型化や迅速な分析、ならびに検体や廃液の低減などが実現された。
【0004】
電気化学分析は、分析対象となる検体に浸漬した電極間の電位を計測するものであり、医療や環境などの分野において広く使用されている。従来の電気化学分析は、技術者によって高度な機器を用いて行われるため、測定を行うフィールドやリソースがある程度制限される。そのため、医療設備の十分ではない途上国や過疎地ならびに災害現場での医療や、感染症の拡がりを水際で食い止める必要のある空港などでの使用を目的に、安価なうえ、取り扱いが容易で使い捨て可能な、電気化学分析用分析デバイスのニーズが存在する。
【0005】
非特許文献1では、Naイオン及びKイオン濃度に対する濾紙ベースの測定デバイスについて提案されている。このデバイスは、検体を分注するための分注部を持ち、分注された検体が分注部から作用電極及び参照電極それぞれの領域へと浸透することによって、両電極を電気的に接続し、電位差測定が可能となる。また前記デバイスでは、参照電極において安定した電位を得るために、KClイオン結晶を参照電極上に堆積させており、測定時においてKClが検体へ溶解することで、参照電極領域のClイオンを高濃度に保持し、安定した参照電極の電位を得る。さらに、作用電極を被覆するように形成したイオン選択膜で測定対象のイオンのみを選択し、他のイオンの影響を受けずに測定できるようにしている。
【0006】
また特許文献1では、生体試料に含まれる特定タンパク質濃度を測定する方法が開示されている。紙基材に形成した疎水性バリアによって規定される感知領域に蛍光物質を配置し、試料との反応によって発生する蛍光信号を解析することより特定タンパク質濃度を測定するものである。疎水性バリアで形成される感知領域と生体試料分注部が同一の領域であってもよいとされている。
【0007】
また、特許文献2では、測定感度向上のために感知領域と検体分注部が同一の領域であって、検体が必要な部分のみに分注されるように検体分注部の周囲に検体が浸透しない規制部材で覆った構成も提案されている。
【先行技術文献】
【特許文献】
【0008】
特許第6415827号公報
特開2023-48923号公報
【非特許文献】
【0009】
Nipapan Ruecha, Orawon Chailapakul, Koji Suzuki and Daniel Chitterio『Fully Inkjet-Printed Paper-Based Potentiometric Ion-Sensing Devices』Analytical chemistry August 29, 2017 Published, 89, pp.10608-10616
【発明の概要】
【発明が解決しようとする課題】
【0010】
しかしながら、先述の構成では、分注部に分注する検体量が十分に多い場合において、規制部材上を検体が濡れ広がってしまい、分注部に十分な検体量を留めておけない場合があった。更に、分注後にデバイスを搬送する場合などにおいては、搬送の衝撃によって分注部から検体が流れ出てしまう場合もあった。
そのため、搬送などの衝撃があった場合でも、測定に影響が出ないように検体を分注部に十分な量留める必要がある。
(【0011】以降は省略されています)
この特許をJ-PlatPat(特許庁公式サイト)で参照する
関連特許
キヤノン株式会社
容器
1日前
キヤノン株式会社
トナー
17日前
キヤノン株式会社
トナー
17日前
キヤノン株式会社
トナー
17日前
キヤノン株式会社
トナー
22日前
キヤノン株式会社
トナー
4日前
キヤノン株式会社
現像装置
8日前
キヤノン株式会社
電子機器
24日前
キヤノン株式会社
記録装置
1日前
キヤノン株式会社
撮像装置
18日前
キヤノン株式会社
撮像装置
1日前
キヤノン株式会社
撮像装置
1日前
キヤノン株式会社
定着装置
16日前
キヤノン株式会社
記録装置
15日前
キヤノン株式会社
撮影装置
15日前
キヤノン株式会社
電子機器
26日前
キヤノン株式会社
表示装置
29日前
キヤノン株式会社
記録装置
22日前
キヤノン株式会社
発光装置
29日前
キヤノン株式会社
収容装置
1か月前
キヤノン株式会社
電子機器
1か月前
キヤノン株式会社
現像装置
15日前
キヤノン株式会社
現像容器
15日前
キヤノン株式会社
現像装置
15日前
キヤノン株式会社
現像容器
15日前
キヤノン株式会社
定着装置
1か月前
キヤノン株式会社
電子機器
1か月前
キヤノン株式会社
撮像装置
1か月前
キヤノン株式会社
撮像装置
1日前
キヤノン株式会社
定着装置
1か月前
キヤノン株式会社
撮像装置
22日前
キヤノン株式会社
測距装置
10日前
キヤノン株式会社
半導体装置
24日前
キヤノン株式会社
現像剤容器
23日前
キヤノン株式会社
光学センサ
17日前
キヤノン株式会社
モジュール
17日前
続きを見る
他の特許を見る