TOP
|
特許
|
意匠
|
商標
特許ウォッチ
Twitter
他の特許を見る
10個以上の画像は省略されています。
公開番号
2025159894
公報種別
公開特許公報(A)
公開日
2025-10-22
出願番号
2024062736
出願日
2024-04-09
発明の名称
眼科装置、眼科装置の制御方法、及びプログラム
出願人
キヤノン株式会社
代理人
個人
,
個人
,
個人
,
個人
,
個人
主分類
A61B
3/12 20060101AFI20251015BHJP(医学または獣医学;衛生学)
要約
【課題】 観察時の眩しさを低減させることと、観察に適した明るさを得ること。
【解決手段】 本開示の眼科装置は、被検眼に照明光を照明することにより前記被検眼の撮影を行う眼科装置であって、前記被検眼の第1の画像を撮影する場合に、前記照明光を、前記被検眼の第1の領域に照明し、前記被検眼の第2の画像を撮影する場合に、前記第1の領域に照明された照明光の光束の形状とは異なる形状を有する照明光を、前記第1の領域とは形状が異なる第2の領域に照明する照明手段を備える。
【選択図】 図7
特許請求の範囲
【請求項1】
被検眼に照明光を照明することにより前記被検眼の撮影を行う眼科装置であって、
前記被検眼の第1の画像を撮影する場合に、前記照明光を、前記被検眼の第1の領域に照明し、
前記被検眼の第2の画像を撮影する場合に、前記第1の領域に照明された照明光の光束の形状とは異なる形状を有する照明光を、前記第1の領域とは形状が異なる第2の領域に照明する照明手段を備える眼科装置。
続きを表示(約 950 文字)
【請求項2】
前記第1の画像は、眼底を観察するために用いられる動画像であり、前記第2の画像は、眼底を撮影するために用いられる静止画像である請求項1に記載の眼科装置。
【請求項3】
前記照明手段は、前記照明光の光束の形状を変更することにより前記第1の領域と前記第2の領域とを変更する請求項1に記載の眼科装置。
【請求項4】
前記照明手段は、前記照明光の少なくとも一部を遮光又は減光することにより、光束の形状を変更する請求項1に記載の眼科装置。
【請求項5】
前記第1の領域の面積は、前記第2の領域の面積より小さい請求項1に記載の眼科装置。
【請求項6】
前記第1の領域には、前記被検眼の黄斑が含まれず、前記第2の領域には、前記被検眼の黄斑が含まれる請求項1に記載の眼科装置。
【請求項7】
前記照明手段は、前記被検眼の水晶体後面、前記被検眼の眼底、前記被検眼の瞳孔、のいずれかと共役な位置に光束変更手段を有し、
前記光束変更手段が前記照明光の光束の形状を変更することにより前記第1の領域と前記第2の領域とを変更する請求項1に記載の眼科装置。
【請求項8】
前記第1の画像から前記被検眼の特徴部を特定する特定部を更に有し、
前記照明手段は、特定された前記特徴部の位置に基づいて前記照明光の光束の形状を変更することにより前記第1の領域と前記第2の領域とを変更する請求項1に記載の眼科装置。
【請求項9】
前記被検眼の視線の目標位置を表示する固視標を更に有し、
前記照明手段は、前記固視標が表示した目標位置に基づいて前記照明光の光束の形状を変更することにより前記第1の領域と前記第2の領域とを変更する請求項1に記載の眼科装置。
【請求項10】
所定の間隔で交互に撮影された前記第1の画像と前記第2の画像とが重畳された画像を生成する生成手段を更に有し、
前記照明手段は、前記所定の間隔で前記照明光の光束の形状を変更することにより前記第1の領域と前記第2の領域とを変更する請求項1に記載の眼科装置。
(【請求項11】以降は省略されています)
発明の詳細な説明
【技術分野】
【0001】
本開示は、眼科装置、眼科装置の制御方法、及びプログラムに関する。
続きを表示(約 1,700 文字)
【背景技術】
【0002】
現在、眼科の分野において、被検眼の眼底を2次元画像として撮影するための装置として眼底カメラが実用化されている。
【0003】
眼底カメラにおいて、眼底を観察する際は、キセノンランプや、近赤外光または赤外光を出力するLEDなどの光源が使用される。この場合、観察像はモノクロ画像となる。また、眼底を撮影する際は、アークランプや、可視光を出力するLEDなどの光源が使用される。この場合、撮影像はカラー画像となる。一般的に、可視光は赤外光よりも眩しいと感じやすいため、被検眼が可視光の光源により照明された場合には、被検眼が縮瞳してしまう可能性が高い。そのため、観察時は赤外光を用い、撮影時は可視光を用いる眼底カメラが普及している。その一方で、観察像としてモノクロ画像ではなくカラー画像を得たいというニーズも存在する。
【0004】
ここで、特許文献1には、観察時にカラー画像を得る目的で、観察時と撮影時とのどちらも可視光の光源を用いる眼科装置が開示されている。また、特許文献1には、観察時の光量を撮影時の光量よりも減少させることで、観察時の眩しさを低減させる方法が開示されている。
【先行技術文献】
【特許文献】
【0005】
特開2002-17682号公報
【発明の概要】
【発明が解決しようとする課題】
【0006】
ここで、観察時の光量を撮影時の光量よりも減少させる方法では、観察に適した明るさを得られず、眼底が暗くなってしまう可能性がある。
【0007】
そこで、本開示の目的は、観察時の眩しさを低減させることと、観察に適した明るさを得ることである。
【課題を解決するための手段】
【0008】
本開示の眼科装置は、被検眼に照明光を照明することにより前記被検眼の撮影を行う眼科装置であって、前記被検眼の第1の画像を撮影する場合に、前記照明光を、前記被検眼の第1の領域に照明し、前記被検眼の第2の画像を撮影する場合に、前記第1の領域に照明された照明光の光束の形状とは異なる形状を有する照明光を、前記第1の領域とは形状が異なる第2の領域に照明する照明手段を備える。
【発明の効果】
【0009】
本開示によれば、観察時の眩しさを低減させることと、観察に適した明るさを得ることができる。
【図面の簡単な説明】
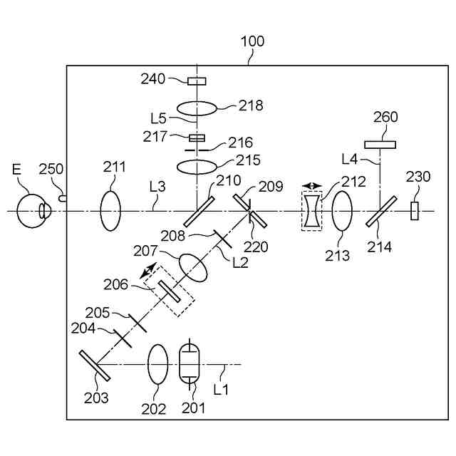
【0010】
実施形態1に係る眼底カメラの概略的な構成を示す模式図である。
実施形態1に係る光学構成を示す模式図である。
実施形態1に係る被検眼との関係を示す模式図である。
実施形態1に係る制御部の一例を示す模式図である。
実施形態1に係る被検眼の照明と縮瞳の関係の一例を示す模式図である。
実施形態1に係る切替え可能な水晶体バッフルの一例を示す模式図である。
実施形態1に係る可視光観察、可視光撮影の一連の処理を示すフローチャートである。
実施形態1に係る水晶体バッフルを切替えた時の光束の変化の一例を示す模式図である。
実施形態2に係る光学構成を示す模式図である。
実施形態2に係る切替え可能なマスクの一例を示す模式図である。
実施形態2に係る可視光観察、可視光撮影の一連の処理を示すフローチャートである。
実施形態2に係るマスクを切替えた時の眼底における遮光領域の変化の一例を示す模式図である。
実施形態2に係るマスクの別の例を示す模式図である。
実施形態3に係る切替え可能な水晶体バッフルの一例を示す模式図である。
実施形態3に係る可視光観察、可視光撮影の一連の処理を示すフローチャートである。
実施形態3に係る水晶体バッフルを切替えた時の光束の変化の一例を示す模式図である。
【発明を実施するための形態】
(【0011】以降は省略されています)
この特許をJ-PlatPat(特許庁公式サイト)で参照する
関連特許
キヤノン株式会社
容器
1日前
キヤノン株式会社
容器
7日前
キヤノン株式会社
トナー
23日前
キヤノン株式会社
トナー
28日前
キヤノン株式会社
トナー
10日前
キヤノン株式会社
トナー
23日前
キヤノン株式会社
トナー
23日前
キヤノン株式会社
現像装置
14日前
キヤノン株式会社
撮像装置
7日前
キヤノン株式会社
撮像装置
7日前
キヤノン株式会社
撮影装置
21日前
キヤノン株式会社
現像装置
21日前
キヤノン株式会社
記録装置
7日前
キヤノン株式会社
現像容器
21日前
キヤノン株式会社
撮像装置
7日前
キヤノン株式会社
現像装置
21日前
キヤノン株式会社
撮像装置
24日前
キヤノン株式会社
記録装置
28日前
キヤノン株式会社
測距装置
16日前
キヤノン株式会社
撮像装置
28日前
キヤノン株式会社
記録装置
21日前
キヤノン株式会社
現像容器
21日前
キヤノン株式会社
表示装置
1日前
キヤノン株式会社
電子機器
1か月前
キヤノン株式会社
定着装置
22日前
キヤノン株式会社
撮像装置
1日前
キヤノン株式会社
半導体装置
1か月前
キヤノン株式会社
現像剤容器
29日前
キヤノン株式会社
モジュール
23日前
キヤノン株式会社
光学センサ
23日前
キヤノン株式会社
印刷システム
9日前
キヤノン株式会社
吐出素子基板
28日前
キヤノン株式会社
光電変換装置
4日前
キヤノン株式会社
画像形成装置
29日前
キヤノン株式会社
画像形成装置
4日前
キヤノン株式会社
画像形成装置
4日前
続きを見る
他の特許を見る