TOP
|
特許
|
意匠
|
商標
特許ウォッチ
Twitter
他の特許を見る
10個以上の画像は省略されています。
公開番号
2025159863
公報種別
公開特許公報(A)
公開日
2025-10-22
出願番号
2024062691
出願日
2024-04-09
発明の名称
意思決定支援装置および意思決定支援方法
出願人
株式会社YE DIGITAL
,
アビームコンサルティング株式会社
代理人
弁理士法人酒井国際特許事務所
主分類
G06Q
10/063 20230101AFI20251015BHJP(計算;計数)
要約
【課題】物流業務における管理者の意思決定をより効率的に支援すること。
【解決手段】実施形態の一態様に係る意思決定支援装置は、制御部を備える。制御部は、物流業務システムから物流業務に関する実績データを収集してデータベースへ蓄積する。また、制御部は、物流業務における意思決定プロセスをガイドするUIを含む意思決定支援UIをユーザへ提供する。また、制御部は、上記意思決定支援UIを介したユーザからの要求に応じた情報である意思決定支援情報を上記実績データに基づいて分析および可視化する。また、制御部は、分析および可視化された上記意思決定支援情報をユーザへ提供する。
【選択図】図1
特許請求の範囲
【請求項1】
物流業務システムから物流業務に関する実績データを収集してデータベースへ蓄積し、
物流業務における意思決定プロセスをガイドするUIを含む意思決定支援UIをユーザへ提供し、
前記意思決定支援UIを介したユーザからの要求に応じた情報である意思決定支援情報を前記実績データに基づいて分析および可視化し、
分析および可視化された前記意思決定支援情報をユーザへ提供する制御部、
を備えることを特徴とする意思決定支援装置。
続きを表示(約 910 文字)
【請求項2】
前記意思決定支援UIは、
物流業務における所定の意思決定シーンごとの意思決定プロセスを手順化したメニューを含む、
請求項1に記載の意思決定支援装置。
【請求項3】
前記意思決定シーンは、少なくとも作業員の配置計画時を含む、
請求項2に記載の意思決定支援装置。
【請求項4】
前記意思決定支援UIは、
前記実績データに含まれる設備データに基づいて分析および可視化された、前記物流業務システムにおける設備の稼働状況を示す表示画面を含む、
請求項1に記載の意思決定支援装置。
【請求項5】
前記表示画面は、前記設備データに基づく前記設備の稼働率および機械能力の対比から推定される前記稼働状況の要因可能性の表示を含む、
請求項4に記載の意思決定支援装置。
【請求項6】
前記制御部は、
前記設備の基準稼働率に対する平均稼働率を前記稼働率として算出し、前記設備の基準処理量に対する実処理量を前記機械能力として算出する、
請求項5に記載の意思決定支援装置。
【請求項7】
前記制御部は、
前記稼働率が前記機械能力より大きい場合、前記稼働率が前記機械能力より小さい場合、前記稼働率および前記機械能力のいずれも閾値より小さい場合ごとの前記要因可能性を推定する、
請求項5または6に記載の意思決定支援装置。
【請求項8】
コンピュータが実行する意思決定支援方法であって、
物流業務システムから物流業務に関する実績データを収集してデータベースへ蓄積することと、
物流業務における意思決定プロセスをガイドするUIを含む意思決定支援UIをユーザへ提供することと、
前記意思決定支援UIを介したユーザからの要求に応じた情報である意思決定支援情報を前記実績データに基づいて分析および可視化することと、
分析および可視化された前記意思決定支援情報をユーザへ提供することと、
を含むことを特徴とする意思決定支援方法。
発明の詳細な説明
【技術分野】
【0001】
開示の実施形態は、意思決定支援装置および意思決定支援方法に関する。
続きを表示(約 1,400 文字)
【背景技術】
【0002】
従来、意思決定支援システムとして、サプライチェーンにおける在庫計画立案の意思決定を支援するシステムが知られている(例えば、特許文献1参照)。
【先行技術文献】
【特許文献】
【0003】
特開2023-136290号公報
【発明の概要】
【発明が解決しようとする課題】
【0004】
しかしながら、上述した従来技術には、物流業務における管理者の意思決定をより効率的に支援するうえで、さらなる改善の余地がある。
【0005】
従来の物流業務においては、例えば倉庫運営における設備や人の稼働実績等、管理者の意思決定に必要となるデータを揃えるための負荷が高く、管理者の負担が大きいという問題があった。さらに、意思決定プロセスは管理者の経験則によるところが大きく、属人化しがちであるという問題もあった。
【0006】
この点、特許文献1に開示の技術は、サプライチェーンにおける在庫計画立案の意思決定を支援するものであり、上述した問題、すなわち物流業務全般に共通する問題の解消のためにそのまま適用することはできない。
【0007】
実施形態の一態様は、上記に鑑みてなされたものであって、物流業務における管理者の意思決定をより効率的に支援することができる意思決定支援装置および意思決定支援方法を提供することを目的とする。
【課題を解決するための手段】
【0008】
実施形態の一態様に係る意思決定支援装置は、制御部を備える。制御部は、物流業務システムから物流業務に関する実績データを収集してデータベースへ蓄積する。また、前記制御部は、物流業務における意思決定プロセスをガイドするUIを含む意思決定支援UIをユーザへ提供する。また、前記制御部は、前記意思決定支援UIを介したユーザからの要求に応じた情報である意思決定支援情報を前記実績データに基づいて分析および可視化する。また、前記制御部は、分析および可視化された前記意思決定支援情報をユーザへ提供する。
【発明の効果】
【0009】
実施形態の一態様によれば、物流業務における管理者の意思決定をより効率的に支援することができる。
【図面の簡単な説明】
【0010】
図1は、実施形態に係る意思決定支援方法の概要説明図である。
図2は、実施形態に係る意思決定支援装置のブロック図である。
図3は、実施形態に係る活用シーン例を示す図である。
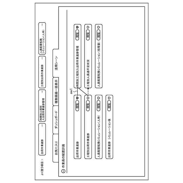
図4は、活用シーン「作業員の配置計画」における意思決定プロセスを手順化したメニューの表示例を示す図である。
図5は、「出荷作業進捗」閲覧時の意思決定支援情報の表示例を示す図である。
図6は、「工程別人員過不足状況」閲覧時の意思決定支援情報の表示例を示す図である。
図7は、「人員配置転換シミュレーション(処理量)」閲覧時の意思決定支援情報の表示例を示す図である。
図8は、設備稼働率に関する意思決定支援情報の表示例を示す図である。
図9は、要因分析結果表示領域の表示例を示す図である。
図10は、要因可能性の推定手順の説明図である。
図11は、意思決定支援装置の機能を実現するコンピュータの一例を示すハードウェア構成図である。
【発明を実施するための形態】
(【0011】以降は省略されています)
この特許をJ-PlatPat(特許庁公式サイト)で参照する
関連特許
個人
詐欺保険
18日前
個人
縁伊達ポイン
18日前
個人
RFタグシート
5日前
個人
QRコードの彩色
22日前
個人
ペルソナ認証方式
2日前
個人
地球保全システム
1か月前
個人
自動調理装置
4日前
個人
為替ポイント伊達夢貯
1か月前
個人
冷凍食品輸出支援構造
1か月前
個人
残土処理システム
24日前
個人
農作物用途分配システム
17日前
個人
表変換編集支援システム
1か月前
個人
インターネットの利用構造
1日前
個人
タッチパネル操作指代替具
11日前
個人
知的財産出願支援システム
25日前
個人
知財出願支援AIシステム
1か月前
個人
スケジュール調整プログラム
10日前
個人
パスワード管理支援システム
1か月前
個人
行動時間管理システム
1か月前
個人
携帯端末障害問合せシステム
10日前
個人
システム及びプログラム
1か月前
個人
海外支援型農作物活用システム
1か月前
個人
エリアガイドナビAIシステム
2日前
株式会社キーエンス
受発注システム
1か月前
株式会社キーエンス
受発注システム
1か月前
株式会社キーエンス
受発注システム
1か月前
個人
食品レシピ生成システム
1か月前
個人
AIキャラクター制御システム
1か月前
トヨタ自動車株式会社
通知装置
8日前
大同特殊鋼株式会社
疵判定方法
1か月前
サクサ株式会社
中継装置
1か月前
個人
冷凍加工連携型農場運用システム
1か月前
個人
帳票自動生成型SaaSシステム
25日前
個人
人格進化型対話応答制御システム
1か月前
個人
未来型家系図構築システム
1か月前
キヤノン株式会社
表示システム
1か月前
続きを見る
他の特許を見る