TOP
|
特許
|
意匠
|
商標
特許ウォッチ
Twitter
他の特許を見る
公開番号
2025159497
公報種別
公開特許公報(A)
公開日
2025-10-21
出願番号
2024062099
出願日
2024-04-08
発明の名称
車載器
出願人
矢崎エナジーシステム株式会社
代理人
弁理士法人栄光事務所
主分類
G08G
1/09 20060101AFI20251014BHJP(信号)
要約
【課題】視界が遮られている後続車両に対して必要十分な情報提供を行うことができる。
【解決手段】制御部53が、自車両10の前方を撮影する前方カメラ2の撮影画像に基づいて自車両10の前方にある信号機31を検出する。制御部53が、後続車両20が自車両10によって信号機31が見えない状況であることを検出する。制御部53が、信号機31が見えない状況であることが検出されると、信号機31の状況を、後続車両20に報知する。
【選択図】図2
特許請求の範囲
【請求項1】
自車両の前方を撮影する前方カメラの撮影画像に基づいて前記自車両の前方にある信号機を検出する第1の検出部と、
後続車両が前記自車両によって前記信号機が見えない状況であることを検出する第2の検出部と、
前記第2の検出部により前記信号機が見えない状況であることが検出されると、前記第1の検出部により検出された前記信号機の状況を、前記後続車両に報知する報知部と、を備えた
車載器。
続きを表示(約 920 文字)
【請求項2】
請求項1に記載の車載器において、
前記報知部は、前記自車両の後方に取り付けた表示器に、前記信号機の状況を表示させる、
車載器。
【請求項3】
請求項1に記載の車載器において、
前記第2の検出部は、前記信号機と前記後続車両の運転者のアイポイントとを結ぶ直線上に前記自車両の車体がある場合、前記信号機が見えない状況であることを検出する、
車載器。
【請求項4】
請求項3に記載の車載器において、
前記信号機の高さ、前記自車両の高さ及び長さが記憶される記憶部を備え、
前記第2の検出部は、
前記自車両の後方を撮影する後方カメラの撮影画像に基づいて、前記後続車両の前記運転者の目の高さ及び前記自車両と前記後続車両との距離を求め、
前記前方カメラの撮影画像に基づいて前記自車両と前記信号機との距離を求め、
(前記信号機の高さ-前記後続車両の前記運転者の目の高さ)/(前記自車両と前記後続車両との距離+前記自車両の長さ+前記自車両と前記信号機との距離)を前記直線の傾きとして求め、
前記直線の傾き×(前記自車両と前記後続車両との距離)が前記自車両の高さより小さい場合、前記信号機が見えない状況であることを検出する、
車載器。
【請求項5】
請求項4に記載の車載器において、
前記第2の検出部は、前記後方カメラの撮影画像に基づいて、前記自車両と前記後続車両との相対速度を求め、求めた前記相対速度に基づいて前記自車両と前記後続車両との前記距離を補正する、
車載器。
【請求項6】
請求項1に記載の車載器において、
前記報知部は、前記信号機が青信号のときは前記信号機の状況を報知しない、
車載器。
【請求項7】
請求項1に記載の車載器において、
前記自車両の後方を撮影する後方カメラの撮像画像に基づいて前記自車両と前記後続車両との距離を求め、前記距離に応じて前記後続車両に報知する報知内容を異ならせる、
車載器。
発明の詳細な説明
【技術分野】
【0001】
本発明は、車載器に関する。
続きを表示(約 1,300 文字)
【背景技術】
【0002】
従来、車両に取り付けた撮像部が撮像した画像に基づき、運転者の視界の一部が妨げられている対象移動体を特定し、画像から得られる情報のうち、対象移動体において妨げられている視界に係る情報である死角情報を特定して出力する制御システムが提案されている(特許文献1)
【0003】
上述した制御システムでは、対象移動体には死角情報が常時、出力されているため対象移動体の運転者にとっては煩わしい、という課題があった。
【先行技術文献】
【特許文献】
【0004】
特開2021-140652号公報
【発明の概要】
【発明が解決しようとする課題】
【0005】
本発明は、上述した事情に鑑みてなされたものであり、その目的は、視界が遮られている後続車両に対して必要十分な情報提供を行うことができる車載器を提供することにある。
【課題を解決するための手段】
【0006】
前述した目的を達成するために、本発明に係る車載器は、下記を特徴としている。
自車両の前方を撮影する前方カメラの撮影画像に基づいて前記自車両の前方にある信号機を検出する第1の検出部と、
後続車両が前記自車両によって前記信号機が見えない状況であることを検出する第2の検出部と、
前記第2の検出部により前記信号機が見えない状況であることが検出されると、前記第1の検出部により検出された前記信号機の状況を、前記後続車両に報知する報知部と、を備えた
車載器であること。
【発明の効果】
【0007】
本発明に係る車載器によれば、視界が遮られている後続車両に対して必要十分な情報提供を行うことができる、との効果を奏する。
【0008】
以上、本発明について簡潔に説明した。更に、以下に説明される発明を実施するための形態(以下、「実施形態」という。)を添付の図面を参照して通読することにより、本発明の詳細は更に明確化されるであろう。
【図面の簡単な説明】
【0009】
図1は、本発明の車載器としてのドライブレコーダの一実施形態を示す構成図である。
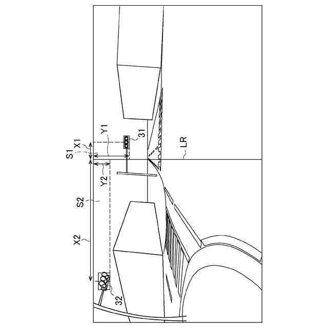
図2は、後続車両から信号機が見えない状況における、図1に示すドライブレコーダを搭載した自車両と、後続車両と、信号機と、の関係を説明するための説明図である。
図3は、後続車両から信号機が見える状況における、図1に示すドライブレコーダを搭載した自車両と、後続車両と、信号機と、の関係を説明するための説明図である。
図4は、図1に示すドライブレコーダを構成する制御部の動作を説明するためのフローチャートである。
図5は、図1に示す制御部が実行する信号機の検出について説明するための説明図である。
図6は、図1に示す後方ディスプレイの表示例を示す図である。
【発明を実施するための形態】
【0010】
本発明に関する具体的な実施形態について、各図を参照しながら以下に説明する。
(【0011】以降は省略されています)
この特許をJ-PlatPat(特許庁公式サイト)で参照する
関連特許
日本精機株式会社
警報システム
1か月前
株式会社SUBARU
車両
14日前
個人
自動電動車椅子
1か月前
スズキ株式会社
運転支援装置
1か月前
エムケー精工株式会社
車両誘導装置
1か月前
ニッタン株式会社
検知器
1か月前
ニッタン株式会社
検知器
21日前
ニッタン株式会社
検知器
1か月前
個人
磁気路上での車両の路線離脱防御
24日前
ニッタン株式会社
検知器
1か月前
ニッタン株式会社
発信機
2か月前
株式会社国際電気
防災システム
1か月前
ニッタン株式会社
発信機
2か月前
トヨタ自動車株式会社
車両
2か月前
日本信号株式会社
異常走行検出装置
28日前
トヨタ自動車株式会社
サーバ
28日前
株式会社SUBARU
運転支援装置
22日前
株式会社小糸製作所
移動体検出装置
1か月前
ダイハツ工業株式会社
移動支援装置
6日前
大阪瓦斯株式会社
音声出力システム
20日前
三菱自動車工業株式会社
制御システム
20日前
日本精機株式会社
報知装置及び報知システム
1か月前
株式会社デンソー
運航管理装置
13日前
株式会社小糸製作所
車両検出システム
1か月前
株式会社CCT
通信装置及び表示方法
21日前
株式会社SUBARU
事故情報収集装置
14日前
能美防災株式会社
火災感知器
1か月前
株式会社 ミックウェア
車内環境制御システム
9日前
個人
現示内容に関する情報放送機能付き信号機
2か月前
本田技研工業株式会社
運転評価装置
2か月前
ホーチキ株式会社
火災検出システム
16日前
ヨシモトポール株式会社
接近報知システム
1か月前
本田技研工業株式会社
情報提供装置
2か月前
本田技研工業株式会社
情報提供装置
2か月前
能美防災株式会社
非常伝達装置
1か月前
本田技研工業株式会社
物体検出装置
2か月前
続きを見る
他の特許を見る