TOP
|
特許
|
意匠
|
商標
特許ウォッチ
Twitter
他の特許を見る
公開番号
2025159441
公報種別
公開特許公報(A)
公開日
2025-10-21
出願番号
2024061989
出願日
2024-04-08
発明の名称
可動式コンプレッサーボックス
出願人
セイコーエプソン株式会社
代理人
個人
,
個人
,
個人
主分類
F04B
41/00 20060101AFI20251014BHJP(液体用容積形機械;液体または圧縮性流体用ポンプ)
要約
【課題】メンテナンスしやすい可動式コンプレッサーボックスを提供する。
【解決手段】可動式コンプレッサーボックス1000は、エアコンプレッサー100と、エアコンプレッサー100を収容する筐体200と、筐体200の側面210に取り付けられた移動用のキャスター300と、を備える。
【選択図】図1
特許請求の範囲
【請求項1】
エアコンプレッサーと、
前記エアコンプレッサーを収容する筐体と、
前記筐体の側面に取り付けられた移動用のキャスターと、
を備える、可動式コンプレッサーボックス。
続きを表示(約 170 文字)
【請求項2】
請求項1に記載の可動式コンプレッサーボックスであって、
前記筐体の底面に取り付けられた防振脚を備える、可動式コンプレッサーボックス。
【請求項3】
請求項1に記載の可動式コンプレッサーボックスであって、
前記キャスターの位置を変更可能なアジャスターを備える、可動式コンプレッサーボックス。
発明の詳細な説明
【技術分野】
【0001】
本発明は、可動式コンプレッサーボックスに関する。
続きを表示(約 1,100 文字)
【背景技術】
【0002】
特許文献1には、空気から微粒子を除去するエアフィルターと、エアフィルターを通過した空気を圧縮する圧縮機と、圧縮機を駆動するモーターと、エアフィルターと圧縮機とモーターとを収容する筐体と、を備えるコンプレッサーの構成が開示されている。コンプレッサーは、固定設置して使用するため、底面に固定脚が設けられている。
【先行技術文献】
【特許文献】
【0003】
特開2019-19752号公報
【発明の概要】
【発明が解決しようとする課題】
【0004】
しかしながら、特許文献1に記載の方法では、コンプレッサーを装置本体の隙間などに配置して使用した後、コンプレッサーを装置本体から引き出してメンテナンスする場合に、固定脚で固定されているため移動しにくかったり、狭い隙間から引き出しにくかったりする、即ち、メンテナンス時に不便であるという課題がある。
【課題を解決するための手段】
【0005】
可動式コンプレッサーボックスは、エアコンプレッサーと、前記エアコンプレッサーを収容する筐体と、前記筐体の側面に取り付けられた移動用のキャスターと、を備える。
【図面の簡単な説明】
【0006】
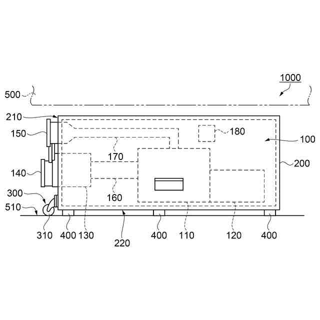
可動式コンプレッサーボックスの構成を示す側面図。
アジャスターの構成を示す斜視図。
可動式コンプレッサーボックスのメンテナンス方法を説明する側面図。
従来の可動式コンプレッサーボックスの構成を示す側面図。
【発明を実施するための形態】
【0007】
まず、図1及び図2を参照しながら、可動式コンプレッサーボックス1000の構成を説明する。
【0008】
図1に示すように、可動式コンプレッサーボックス1000は、エアコンプレッサー100と、エアコンプレッサー100を収容する筐体200と、筐体200の側面210に取り付けられたキャスター300と、を備えている。
【0009】
エアコンプレッサー100は、圧縮機110と、モーター120と、フィルター130と、吸引口140と、排出口150と、第1配管160と、第2配管170と、制御部180と、を備えている。
【0010】
圧縮機110は、ブロアとも呼ばれ、フィルター130を通過した空気を圧縮し、圧縮した空気を排出口150から排出する。モーター120は、圧縮機110と接続されており、圧縮機110を駆動する。モーター120は、圧縮機110と共に、筐体200の下部に配置される。
(【0011】以降は省略されています)
この特許をJ-PlatPat(特許庁公式サイト)で参照する
関連特許
セイコーエプソン株式会社
情報処理装置
1日前
セイコーエプソン株式会社
シート製造装置
1日前
セイコーエプソン株式会社
物理量検出装置及び物理量検出装置の製造方法
1日前
セイコーエプソン株式会社
ボイスコイルモーター、電子機器及び光路変更装置
2日前
個人
海流製造装置。
1か月前
株式会社スギノマシン
圧縮機
16日前
株式会社ツインバード
送風装置
1か月前
株式会社ツインバード
送風装置
1か月前
ダイニチ工業株式会社
空調装置
4か月前
日機装株式会社
遠心ポンプ
8日前
カヤバ株式会社
電動ポンプ
2か月前
ビッグボーン株式会社
送風装置
1か月前
株式会社不二越
蓄圧装置
2か月前
株式会社酉島製作所
ポンプ
3か月前
株式会社ノーリツ
ロータリ圧縮機
1か月前
個人
携帯型扇風機用の送風ノズル
4か月前
株式会社ニクニ
液封式ポンプ装置
4か月前
株式会社ノーリツ
ロータリー圧縮機
3か月前
株式会社不二越
ベーンポンプ
2か月前
小倉クラッチ株式会社
ルーツブロア
2か月前
サンデン株式会社
スクロール圧縮機
22日前
サンデン株式会社
スクロール圧縮機
22日前
サンデン株式会社
スクロール圧縮機
22日前
樫山工業株式会社
真空ポンプ
17日前
株式会社不二越
油圧ユニット
4か月前
株式会社坂製作所
スクロール圧縮機
3か月前
株式会社豊田自動織機
流体機械
1か月前
株式会社島津製作所
真空ポンプ
2か月前
株式会社チロル
送風機、送風機付衣服
2か月前
株式会社島津製作所
真空ポンプ
1か月前
エドワーズ株式会社
真空ポンプ
1か月前
個人
連結式螺旋翼体及び流体移送装置
4か月前
株式会社アイシン
ポンプケース
29日前
株式会社コスメック
ピストン型ポンプ
4か月前
株式会社豊田自動織機
電動圧縮機
2か月前
株式会社神戸製鋼所
ターボ圧縮機
4か月前
続きを見る
他の特許を見る