TOP
|
特許
|
意匠
|
商標
特許ウォッチ
Twitter
他の特許を見る
10個以上の画像は省略されています。
公開番号
2025159352
公報種別
公開特許公報(A)
公開日
2025-10-20
出願番号
2025048872
出願日
2025-03-24
発明の名称
端末及び通信方法
出願人
株式会社NTTドコモ
代理人
弁理士法人ITOH
主分類
H04W
72/0446 20230101AFI20251010BHJP(電気通信技術)
要約
【課題】省電力状態に遷移可能な基地局から送信されるオンデマンドSSB(SS/PBCH Block)に係るタイミングを決定すること。
【解決手段】端末は、オンデマンドSSB(SS/PBCH Block)のアダプテーションに係る設定を基地局から受信する受信部と、前記アダプテーションに係る設定に基づいて、特定のSCS(SubCarrier Spacing)を参照してアダプテーションされたオンデマンドSSBの送信開始を想定するタイミングを決定する制御部とを有し、前記受信部は、前記アダプテーションされたオンデマンドSSBを前記タイミングに基づいて受信する。
【選択図】図11
特許請求の範囲
【請求項1】
オンデマンドSSB(SS/PBCH Block)のアダプテーションに係る設定を基地局から受信する受信部と、
前記アダプテーションに係る設定に基づいて、特定のSCS(SubCarrier Spacing)を参照してアダプテーションされたオンデマンドSSBの送信開始を想定するタイミングを決定する制御部とを有し、
前記受信部は、前記アダプテーションされたオンデマンドSSBを前記タイミングに基づいて受信する端末。
続きを表示(約 660 文字)
【請求項2】
前記制御部は、セカンダリセルの状態に基づいて、前記特定のSCSを参照し前記タイミングを決定する請求項1記載の端末。
【請求項3】
前記制御部は、セカンダリセルをアクティベーションする前に、前記特定のSCSとしてプライマリセルに係るSSBのSCSを参照し前記タイミングを決定する請求項1記載の端末。
【請求項4】
前記制御部は、セカンダリセルをアクティベーションした後に、前記特定のSCSとして前記セカンダリセルに係るSSBのSCSを参照し前記タイミングを決定する請求項1記載の端末。
【請求項5】
前記制御部は、セカンダリセルのディアクティベーションに係る動作によりオンデマンドSSBの暗黙的ディアクティベーションが実行されたとき、前記セカンダリセルに係るSSBのSCSを参照し前記アダプテーションされたオンデマンドSSBの送信終了を想定するタイミングを決定する請求項1記載の端末。
【請求項6】
オンデマンドSSB(SS/PBCH Block)のアダプテーションに係る設定を基地局から受信する手順と、
前記アダプテーションに係る設定に基づいて、特定のSCS(SubCarrier Spacing)を参照してアダプテーションされたオンデマンドSSBの送信開始を想定するタイミングを決定する手順と、
前記アダプテーションされたオンデマンドSSBを前記タイミングに基づいて受信する手順とを端末が実行する通信方法。
発明の詳細な説明
【技術分野】
【0001】
本発明は、無線通信システムにおける端末及び通信方法に関する。
続きを表示(約 2,400 文字)
【背景技術】
【0002】
LTE(Long Term Evolution)の後継システムであるNR(New Radio)(「5G」ともいう。)においては、要求条件として、大容量のシステム、高速なデータ伝送速度、低遅延、多数の端末の同時接続、低コスト、省電力等を満たす技術が検討されている(例えば非特許文献1)。
【0003】
また、3GPP(登録商標)のリリース18では、環境持続可能性、カーボンニュートラル、SDGs(Sustainable Development Goals)、運用コストの低減等を達成するため、ネットワークにおける省電力化(Network energy savings)が重要性を増し、省電力化する手法が検討されている(例えば非特許文献2)。
【先行技術文献】
【非特許文献】
【0004】
3GPP TS 38.300 V18.0.0 (2023-12)
"New WID: Network energy savings for NR", RP-223540, 3GPP TSG RAN Meeting #98-e, 2022年12月
3GPP TS 38.331 V18.0.0 (2023-12)
3GPP TS 38.211 V18.1.0 (2023-12)
3GPP TS 38.213 V18.1.0 (2023-12)
3GPP TS 38.133 V18.4.0 (2023-12)
【発明の概要】
【発明が解決しようとする課題】
【0005】
カーボンニュートラルとSDGsを達成するため、基地局の消費電力を節約することの重要性が高まっており、基地局における間欠送受信を導入することが検討されている。省電力状態(エナジーセービング、Energy saving、ES)をサポートするセルにおいて、オンデマンドSSB(SS/PBCH Block)を使用する場合、オンデマンドSSB送信開始タイミング及び送信終了タイミング等について決定する必要がある。
【0006】
本発明は上記の点に鑑みてなされたものであり、省電力状態に遷移可能な基地局から送信されるオンデマンドSSB(SS/PBCH Block)に係るタイミングを決定することを目的とする。
【課題を解決するための手段】
【0007】
開示の技術によれば、オンデマンドSSB(SS/PBCH Block)のアダプテーションに係る設定を基地局から受信する受信部と、前記アダプテーションに係る設定に基づいて、特定のSCS(SubCarrier Spacing)を参照してアダプテーションされたオンデマンドSSBの送信開始を想定するタイミングを決定する制御部とを有し、前記受信部は、前記アダプテーションされたオンデマンドSSBを前記タイミングに基づいて受信する端末が提供される。
【発明の効果】
【0008】
開示の技術によれば、省電力状態に遷移可能な基地局から送信されるオンデマンドSSB(SS/PBCH Block)に係るタイミングを決定することができる。
【図面の簡単な説明】
【0009】
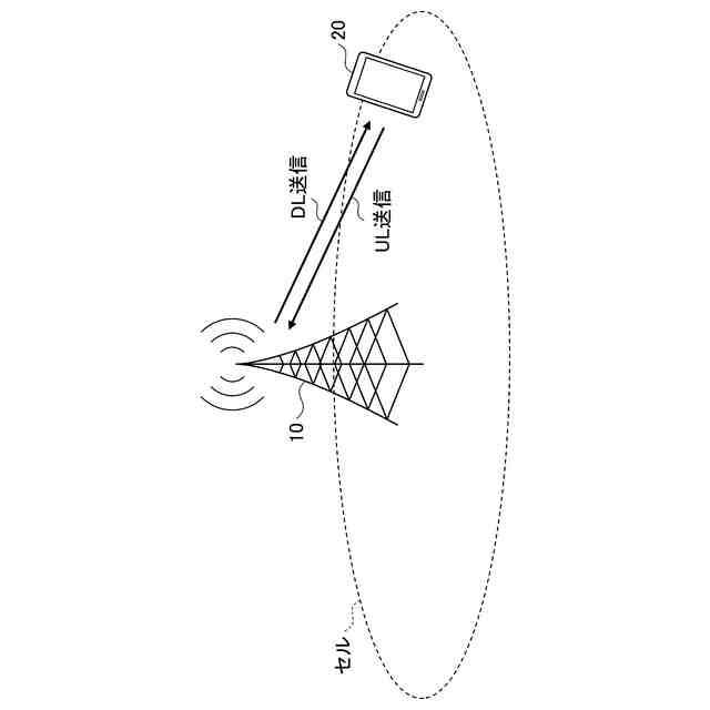
本発明の実施の形態に係る無線通信システムについて説明するための図である。
NRリリース15におけるCDRXについて説明するための図である。
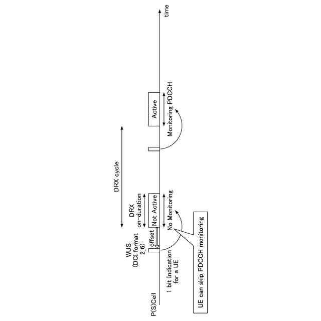
NRリリース16におけるWUSについて説明するための図である。
本発明の実施の形態の実施例1に係る基地局の間欠受信について説明するための図である。
本発明の実施の形態の実施例1に係る各パラメータについて説明するための図である。
本発明の実施の形態の実施例5に係る基地局の間欠送信について説明するための図である。
本発明の実施の形態の実施例5に係る各パラメータについて説明するための図である。
本発明の実施の形態の実施例9に係るOSI送信の例(1)を説明するためのシーケンス図である。
本発明の実施の形態の実施例9に係るOSI送信の例(2)を説明するためのシーケンス図である。
本発明の実施の形態の実施例9に係るオンデマンドSSBの例を示す図である。
本発明の実施の形態の実施例10に係るSSBアダプテーションの例(1)を説明するためのフローチャートである。
本発明の実施の形態の実施例10に係るSSBアダプテーションの例(2)を説明するためのフローチャートである。
本発明の実施の形態の実施例10に係るSSBアダプテーションの例(3)を説明するためのフローチャートである。
本発明の実施の形態の実施例10に係るSSBアダプテーションの例(4)を説明するためのフローチャートである。
本発明の実施の形態の実施例10に係るSSBアダプテーションの例(5)を説明するためのフローチャートである。
本発明の実施の形態に係る基地局の機能構成の一例を示す図である。
本発明の実施の形態に係る端末の機能構成の一例を示す図である。
本発明の実施の形態に係る基地局又は端末のハードウェア構成の一例を示す図である。
本発明の実施の形態に係る車両の構成の一例を示す図である。
【発明を実施するための形態】
【0010】
以下、図面を参照して本発明の実施の形態を説明する。なお、以下で説明する実施の形態は一例であり、本発明が適用される実施の形態は、以下の実施の形態に限られない。
(【0011】以降は省略されています)
特許ウォッチbot のツイートを見る
この特許をJ-PlatPat(特許庁公式サイト)で参照する
関連特許
株式会社NTTドコモ
移動通信端末
11日前
株式会社NTTドコモ
端末及び通信方法
今日
株式会社NTTドコモ
端末及び通信方法
今日
株式会社NTTドコモ
端末及び通信方法
3日前
株式会社NTTドコモ
管理装置及び管理方法
3日前
株式会社NTTドコモ
管理装置及び管理方法
3日前
株式会社NTTドコモ
管理装置及び管理方法
3日前
株式会社NTTドコモ
生成システム及び生成方法
10日前
株式会社NTTドコモ
測位支援装置及び測位支援方法
5日前
株式会社NTTドコモ
電力監視装置、及び、電力監視方法
5日前
株式会社NTTドコモ
太陽電池の配置支援装置及び太陽電池の配置支援方法
3日前
株式会社NTTドコモ
端末
5日前
株式会社NTTドコモ
通信制御方法、端末、通信制御装置、通信制御システム、通信制御プログラム
10日前
株式会社NTTドコモ
端末、無線通信システム及び無線通信方法
5日前
株式会社NTTドコモ
端末、無線通信方法、基地局及びシステム
12日前
個人
イヤーピース
10日前
個人
イヤーマフ
24日前
個人
監視カメラシステム
1か月前
キーコム株式会社
光伝送線路
1か月前
個人
スイッチシステム
18日前
サクサ株式会社
中継装置
1か月前
サクサ株式会社
中継装置
1か月前
個人
スキャン式車載用撮像装置
1か月前
WHISMR合同会社
収音装置
2か月前
キヤノン株式会社
撮像装置
2か月前
アイホン株式会社
電気機器
2か月前
個人
映像表示装置、及びARグラス
19日前
株式会社リコー
画像形成装置
2か月前
キヤノン電子株式会社
画像読取装置
2か月前
サクサ株式会社
無線通信装置
1か月前
個人
ワイヤレスイヤホン対応耳掛け
1か月前
キヤノン電子株式会社
画像読取装置
18日前
サクサ株式会社
無線通信装置
1か月前
株式会社リコー
画像形成装置
2か月前
キヤノン電子株式会社
画像読取装置
10日前
株式会社リコー
画像形成装置
26日前
続きを見る
他の特許を見る