TOP
|
特許
|
意匠
|
商標
特許ウォッチ
Twitter
他の特許を見る
10個以上の画像は省略されています。
公開番号
2025159085
公報種別
公開特許公報(A)
公開日
2025-10-17
出願番号
2025133048,2024507343
出願日
2025-08-08,2022-03-17
発明の名称
半導体素子及び半導体素子の製造方法
出願人
三菱電機株式会社
代理人
弁理士法人ぱるも特許事務所
主分類
H01S
5/227 20060101AFI20251009BHJP(基本的電気素子)
要約
【課題】周波数帯域が広く、かつ、高い発光効率で動作可能な半導体素子を得る。
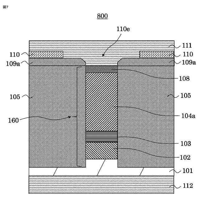
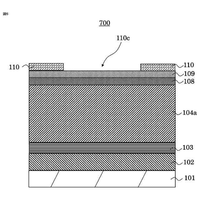
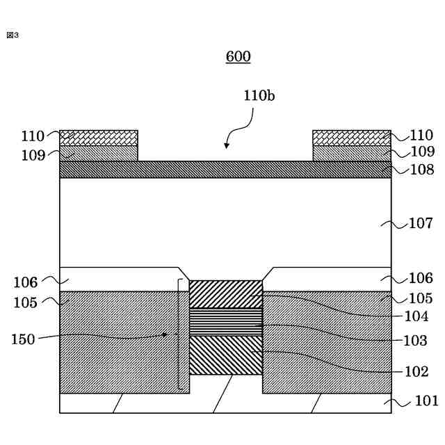
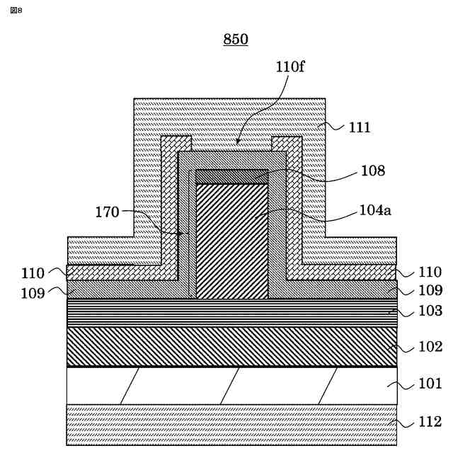
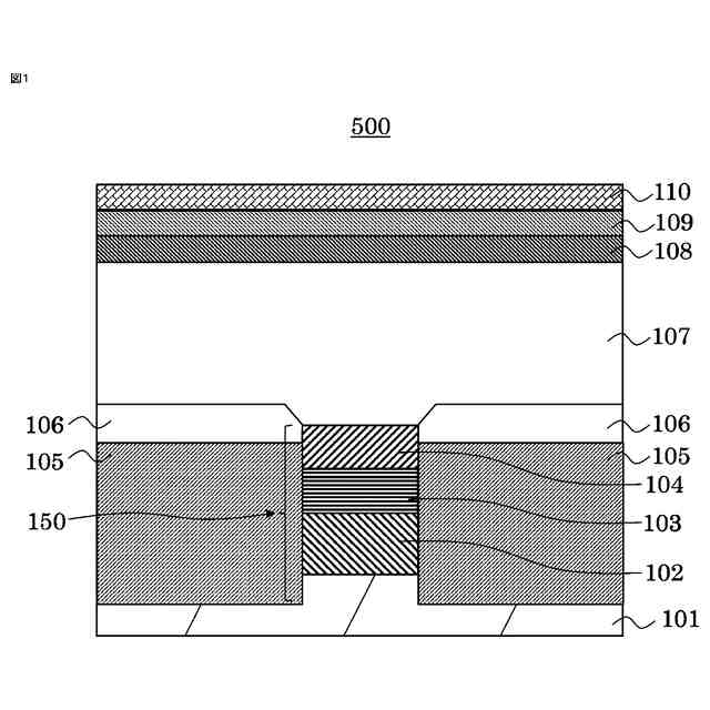
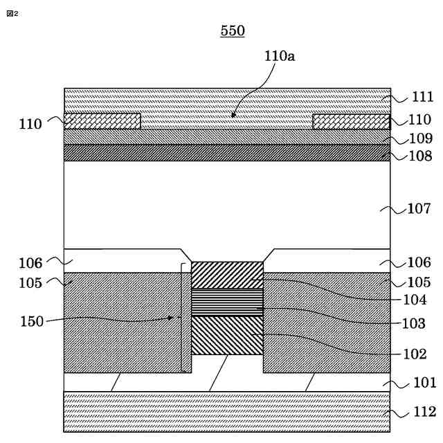
【解決手段】本開示の半導体素子500は、半導体基板101と、半導体基板101上に形成された第1導電型の第1半導体層102、活性層103、第2導電型の半導体層104からなる積層半導体層がストライプ状に形成されたメサ構造150と、メサ構造150の両側面に埋め込まれた埋込層105、106と、埋込層105、106上に形成された第1導電型の第2半導体層109と、第1導電型の第2半導体層109に接して形成された絶縁膜110と、を備える。
【選択図】図1
特許請求の範囲
【請求項1】
半導体基板と、
前記半導体基板上に形成された第1導電型の第1半導体層、活性層、第2導電型の半導体層からなる積層半導体層がストライプ状に形成されたメサ構造と、
前記メサ構造の両側面に埋め込まれた埋込層と、
前記埋込層上に形成された第1導電型の第2半導体層と、
前記第1導電型の第2半導体層に接して形成された絶縁膜と、
を備える半導体素子。
続きを表示(約 900 文字)
【請求項2】
前記メサ構造の上面側に前記第1導電型の第2半導体層がさらに形成されることを特徴する請求項1に記載の半導体素子。
【請求項3】
前記メサ構造の頂面に対向する前記絶縁膜の部位に開口部が設けられ、前記開口部の底部に前記第1導電型の第2半導体層が露出していることを特徴とする請求項2に記載の半導体素子。
【請求項4】
前記メサ構造の頂面に対向する前記絶縁膜及び前記第1導電型の第2半導体層の部位に開口部が設けられることを特徴とする請求項2に記載の半導体素子。
【請求項5】
前記メサ構造及び前記埋込層を含む領域がさらにメサ形状を呈することを特徴とする請求項4に記載の半導体素子。
【請求項6】
前記第2導電型の半導体層と前記第1導電型の第2半導体層との間に、さらに第2導電型のクラッド層及び第2導電型のコンタクト層が形成されることを特徴とする請求項1から4のいずれか1項に記載の半導体素子。
【請求項7】
半導体基板と、
前記半導体基板上に順次形成された第1導電型の第1半導体層及び活性層と、前記活性層上に形成された少なくとも第2導電型の半導体層がストライプ状に形成されたリッジ構造と、
前記リッジ構造を覆うように形成された第1導電型の第2半導体層と、
前記第1導電型の第2半導体層に接して形成された絶縁膜と、
を備える半導体素子。
【請求項8】
前記リッジ構造の上面側の前記絶縁膜の部位に開口部が設けられることを特徴とする請求項7に記載の半導体素子。
【請求項9】
前記リッジ構造の上面側の前記絶縁膜及び前記第1導電型の第2半導体層の部位に開口部が設けられることを特徴とする請求項7に記載の半導体素子。
【請求項10】
前記絶縁膜が第1絶縁膜及び第2絶縁膜で構成され、前記第1絶縁膜はプラズマCVD絶縁膜からなることを特徴とする請求項1から5、7から9のいずれか1項に記載の半導体素子。
(【請求項11】以降は省略されています)
発明の詳細な説明
【技術分野】
【0001】
本開示は、半導体素子及び半導体素子の製造方法に関する。
続きを表示(約 2,400 文字)
【背景技術】
【0002】
光通信の用途に用いられるInP系半導体レーザーでは、通信の大容量化に対応するために、素子単体での変調周波数の広帯域化が要求される。また、光通信システム全体の消費電力を低減するために、素子単体での発光効率の向上が要求される。周波数帯域及び発光効率のいずれにおいても半導体素子の素子抵抗が大きく影響するが、電子及びホールにおいてはホールの方が移動度は小さく、半導体層の素子抵抗の中では、p型半導体層の抵抗が半導体層全体の抵抗に対して大きな割合を占める。
【0003】
上述の事情を考慮し、光通信用のInP系半導体レーザーでは、電流経路の長い部分に低抵抗であるn型半導体層を適用するために、一般にn型の半導体基板が用いられる。つまり、n型半導体基板が素子の裏面側、p型半導体層が素子の表面側に位置することになる。
【先行技術文献】
【非特許文献】
【0004】
J Chevallier, A Jalil, B Theys, J C Pesant, M Aucouturier, B Rose and A Mircea、“Hydrogen passivation of shallow acceptors in p-type InP”、Semicond. Sci. Technol. 4 (1989) pp.87-90
Hiroshi Ito, Shoji Yamahata, Naoteru Shigekawa and Kenji Kurishima、“Heavily Carbon Doped Base InP/InGaAs Heterojunction Bipolar Transistors Grown by Two-Step Metalorganic Chemical Vapor Deposition”、Jpn. J. Appl. Phys.、vol.35 (1996) pp.6139-6144
【発明の概要】
【発明が解決しようとする課題】
【0005】
上述のとおり、光通信用のInP系半導体レーザーでは素子の表面側にp型半導体層が形成される構成が一般的である。素子の表面側には半導体層の表面保護のために絶縁膜が形成される。絶縁膜に対して要求される特性として、半導体表面での段差被覆性が良好であること、緻密な膜質であることなどが挙げられる。これらの要求に対応できる絶縁膜の成膜技術として、プラズマCVD(Plasma Chemical Vapor Deposition)法を用いることが一般的である。
【0006】
しかしながら、半導体層の表面保護を目的とした絶縁膜の成膜方法としてプラズマCVD法を用いた場合、絶縁膜の成膜中に発生する水素ラジカルから絶縁膜の内部に水素が入り込まれてしまうという現象が発生する。絶縁膜中に取り込まれた水素は、成膜後の製造工程におけるアニールなどのプロセス中に、p型半導体層中に拡散するおそれがあった。さらに、素子完成後の半導体素子の保存、動作、使用環境などの条件によっても、p型半導体層中に水素が拡散するおそれがあった。
【0007】
非特許文献1では、p型半導体層中の水素がキャリア濃度低下を引き起こすことが指摘されている。p型半導体層のキャリア濃度の低下は半導体素子の素子抵抗の増大に直結するため、プロセス、保存、動作、使用環境などの条件のばらつきによって素子特性がばらついてしまうおそれがあった。また、半導体層中の水素は比較的容易に動くことが知られており、最悪の場合は半導体素子の長期信頼性に影響することも懸念される。一方、非特許文献2には、半導体層の表面にn型半導体層を設けることで、絶縁膜からのp型半導体層中への水素の拡散が抑制できることが記載されている。
【0008】
本開示は、上記のような問題点を解消するためになされたもので、絶縁膜からp型半導体層中への水素の拡散を抑制して半導体素子の素子抵抗の増大を防止することにより、周波数帯域が広く、かつ、高い発光効率で動作可能な半導体素子を提供することを目的とする。
【課題を解決するための手段】
【0009】
本開示に係る半導体素子は、
半導体基板と、
前記半導体基板上に形成された第1導電型の第1半導体層、活性層、第2導電型の半導体層からなる積層半導体層がストライプ状に形成されたメサ構造と、
前記メサ構造の両側面に埋め込まれた埋込層と、
前記埋込層上に形成された第1導電型の第2半導体層と、
前記第1導電型の第2半導体層に接して形成された絶縁膜と、を備える。
【0010】
本開示に係る半導体素子の製造方法は、
半導体基板上に第1導電型の第1半導体層、活性層、第2導電型の半導体層を順次結晶成長して積層半導体層を形成する第1結晶成長工程と、
前記積層半導体層をストライプ状のメサ構造に加工するメサ構造形成工程と、
前記メサ構造の両側面に埋込層を結晶成長する第2結晶成長工程と、
前記埋込層上に第1導電型の第2半導体層を含む半導体層を結晶成長する第3結晶成長工程と、
前記第1導電型の第2半導体層上にプラズマCVD法によって絶縁膜を成膜する絶縁膜形成工程と、
前記メサ構造の頂面に対向する前記絶縁膜の部位に開口部を形成する開口部形成工程と、を含む。
【発明の効果】
(【0011】以降は省略されています)
この特許をJ-PlatPat(特許庁公式サイト)で参照する
関連特許
三菱電機株式会社
換気扇
5日前
三菱電機株式会社
換気扇
5日前
三菱電機株式会社
換気扇
5日前
三菱電機株式会社
収集装置
3日前
三菱電機株式会社
電子機器
6日前
三菱電機株式会社
半導体装置
11日前
三菱電機株式会社
照明システム
11日前
三菱電機株式会社
誘導加熱調理器
5日前
三菱電機株式会社
電動機制御装置
17日前
三菱電機株式会社
換気空調システム
21日前
三菱電機株式会社
レンズモジュール
3日前
三菱電機株式会社
電流切替型DAC
11日前
三菱電機株式会社
全館空調システム
3日前
三菱電機株式会社
照明制御システム
18日前
三菱電機株式会社
保護継電器及び配電盤
5日前
三菱電機株式会社
点灯装置および照明器具
3日前
三菱電機株式会社
測位システムおよび固定局
4日前
三菱電機株式会社
車両空調機用診断システム
6日前
三菱電機株式会社
半導体ウェハの外観検査装置
4日前
三菱電機株式会社
監視装置、および監視システム
12日前
三菱電機株式会社
加熱調理器及び加熱調理システム
12日前
三菱電機株式会社
換気装置、送風装置および制御装置
11日前
三菱電機株式会社
照明器具および照明器具の製造方法
13日前
三菱電機株式会社
照明制御装置および照明制御システム
17日前
三菱電機株式会社
インバータ装置およびモータ駆動装置
19日前
三菱電機株式会社
選択支援装置、方法、及びプログラム
10日前
三菱電機株式会社
半導体装置および半導体装置の製造方法
13日前
三菱電機株式会社
ゲート制御型ダイオードおよび電子回路
3日前
三菱電機株式会社
設計支援システム及び設計支援プログラム
11日前
三菱電機株式会社
制御装置、制御方法、および、プログラム
3日前
三菱電機株式会社
冷凍装置を備えた機器およびショーケース
10日前
三菱電機株式会社
学習環境提案装置および学習環境提案方法
3日前
三菱電機株式会社
電力変換装置および電力変換装置の制御方法
17日前
三菱電機株式会社
半導体検査装置および半導体装置の製造方法
19日前
三菱電機株式会社
情報処理装置、プログラム及び情報処理方法
11日前
三菱電機株式会社
監視システム、監視方法及び監視プログラム
11日前
続きを見る
他の特許を見る