TOP
|
特許
|
意匠
|
商標
特許ウォッチ
Twitter
他の特許を見る
公開番号
2025158991
公報種別
公開特許公報(A)
公開日
2025-10-17
出願番号
2025124178,2021194651
出願日
2025-07-24,2021-11-30
発明の名称
基板搬送装置
出願人
東京エレクトロン株式会社
代理人
弁理士法人ITOH
主分類
H01L
21/677 20060101AFI20251009BHJP(基本的電気素子)
要約
【課題】搬送精度を向上する基板搬送装置を提供する。
【解決手段】精度要求領域と、前記精度要求領域以外の領域である搬送領域と、を有する搬送室に設けられ、コイル及びホール素子を有するタイル形状ユニットが複数配列された平面モータと、永久磁石を有し、前記タイル形状ユニット上を移動して基板を搬送する搬送ユニットと、前記平面モータ全体の温度分布を計測するための温度センサと、前記搬送室の天井に設けられ、前記精度要求領域内の前記タイル形状ユニットの温度分布を検出するサーモカメラと、前記ホール素子の温度及び前記ホール素子の検出値に基づいて前記搬送ユニットの位置を推定する制御部と、を備え、前記精度要求領域は、載置台に前記基板を受け渡す及び/又は受け取る際の前記搬送ユニットの位置を含み、前記制御部は、前記サーモカメラで撮像した前記タイル形状ユニットの温度分布に基づいて、前記精度要求領域内の前記ホール素子の温度を推定する、基板搬送装置。
【選択図】図4
特許請求の範囲
【請求項1】
精度要求領域と、前記精度要求領域以外の領域である搬送領域と、を有する搬送室に設けられ、コイル及びホール素子を有するタイル形状ユニットが複数配列された平面モータと、
永久磁石を有し、前記タイル形状ユニット上を移動して基板を搬送する搬送ユニットと、
前記平面モータ全体の温度分布を計測するための温度センサと、
前記搬送室の天井に設けられ、前記精度要求領域内の前記タイル形状ユニットの温度分布を検出するサーモカメラと、
前記ホール素子の温度及び前記ホール素子の検出値に基づいて前記搬送ユニットの位置を推定する制御部と、を備え、
前記精度要求領域は、載置台に前記基板を受け渡す及び/又は受け取る際の前記搬送ユニットの位置を含み、
前記制御部は、
前記サーモカメラで撮像した前記タイル形状ユニットの温度分布に基づいて、前記精度要求領域内の前記ホール素子の温度を推定する、
基板搬送装置。
発明の詳細な説明
【技術分野】
【0001】
本発明は、基板搬送装置に関する。
続きを表示(約 1,400 文字)
【背景技術】
【0002】
特許文献1には、搬送室内に設けられた平面モータ上で磁気浮上し、基板を搬送する搬送ユニットを備える基板搬送装置が開示されている。
【先行技術文献】
【特許文献】
【0003】
特開2021-86986号公報
【発明の概要】
【発明が解決しようとする課題】
【0004】
一の側面では、搬送精度を向上する基板搬送装置を提供することを目的とする。
【課題を解決するための手段】
【0005】
上記課題を解決するために、一の態様によれば、精度要求領域と、前記精度要求領域以外の領域である搬送領域と、を有する搬送室に設けられ、コイル及びホール素子を有するタイル形状ユニットが複数配列された平面モータと、永久磁石を有し、前記タイル形状ユニット上を移動して基板を搬送する搬送ユニットと、前記平面モータ全体の温度分布を計測するための温度センサと、前記搬送室の天井に設けられ、前記精度要求領域内の前記タイル形状ユニットの温度分布を検出するサーモカメラと、前記ホール素子の温度及び前記ホール素子の検出値に基づいて前記搬送ユニットの位置を推定する制御部と、を備え、前記精度要求領域は、載置台に前記基板を受け渡す及び/又は受け取る際の前記搬送ユニットの位置を含み、前記制御部は、前記サーモカメラで撮像した前記タイル形状ユニットの温度分布に基づいて、前記精度要求領域内の前記ホール素子の温度を推定する、基板搬送装置が提供される。
【発明の効果】
【0006】
一の側面によれば、搬送精度を向上する基板搬送装置を提供することができる。
【図面の簡単な説明】
【0007】
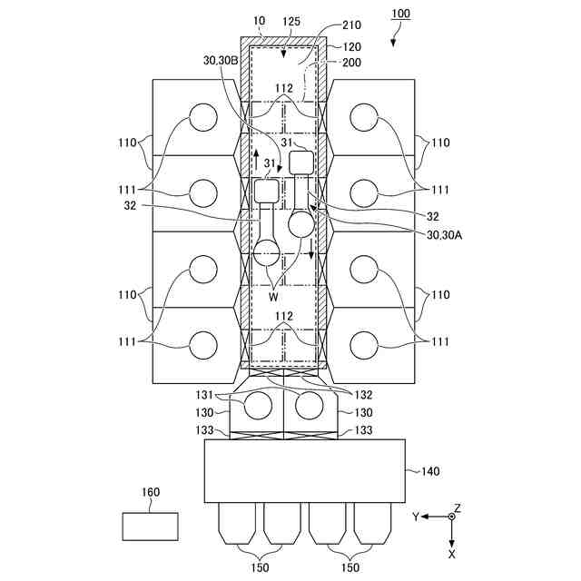
一実施形態に係る基板処理システムの一例の構成を示す平面図。
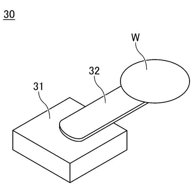
一実施形態に係る搬送ユニットの一例を示す斜視図。
基板搬送装置の駆動原理を説明する斜視図。
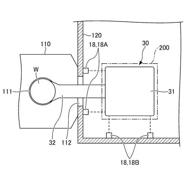
温度センサの配置を示す平面図の一例。
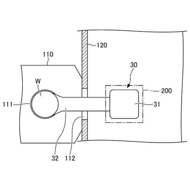
精度要求領域におけるタイル内の温度センサの配置を説明する平面図の一例。
制御部の機能ブロック図の一例。
載置台に基板を載置する際の搬送ユニットの位置合わせを説明する平面図の一例。
載置台に基板を載置する際の搬送ユニットの位置合わせを説明する平面図の他の一例。
【発明を実施するための形態】
【0008】
以下、図面を参照して本開示を実施するための形態について説明する。各図面において、同一構成部分には同一符号を付し、重複した説明を省略する場合がある。
【0009】
<基板処理システム100>
一実施形態に係る基板処理システム100の全体構成の一例について、図1を用いて説明する。図1は、一実施形態に係る基板処理システム100の一例の構成を示す平面図である。
【0010】
図1に示す基板処理システム100は、クラスタ構造(マルチチャンバタイプ)のシステムである。基板処理システム100は、複数の処理室110と、真空搬送室120と、ロードロック室130と、大気搬送室140と、ロードポート150と、制御部160と、を備えている。なお、図1において、真空搬送室120の長手方向をX方向とし、真空搬送室120の短手方向(幅方向)をY方向とし、真空搬送室120の高さ方向をZ方向として説明する。
(【0011】以降は省略されています)
この特許をJ-PlatPat(特許庁公式サイト)で参照する
関連特許
東ソー株式会社
絶縁電線
2日前
日本発條株式会社
積層体
25日前
個人
フレキシブル電気化学素子
14日前
ローム株式会社
半導体装置
23日前
日新イオン機器株式会社
イオン源
10日前
個人
防雪防塵カバー
25日前
ローム株式会社
半導体装置
16日前
株式会社ユーシン
操作装置
14日前
ローム株式会社
半導体装置
1日前
ローム株式会社
半導体装置
21日前
ローム株式会社
半導体装置
23日前
ローム株式会社
半導体装置
23日前
太陽誘電株式会社
コイル部品
14日前
株式会社ホロン
冷陰極電子源
8日前
オムロン株式会社
電磁継電器
15日前
株式会社ホロン
冷陰極電子源
21日前
株式会社GSユアサ
蓄電設備
14日前
株式会社GSユアサ
蓄電装置
25日前
株式会社GSユアサ
蓄電設備
14日前
太陽誘電株式会社
全固体電池
21日前
株式会社GSユアサ
蓄電装置
21日前
個人
半導体パッケージ用ガラス基板
24日前
トヨタ自動車株式会社
蓄電装置
14日前
TDK株式会社
電子部品
21日前
日本特殊陶業株式会社
保持装置
21日前
日本特殊陶業株式会社
保持装置
21日前
ローム株式会社
電子装置
25日前
日本特殊陶業株式会社
保持装置
23日前
日東電工株式会社
積層体
15日前
サクサ株式会社
電池の固定構造
14日前
トヨタ自動車株式会社
二次電池
25日前
ノリタケ株式会社
熱伝導シート
14日前
日本特殊陶業株式会社
保持装置
25日前
日本特殊陶業株式会社
保持装置
3日前
トヨタ自動車株式会社
バッテリ
15日前
トヨタ自動車株式会社
冷却構造
2日前
続きを見る
他の特許を見る