TOP
|
特許
|
意匠
|
商標
特許ウォッチ
Twitter
他の特許を見る
10個以上の画像は省略されています。
公開番号
2025158946
公報種別
公開特許公報(A)
公開日
2025-10-17
出願番号
2025061290
出願日
2025-04-02
発明の名称
車線接続データを使用して交通渋滞車線を推定する方法及びシステム
出願人
トヨタ自動車株式会社
代理人
個人
,
個人
,
個人
,
個人
,
個人
,
個人
,
個人
主分類
G08G
1/01 20060101AFI20251009BHJP(信号)
要約
【課題】車線レベル交通渋滞を推定するシステムが提供される。
【解決手段】システムは、1つ以上のプロセッサを含み、当該1つ以上のプロセッサは、マップに基づいて、第1の道路リンク、第1の道路リンクに接続された第2の道路リンク、及び第1の道路リンクに接続された第3の道路リンクを取得し、車両の運転データに基づいて、第1の道路リンクにおける交通渋滞セクションを識別し、第1の道路リンクにおける初期の車線レベル交通渋滞分布を生成し、第2の道路リンク及び第3の道路リンクに関する交通渋滞情報に基づいて、第1の道路リンクにおける初期の車線レベル交通渋滞分布を更新し、交通渋滞セクションに近付いている車両に車線レベル交通渋滞分布を送信するようにプログラムされている。
【選択図】 図2
特許請求の範囲
【請求項1】
1つ以上のプロセッサを備えるシステムであって、
前記1つ以上のプロセッサは、
マップに基づいて、第1の道路リンク、前記第1の道路リンクに接続された第2の道路リンク、及び前記第1の道路リンクに接続された第3の道路リンクを取得し、
車両の運転データに基づいて、前記第1の道路リンクにおける交通渋滞セクションを識別し、
前記第1の道路リンクにおける初期の車線レベル交通渋滞分布を生成し、
前記第2の道路リンク及び前記第3の道路リンクに関する交通渋滞情報に基づいて、前記第1の道路リンクにおける前記初期の車線レベル交通渋滞分布を更新し、
前記交通渋滞セクションに近付いている車両に前記車線レベル交通渋滞分布を送信するようにプログラムされた、システム。
続きを表示(約 1,800 文字)
【請求項2】
前記第1の道路リンクは、複数の車線を含み、
前記初期の車線レベル交通渋滞分布は、前記複数の車線の各々における交通渋滞の確率を含み、
前記初期の車線レベル交通渋滞分布を更新することは、前記複数の車線の各々における前記交通渋滞の確率を更新することを含む、請求項1に記載のシステム。
【請求項3】
前記1つ以上のプロセッサは更に、
前記第2の道路リンクが交通渋滞を含まず前記第3の道路リンクが交通渋滞を含むことを決定し、
前記第2の道路リンクが交通渋滞を含まず前記第3の道路リンクが交通渋滞を含むという前記決定に基づいて、前記第3の道路リンクに接続された前記第1の道路リンクの車線における前記交通渋滞の確率を計算するようにプログラムされた、請求項2に記載のシステム。
【請求項4】
前記1つ以上のプロセッサは更に、
前記交通渋滞セクションの前部が前記第1の道路リンクの終わりに近く、第3の道路リンクの始まりが混雑していることを決定し、
前記交通渋滞セクションの前記前部が前記第1の道路リンクの終わりに近く、前記第3の道路リンクの始まりが混雑しているという前記決定に基づいて、前記第3の道路リンクに接続された前記第1の道路リンクの車線における前記交通渋滞の確率を計算するようにプログラムされた、請求項2に記載のシステム。
【請求項5】
前記1つ以上のプロセッサは更に、
前記交通渋滞セクションの後部が前記第1の道路リンクの始まりに近く、前記第1の道路リンクの前記始まりに接続された第3の道路リンクの終わりが混雑していることを決定し、
前記交通渋滞セクションの前記後部が前記第1の道路リンクの前記始まりに近く、前記第3の道路リンクの終わりが混雑しているという前記決定に基づいて、前記第3の道路リンクに接続された前記第1の道路リンクの車線における前記交通渋滞の確率を計算するようにプログラムされた、請求項2に記載のシステム。
【請求項6】
前記1つ以上のプロセッサは更に、
前記交通渋滞を出て前記第3の道路リンクに入った車両の数に対する、前記第1の道路リンクにおける交通渋滞にいた車両の数の比に基づいて、前記第1の道路リンクにおける前記初期の車線レベル交通渋滞分布を更新するようにプログラムされた、請求項2に記載のシステム。
【請求項7】
前記1つ以上のプロセッサは更に、
前記交通渋滞セクションの前部が前記第1の道路リンクの終わりに近いことを決定し、
前記比が閾値よりも大きいかどうかを決定し、
前記比が前記閾値よりも大きいという前記決定に基づいて、前記第3の道路リンクに接続された前記第1の道路リンクの車線における前記交通渋滞の確率を計算するようにプログラムされた、請求項6に記載のシステム。
【請求項8】
前記1つ以上のプロセッサは更に、
前記第3の道路リンクにおいて移動した車両のうち、前記第1の道路リンクに入って交通渋滞に引っ掛かる車両の割合に基づいて、前記第1の道路リンクにおける前記初期の車線レベル交通渋滞分布を更新するようにプログラムされた、請求項2に記載のシステム。
【請求項9】
前記1つ以上のプロセッサは更に、
前記交通渋滞セクションの後部が前記第1の道路リンクの始まりに近いことを決定し、
前記割合が閾値よりも大きいかどうかを決定し、
前記割合が前記閾値よりも大きいという前記決定に基づいて、前記第3の道路リンクに接続された前記第1の道路リンクの車線における前記交通渋滞の確率を計算するようにプログラムされた、請求項8に記載のシステム。
【請求項10】
前記1つ以上のプロセッサは更に、
前記第1の道路リンクにおける車両の車線変更に関する情報を取得し、
前記車線変更後に、前記車両が前記第2の道路リンク又は前記第3の道路リンクに入るかどうかに関する情報を取得し、
更に、前記車線変更に関する情報、及び前記車両が前記第2の道路リンク又は前記第3の道路リンクに入るかどうかに関する前記情報に基づいて、前記第1の道路リンクにおける前記初期の車線レベル交通渋滞分布を更新するようにプログラムされた、請求項1に記載のシステム。
(【請求項11】以降は省略されています)
発明の詳細な説明
【技術分野】
【0001】
本明細書は、車線レベル交通渋滞を推定するシステム及び方法、より具体的には、車線接続データを使用して車線レベル交通渋滞を推定するシステム及び方法に関する。
続きを表示(約 2,400 文字)
【背景技術】
【0002】
異なる車線における車両の平均速度が変わる車線レベルの交通は、衝突リスク、特に、追突の衝突を増加させ得る。加えて、様々なレベルの異なる交通レベルが存在する場合、運転者は、交通渋滞の列の後部を見逃し、割り込もうと試み得る。既存のナビゲーションシステムは、車線レベルの交通を提供しない。例えば、右への出口が混雑しているとき、既存のナビゲーションシステムは、混雑した右車線を示さず、他の車線において通常の速度で運転する車両の運転データにより、交通がない道路セクション全体を示す。
【0003】
したがって、車線レベル交通情報を正確に推定するシステム及び方法に対する必要性が存在する。
【発明の概要】
【0004】
本開示は、コネクテッド車両の車線変更信号を使用して車線レベル交通渋滞を推定するシステム及び方法を提供する。
【0005】
一実施形態では、車線レベル交通渋滞を推定するシステムが提供される。システムは、1つ以上のプロセッサを含み、当該1つ以上のプロセッサは、マップに基づいて、第1の道路リンク、第1の道路リンクに接続された第2の道路リンク、及び第1の道路リンクに接続された第3の道路リンクを取得し、車両の運転データに基づいて、第1の道路リンクにおける交通渋滞セクションを識別し、第1の道路リンクにおける初期の車線レベル交通渋滞分布を生成し、第2の道路リンク及び第3の道路リンクに関する交通渋滞情報に基づいて、第1の道路リンクにおける初期の車線レベル交通渋滞分布を更新し、交通渋滞セクションに近付いている車両に車線レベル交通渋滞分布を送信するようにプログラムされている。
【0006】
別の実施形態では、車線レベルの交通を決定する方法が提供される。方法は、マップに基づいて、第1の道路リンク、第1の道路リンクに接続された第2の道路リンク、及び第1の道路リンクに接続された第3の道路リンクを取得することと、車両の運転データに基づいて、第1の道路リンクにおける交通渋滞セクションを識別することと、第1の道路リンクにおける初期の車線レベル交通渋滞分布を生成することと、第2の道路リンク及び第3の道路リンクに関する交通渋滞情報に基づいて、第1の道路リンクにおける初期の車線レベル交通渋滞分布を更新することと、交通渋滞セクションに近付いている車両に車線レベル交通渋滞分布を送信することと、を含む。
【0007】
本開示の実施形態によって提供されるこれらの特徴及び更なる特徴は、図面と併せて以下の詳細な説明を考慮すると、より完全に理解されるであろう。
【図面の簡単な説明】
【0008】
図面に記載される実施形態は、本質的に実例的で例示的なものであって、本開示を限定することを意図したものではない。以下の図面と併せて読むと、実例的な実施形態の以下の詳細な説明を理解することができ、当該図面では、同様の構造は、同様の参照番号を用いて示される。
【0009】
図1Aは、本明細書に示され記載される1つ以上の実施形態に係る、車線接続データを使用して車線レベル交通渋滞を推定するシステムを概略的に描写する。
図1Bは、本明細書に示され記載される1つ以上の実施形態に係る、車線接続データを使用して車線の各々における交通渋滞の確率を推定することを描写する。
図1Cは、本明細書に示され記載される1つ以上の実施形態に係る、道路に関する例示的な車線レベル交通分布画像を示す。
図1Dは、本明細書に示され記載される1つ以上の実施形態に係る、車線接続データを使用して車線の各々における交通渋滞の確率を推定することを描写する。
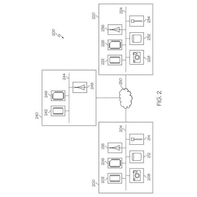
図2は、本明細書に示され記載される1つ以上の実施形態に係る、車線接続データを使用して車線レベル交通渋滞を推定するシステムを概略的に描写する。
図3は、本明細書に示され記載される1つ以上の実施形態に係る、車線レベル交通渋滞を推定するフローチャートを描写する。
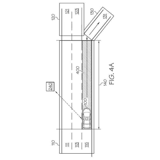
図4Aは、本明細書に示され記載される1つ以上の実施形態に係る、コネクテッド車両のルートを使用して車線の各々における交通渋滞の確率を推定することを描写する。
図4Bは、本明細書に示され記載される1つ以上の実施形態に係る、コネクテッド車両のルートを使用して車線の各々における交通渋滞の確率を推定することを描写する。
図5は、本明細書に示され記載される1つ以上の実施形態に係る、車線接続情報及びコネクテッド車両の車線変更信号を使用して車線の各々における交通渋滞の確率を推定することを描写する。
図6は、本明細書に示され記載される1つ以上の実施形態に係る、車線接続情報及びコネクテッド車両の車線変更信号を使用して車線の各々における交通渋滞の確率を推定することを描写する。
図7は、本明細書に示され記載される1つ以上の実施形態に係る、車線接続情報及びコネクテッド車両の車線変更信号を使用して車線の各々における交通渋滞の確率を推定することを描写する。
【発明を実施するための形態】
【0010】
本明細書に開示される実施形態は、本明細書に示され記載される1つ以上の実施形態に係る、車線レベル交通渋滞を推定するシステム及び方法を含む。特に、本明細書で使用されるとき、車線レベル交通渋滞は、道路の或る車線における車両の平均速度が道路の別の車線における車両の平均速度と実質的に異なる状況を示す。より具体的には、車線レベル交通渋滞は、特定の領域内の道路の或る車線における車両の平均速度が特定の領域内の道路の別の車線における車両の平均速度と閾値量よりも多く変わる状況を示し得る。
(【0011】以降は省略されています)
この特許をJ-PlatPat(特許庁公式サイト)で参照する
関連特許
トヨタ自動車株式会社
電池
7日前
トヨタ自動車株式会社
椅子
10日前
トヨタ自動車株式会社
方法
1日前
トヨタ自動車株式会社
方法
1日前
トヨタ自動車株式会社
方法
10日前
トヨタ自動車株式会社
方法
10日前
トヨタ自動車株式会社
車体
3日前
トヨタ自動車株式会社
車両
9日前
トヨタ自動車株式会社
車両
14日前
トヨタ自動車株式会社
車両
15日前
トヨタ自動車株式会社
車両
2日前
トヨタ自動車株式会社
方法
2日前
トヨタ自動車株式会社
電池
17日前
トヨタ自動車株式会社
電池
今日
トヨタ自動車株式会社
電池
16日前
トヨタ自動車株式会社
車両
7日前
トヨタ自動車株式会社
車両
今日
トヨタ自動車株式会社
方法
今日
トヨタ自動車株式会社
車両
1日前
トヨタ自動車株式会社
正極層
今日
トヨタ自動車株式会社
電動機
今日
トヨタ自動車株式会社
モータ
8日前
トヨタ自動車株式会社
加熱器
14日前
トヨタ自動車株式会社
ケース
16日前
トヨタ自動車株式会社
電動車
10日前
トヨタ自動車株式会社
飛行体
7日前
トヨタ自動車株式会社
モータ
2日前
トヨタ自動車株式会社
電磁弁
10日前
トヨタ自動車株式会社
自動車
1日前
トヨタ自動車株式会社
電動車
17日前
トヨタ自動車株式会社
固定子
15日前
トヨタ自動車株式会社
ロボット
17日前
トヨタ自動車株式会社
塗工装置
15日前
トヨタ自動車株式会社
燃料電池
2日前
トヨタ自動車株式会社
充電装置
2日前
トヨタ自動車株式会社
蓄電装置
今日
続きを見る
他の特許を見る