TOP
|
特許
|
意匠
|
商標
特許ウォッチ
Twitter
他の特許を見る
10個以上の画像は省略されています。
公開番号
2025158865
公報種別
公開特許公報(A)
公開日
2025-10-17
出願番号
2024061802
出願日
2024-04-05
発明の名称
画像処理装置、画像処理システム、画像処理プログラム及び画像処理方法
出願人
キヤノン株式会社
代理人
個人
,
個人
,
個人
,
個人
,
個人
主分類
H04N
23/695 20230101AFI20251009BHJP(電気通信技術)
要約
【課題】 VRコンテンツの撮影画像上下端が視聴領域となる場合、ユーザーの視認性低下や視聴領域変更操作が難しくなる視聴領域に制限をかけた視聴可能領域を持つ画像表示装置を提供することを目的とする。
【解決手段】 本発明の画像処理装置は、表示手段に表示される画像の表示範囲を変更する操作を受信する受信手段と、前記操作に基づいて、半天球画像の所定の範囲を平面画像に変換して前記表示手段に表示するよう制御する表示制御手段と、を有し、前記表示制御手段は、前記半天球画像の上端位置又は下端位置を少なくとも含む所定の領域に対応する前記平面画像の領域は、前記表示範囲に表示しても、前記表示範囲の中心の位置に表示されないように制御する。
【選択図】 図7
特許請求の範囲
【請求項1】
表示手段に表示される画像の表示範囲を変更する操作を受信する受信手段と、
前記操作に基づいて、半天球画像の所定の範囲を平面画像に変換して前記表示手段に表示するよう制御する表示制御手段と、を有し、
前記表示制御手段は、前記半天球画像の上端位置又は下端位置を少なくとも含む所定の領域に対応する前記平面画像の領域は、前記表示範囲に表示しても、前記表示範囲の中心の位置に表示されないように制御する
ことを特徴とする画像処理装置。
続きを表示(約 1,100 文字)
【請求項2】
前記受信手段は、タッチパネル又はボタンを介した操作を受信する
ことを特徴とする請求項1に記載の画像処理装置。
【請求項3】
前記受信手段は、前記表示範囲の位置を変更する操作、又は前記表示範囲の広さを変更する操作を受信する
ことを特徴とする請求項1に記載の画像処理装置。
【請求項4】
前記表示制御手段は、透視投影変換により半天球画像を平面画像に変換する
ことを特徴とする請求項1に記載の画像処理装置。
【請求項5】
前記受信手段が、前記表示範囲の広さを変更する操作を受信した場合、前記半天球画像の上端位置又は下端位置を少なくとも含む所定の領域に対応する前記平面画像の領域が、前記表示範囲の中心の位置に表示されないように前記表示範囲の位置及び広さを変更する
ことを特徴とする請求項1に記載の画像処理装置。
【請求項6】
前記表示制御手段は、前記半天球画像の上端位置又は下端位置を少なくとも含む所定の領域に対応する前記平面画像の領域を、前記表示手段に表示している場合と、表示していない場合とで、前記表示範囲の位置を変更する操作に基づく、前記表示範囲の位置の変化量を異ならせる
ことを特徴とする請求項1に記載の画像処理装置。
【請求項7】
前記表示制御手段は、前記半天球画像の上端位置又は下端位置を少なくとも含む所定の領域に対応する前記平面画像の領域を前記表示手段に表示している場合は、前記半天球画像の上端位置又は下端位置を少なくとも含む所定の領域に対応する前記平面画像の領域を前記表示手段に表示していない場合よりも、前記表示範囲の位置を変更する操作に基づく、前記表示範囲の位置の変化量が小さくなるように制御する
ことを特徴とする請求項6に記載の画像処理装置。
【請求項8】
前記表示手段をさらに有する
ことを特徴とする請求項1に記載の画像処理装置。
【請求項9】
円周魚眼画像を撮像する撮像手段をさらに有し、
前記表示制御手段は、前記撮像手段により撮像された前記円周魚眼画像を、透視投影変換により平面画像に変換して、前記表示手段に表示する
ことを特徴とする請求項1に記載の画像処理装置。
【請求項10】
前記表示手段に表示される画像のうち、前記平面画像に該当しない領域は、所定の色で表示される
ことを特徴とする請求項1に記載の画像処理装置。
(【請求項11】以降は省略されています)
発明の詳細な説明
【技術分野】
【0001】
本発明はVR再生機能を有する画像処理装置に関するである。
続きを表示(約 2,100 文字)
【背景技術】
【0002】
近年、仮想現実(VR:バーチャルリアリティ)が普及している。VRのコンテンツには写真や映像があげられ、例えば、両眼の視差を活用し立体視することを目的として右眼用の広角画像と左眼用の半天球画像のような広角画像を同時に取得可能な撮像装置や全天球画像のような広角画像を撮影できる撮像装置を用いて撮影される。
【0003】
撮影されたVRコンテンツは、主に非透過型の頭部装着型表示装置(HMD)や、スマートフォンやコンピュータなどの表示ディスプレイを通して、撮影画像の視聴領域の一部分を変換する透視投影変換によって得られる画像が視聴される。特にスマートフォンやコンピュータなどの表示ディスプレイを通して撮影画像のVRコンテンツを視聴する際、視聴領域はタッチ操作やマウスやボタンなどの部材操作で変更可能となっており、視聴可能な領域を制限する技術が知られている。例えば特許文献1では、撮影画像内を視聴可能領域としており、視聴領域が撮影画像外に及ぶ場合は、直前に視聴していた視聴可能領域に戻すことが出来る。
【先行技術文献】
【特許文献】
【0004】
特開2022-84529号広報
【発明の概要】
【発明が解決しようとする課題】
【0005】
VRコンテンツが半天球画像である場合や、一部の領域で撮影画像のない画像である場合、特に撮影画像端に余計な映り込みがないかユーザーが撮影画像端を正面にして確認することが考えられる。しかしながら、上述の特許文献に開示された技術では、視聴可能領域が撮影画像内に制限されてしまうため、撮影画像端は視聴領域の端でしか表示できず、正面で確認することができない。
【0006】
また、視聴可能領域に制限がない場合は、撮影画像端を正面にして確認が可能だが、図5(c)のように視聴領域に撮像画像外が表示される。こういった撮影画像外の領域は、黒で塗りつぶして表現されることが一般的である。特に視聴領域が撮影画像の上下端となり、撮影画像と撮影画像外の黒塗り部分が同時に表示されている状態で、視聴領域を左右に変更する操作が行われると、撮影画像と撮影画像外の黒塗り部分が回転して遷移するように表示される。このように表示すると、画面に表示される画像の変化が激しくなるため、ユーザーの視認性が低下する。さらに、視聴領域を左右に変更する操作が撮影画像の左右中心で行われるほど、視聴領域の表示画像の回転量が大きくなるため、ユーザーは視聴領域を所望の位置に決定することが難しい。
【0007】
そこで本発明の目的は、VRコンテンツの撮影画像上下端が視聴領域となる場合、ユーザーの視認性低下や視聴領域変更操作が難しくなる視聴領域に制限をかけた視聴可能領域を持つ画像表示装置を提供することである。
【課題を解決するための手段】
【0008】
本発明の1つの態様は、表示手段に表示される画像の表示範囲を変更する操作を受信する受信手段と、前記操作に基づいて、半天球画像の所定の範囲を平面画像に変換して前記表示手段に表示するよう制御する表示制御手段と、を有し、前記表示制御手段は、前記半天球画像の上端位置又は下端位置を少なくとも含む所定の領域に対応する前記平面画像の領域は、前記表示範囲に表示しても、前記表示範囲の中心の位置に表示されないように制御することを特徴とする画像処理装置である。
【発明の効果】
【0009】
本発明によれば、VRコンテンツの撮影画像上下端が視聴領域に含まれる場合でも、ユーザーの視認性低下を防ぎ、ユーザーの撮影画像の確認や視聴領域の変更操作を容易にすることができる。
【図面の簡単な説明】
【0010】
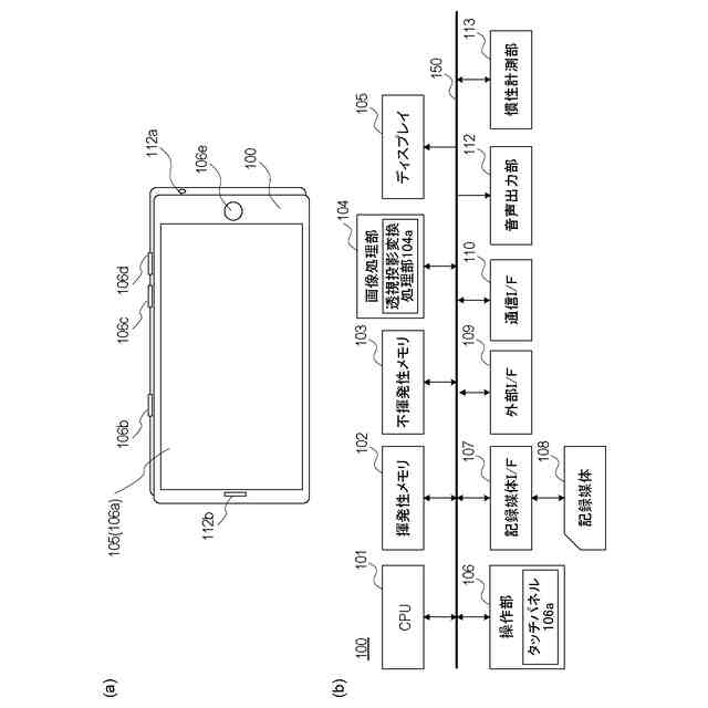
(a)表示装置100の外観図である。(b)表示装置100の構成ブロック図である。
(a)VRコンテンツにおける円周魚眼画像である。(b)円周魚眼画像で、透視投影変換される領域を示す図である。(c)透視投影変換された画像を説明するための図である。
円周魚眼画像と三次元仮想空間上の半球との対応関係を説明するための図である。
半天球画像における三次元仮想空間上の仮想カメラおよび透視投影変換を行う領域の位置を示した図である。
半天球画像における三次元仮想空間上で透視投影変換を行い生成される画像を説明するための図である。
本発明の実施形態1にかかる処理の流れを示したフローチャートである。
本発明の実施形態1にかかる処理の流れを示したフローチャートである。
本発明の実施形態1にかかる透視投影変換を行う領域の制限範囲を示した図である。
本発明の実施形態1にかかる透視投影変換を行う領域の制限範囲を示した図である。
本発明の実施形態2にかかる処理の流れを示したフローチャートである。
本発明の実施形態2にかかる透視投影変換を行う領域の移動量低減範囲を示した図である。
【発明を実施するための形態】
(【0011】以降は省略されています)
この特許をJ-PlatPat(特許庁公式サイト)で参照する
関連特許
キヤノン株式会社
容器
1日前
キヤノン株式会社
容器
7日前
キヤノン株式会社
トナー
10日前
キヤノン株式会社
トナー
23日前
キヤノン株式会社
トナー
23日前
キヤノン株式会社
トナー
23日前
キヤノン株式会社
撮像装置
7日前
キヤノン株式会社
記録装置
21日前
キヤノン株式会社
現像装置
21日前
キヤノン株式会社
現像容器
21日前
キヤノン株式会社
撮像装置
7日前
キヤノン株式会社
現像装置
21日前
キヤノン株式会社
表示装置
1日前
キヤノン株式会社
撮像装置
7日前
キヤノン株式会社
撮影装置
21日前
キヤノン株式会社
定着装置
22日前
キヤノン株式会社
記録装置
7日前
キヤノン株式会社
現像装置
14日前
キヤノン株式会社
測距装置
16日前
キヤノン株式会社
撮像装置
1日前
キヤノン株式会社
現像容器
21日前
キヤノン株式会社
光学センサ
23日前
キヤノン株式会社
モジュール
23日前
キヤノン株式会社
電子写真装置
14日前
キヤノン株式会社
画像形成装置
10日前
キヤノン株式会社
画像形成装置
14日前
キヤノン株式会社
画像形成装置
14日前
キヤノン株式会社
画像形成装置
14日前
キヤノン株式会社
画像形成装置
10日前
キヤノン株式会社
画像形成装置
10日前
キヤノン株式会社
印刷システム
9日前
キヤノン株式会社
電子写真装置
8日前
キヤノン株式会社
画像形成装置
8日前
キヤノン株式会社
画像形成装置
15日前
キヤノン株式会社
画像形成装置
7日前
キヤノン株式会社
画像形成装置
3日前
続きを見る
他の特許を見る