TOP
|
特許
|
意匠
|
商標
特許ウォッチ
Twitter
他の特許を見る
10個以上の画像は省略されています。
公開番号
2025158761
公報種別
公開特許公報(A)
公開日
2025-10-17
出願番号
2024061625
出願日
2024-04-05
発明の名称
アキュムレータ用支持体、室外機、及び空調装置
出願人
三菱電機株式会社
代理人
個人
,
個人
,
個人
,
個人
,
個人
,
個人
主分類
F24F
1/46 20110101AFI20251009BHJP(加熱;レンジ;換気)
要約
【課題】走行振動と稼働時の振動の両方の振動を抑止可能なアキュムレータ用支持体を提供する。
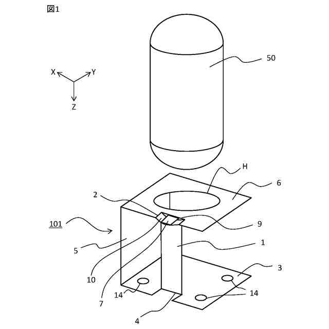
【解決手段】アキュムレータ用支持体101は、空調装置の室外機のアキュムレータ50を支持するアキュムレータ用支持体101であって、アキュムレータ50が載置される上材6と、室外機に固定される底材3と、上材6と底材3とを接続する縦材5と、上材6、底材3、又は縦材5のいずれか2つの間に配置され、配置形態に依存して、アキュムレータ用支持体101の剛性を変化させる補強部材1と、を備える。
【選択図】図1
特許請求の範囲
【請求項1】
空調装置の室外機のアキュムレータを支持するアキュムレータ用支持体であって、
前記アキュムレータが載置される上材と、
前記室外機に固定される底材と、
前記上材と前記底材とを接続する縦材と、
前記上材、前記底材、又は前記縦材のいずれか2つの間に配置され、配置形態に依存して、前記アキュムレータ用支持体の剛性を変化させる補強部材と、
を備えるアキュムレータ用支持体。
続きを表示(約 1,000 文字)
【請求項2】
前記補強部材は、前記上材、前記底材、又は前記縦材のいずれか2つの間に配置されて補強する状態と、2つの間に非配置の状態とが切り換えられることにより、前記アキュムレータ用支持体の剛性を変化させる、
請求項1に記載のアキュムレータ用支持体。
【請求項3】
前記上材、前記底材、前記縦材、及び前記補強部材は板状部材であり、
前記補強部材の長手方向の一端は、接続箇所を軸に回動可能に前記上材又は前記底材と接続されている、
請求項1又は2に記載のアキュムレータ用支持体。
【請求項4】
前記補強部材の長手方向の他端は、前記補強部材を前記上材又は前記底材に係止する第1係止部を備え、
前記上材又は前記底材は、前記第1係止部に対応する第2係止部を備える、
請求項3に記載のアキュムレータ用支持体。
【請求項5】
前記上材、前記底材、前記縦材、及び前記補強部材は板状部材であり、
前記補強部材の長手方向の長さは前記上材と前記底材の間隔と等しく、
前記補強部材はその一辺を軸に回動可能に前記縦材の一辺と接続されている、
請求項1又は2に記載のアキュムレータ用支持体。
【請求項6】
前記補強部材は、その角部分に、前記補強部材を前記上材及び前記底材に係止する係止部を備える、
請求項5に記載のアキュムレータ用支持体。
【請求項7】
前記上材、前記底材、前記縦材、及び前記補強部材は板状部材であり、
前記補強部材は、接続箇所を軸に回動可能に前記上材と接続された板状の上材用補強部材と、接続箇所を軸に回動可能に前記底材と接続された板状の底材用補強部材と、を備える、
請求項1又は2に記載のアキュムレータ用支持体。
【請求項8】
前記上材用補強部材は、前記上材用補強部材を前記底材用補強部材に係止する第1係止部を備え、
前記底材用補強部材は、前記第1係止部に対応する第2係止部を備える、
請求項7に記載のアキュムレータ用支持体。
【請求項9】
前記上材、前記底材、及び前記縦材は、それぞれ、棒状部材を組み合わせてなる矩形のフレームである、
請求項1又は2に記載のアキュムレータ用支持体。
【請求項10】
前記アキュムレータ用支持体の素材は金属である、
請求項1又は2に記載のアキュムレータ用支持体。
(【請求項11】以降は省略されています)
発明の詳細な説明
【技術分野】
【0001】
本開示は、アキュムレータ用支持体、室外機、及び空調装置に関する。
続きを表示(約 1,000 文字)
【背景技術】
【0002】
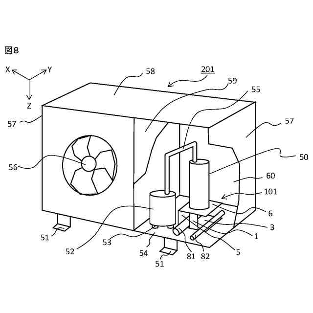
空調装置の室外機は、その筐体内部にアキュムレータ、圧縮機等の部品を備える。室外機は、土地、建物等に脚部を介して設置される。アキュムレータと圧縮機とは、冷媒配管を介して相互に接続される。
【0003】
室外機を設置場所に搬送する際、車両で輸送することが多い。しかし、輸送中に、車両の走行振動が伝わり、アキュムレータと冷媒配管との接続部に応力がかかり劣化するおそれがある。
【0004】
輸送時に接続部分を保護するため、圧縮機の振動を抑える支持部材が特許文献1に開示されている。この支持部材は、下部弾性体を有する下部防振支持部材と、下部弾性体よりも大きいバネ定数の上部弾性体を有する上部防振支持部材から構成され、圧縮機を支持する。
【0005】
一方、室外機の稼働時には、圧縮機自身が振動すると共に、その振動が、例えば、冷媒配管を介して伝わって、アキュムレータも振動する。このアキュムレータの振動が筐体、脚部等を介して設置箇所に伝達し、土地、建物等に伝播してしまう。また、騒音の原因にもなる。
【0006】
ここで、特許文献1に開示された支持機構により、圧縮機による振動も抑えることが考えられる。しかし、輸送時と稼働時とでは、振動の周波数が異なるため、単純には適用できない。
【0007】
このため、輸送時と稼働時とで、異なる支持体を使用することも考えられるが、交換作業が繁雑である上、製造コストも増える。
【先行技術文献】
【特許文献】
【0008】
特開2019-56355号公報
【発明の概要】
【発明が解決しようとする課題】
【0009】
本開示は上記実情に鑑みてなされたものであり、走行振動と稼働時の振動の両方の振動を抑止可能なアキュムレータ用支持体を提供することを目的とする。
【課題を解決するための手段】
【0010】
上記目的を達成する為に、本開示に係るアキュムレータ用支持体は、空調装置の室外機のアキュムレータを支持するアキュムレータ用支持体であって、アキュムレータが載置される上材と、室外機に固定される底材と、上材と底材とを接続する縦材と、上材、底材、又は縦材のいずれか2つの間に配置され、配置形態に依存して、アキュムレータ用支持体の剛性を変化させる補強部材と、を備える。
【発明の効果】
(【0011】以降は省略されています)
この特許をJ-PlatPat(特許庁公式サイト)で参照する
関連特許
三菱電機株式会社
換気扇
5日前
三菱電機株式会社
換気扇
5日前
三菱電機株式会社
換気扇
5日前
三菱電機株式会社
回転電機
1か月前
三菱電機株式会社
照明器具
1か月前
三菱電機株式会社
換気装置
1か月前
三菱電機株式会社
照明装置
1か月前
三菱電機株式会社
照明装置
1か月前
三菱電機株式会社
回転電機
1か月前
三菱電機株式会社
収集装置
3日前
三菱電機株式会社
回転電機
1か月前
三菱電機株式会社
回転電機
21日前
三菱電機株式会社
電子機器
6日前
三菱電機株式会社
回路遮断器
1か月前
三菱電機株式会社
半導体装置
1か月前
三菱電機株式会社
電気掃除機
1か月前
三菱電機株式会社
半導体装置
11日前
三菱電機株式会社
半導体装置
1か月前
三菱電機株式会社
半導体装置
1か月前
三菱電機株式会社
加熱調理器
24日前
三菱電機株式会社
半導体装置
1か月前
三菱電機株式会社
半導体装置
25日前
三菱電機株式会社
電力変換装置
1か月前
三菱電機株式会社
照明システム
11日前
三菱電機株式会社
電力変換装置
1か月前
三菱電機株式会社
貯湯式給湯機
21日前
三菱電機株式会社
車両制御装置
1か月前
三菱電機株式会社
回転電機装置
1か月前
三菱電機株式会社
ネジ取出機構
1か月前
三菱電機株式会社
空気調和装置
1か月前
三菱電機株式会社
給湯システム
24日前
三菱電機株式会社
送電線保護装置
1か月前
三菱電機株式会社
電動機制御装置
17日前
三菱電機株式会社
屋外設置用筐体
1か月前
三菱電機株式会社
給湯機システム
1か月前
三菱電機株式会社
非常用照明装置
24日前
続きを見る
他の特許を見る