TOP
|
特許
|
意匠
|
商標
特許ウォッチ
Twitter
他の特許を見る
10個以上の画像は省略されています。
公開番号
2025158579
公報種別
公開特許公報(A)
公開日
2025-10-17
出願番号
2024061261
出願日
2024-04-05
発明の名称
グレーチング及びその製造方法
出願人
株式会社オカグレート
代理人
個人
主分類
E03F
5/06 20060101AFI20251009BHJP(上水;下水)
要約
【課題】重量車両の大きな力が加わっても、主部材の傾倒阻止及び抜け落ちを阻止でき、さらに側当て材等の構成部材の在庫管理の負担軽減も可能になるグレーチング及びその製造方法を提供する。
【解決手段】帯幅方向を上下にして互いに平行配設した複数の帯板状主部材1の両側に側当て材3を固着した金属製のグレーチングにおいて、該側当て材1が側面視逆L字形部材の曲げ加工品にして、その垂直部31から該垂直部の一部を含めて水平部32に至る曲げ領域33に、前記主部材との接続箇所となる細長孔35が設けられ、該側当て材3を該主部材1の両側に固着することにより、主部材両側の下部16が前記垂直部31に当接する一方、該下部よりも突出形成された主部材両側の上部17が前記細長孔35の垂直部31側に挿入し、且つ該上部17の張り出した上端部分171がその上端面171aを前記水平部32の上面32aと面一になるようにして前記細長孔35の前記水平部32側を埋めてなる。
【選択図】図1
特許請求の範囲
【請求項1】
帯幅方向を上下にして互いに平行配設した複数の帯板状主部材の両側に側当て材を固着した金属製のグレーチングにおいて、
該側当て材が側面視逆L字形部材の曲げ加工品にして、その垂直部から該垂直部の一部を含めて水平部に至る曲げ領域に、前記主部材との接続箇所となる細長孔が設けられ、該側当て材を該主部材の両側に固着することにより、主部材両側の下部が前記垂直部に当接する一方、該下部よりも突出形成された主部材両側の上部が前記細長孔の垂直部側に挿入し、且つ該上部の張り出した上端部分がその上端面を前記水平部の上面と面一になるようにして前記細長孔の前記水平部側を埋めてなることを特徴とするグレーチング。
続きを表示(約 1,000 文字)
【請求項2】
前記主部材両側の上部で、前記上端部分よりも下方の上部下半部分の端面に窪みが形成され、且つ該窪みに溶接肉盛部が設けられて、該溶接肉盛部により前記主部材と前記側当て部材とが固着一体化した請求項1記載のグレーチング。
【請求項3】
前記主部材と前記連結部材と及び前記側当て材とが、同一素材且つ同一板厚の平板材から形成された切断加工品である請求項1又は2に記載のグレーチング。
【請求項4】
前記連結部材の下縁から上方へ向けて切欠く正面視コ字状の前記係合穴が、該連結部材の下縁部位を開口にして切欠き底壁へ至る切欠き側壁に、その側壁面から該係合穴へ張り出す疣状の小突起が形成された請求項3記載のグレーチング。
【請求項5】
帯幅方向を起立させて互いに平行配設される複数の帯板状主部材と、この主部材両側での接続箇所に細長孔を設けて、前記主部材の両側に固着される側当て部材の前段階部材と、複数の前記主部材の配設ピッチに合わせて、帯幅方向を起立させた細幅の帯板部材の下縁から上方へ向け正面視コ字状に切欠く複数の係合穴を設けて、該主部材と格子状に配設される連結部材と、を同一素材且つ同一板厚の金属製平板材から板片状に切抜き形成し、
次に、該前段階部材を側面視逆L字形部材に曲げ加工し、且つその垂直部から該垂直部の一部を含めて水平部に至る曲げ領域に前記細長孔が配設される前記側当て部材を形成し、
続いて、該主部材と該連結部材とで格子状に形成すると共に、該主部材両側の下部を前記垂直部に当接させる一方、該下部よりも突出形成した主部材両側の上部を前記細長孔の垂直部側に挿入させ、且つ該上部の張り出した上端部分の上端面を前記水平部の上面と面一になるようにして、前記細長孔の前記水平部側を埋めて、複数の主部材を該側当て部材に組付けた後、該主部材の両側に該側当て材を溶接固定したことを特徴とするグレーチングの製造方法。
【請求項6】
前記主部材両側の上部で、前記上端部分よりも下方の上部下半部分の端面に窪みを設けて、前記主部材両側の上部を前記細長孔に挿入させ、さらに前記上部の張り出した上端部分が前記細長孔の前記水平部側を埋めるようにした後、該窪みに溶接肉盛部を形成して、該主部材の両側に前記側当て材を溶接固定した請求項4記載のグレーチングの製造方法。
発明の詳細な説明
【技術分野】
【0001】
本発明は金属製のグレーチング及びその製造方法に関し、詳しくは、組込み式(組工式ともいう。)で且つU字側溝等に載置するいわゆる鍔付きグレーチング及びその製造方法に関する。
続きを表示(約 3,200 文字)
【背景技術】
【0002】
側溝等に載置して蓋をする溝蓋には、排水を良好にして機械的強度の高い金属製グレーチングが多用されている。
盤状体のグレーチングには接合部を溶着させる電気圧接式のものがあり、頑丈で、グレーチングの保形維持に優れる。ただ、電気圧接式設備を必要とし、高額でありその負担が大きい。また炭素鋼製グレーチングに比べ、ステンレス鋼製のものとなると電気圧接が難しい。電気圧接に頼らない特開2010-281057号公報等の組込み式グレーチングも存在するが、この組込み式グレーチングは重量車両等がグレーチング上を走行すると、主部材たるベアリングバー傾倒して壊れる場合があった。
こうしたなか、本発明者はこれを改善する発明を提案した(特許文献1)。
【先行技術文献】
【特許文献】
【0003】
特開2023-127352号公報
【発明の概要】
【発明が解決しようとする課題】
【0004】
しかし、特許文献1は、その図1~図7のグレーチング上を重量車両等が走行した際、主部材の傾倒を抑えられるが、重量車両の重力で主部材が下方へ抜け落ちる虞があった。加えて、特許文献1の図8に示す鍔付きグレーチングは、図示のごとく側面視L字形部材の側当て材たるエンドバーが等辺山形鋼等の成形部材であり、主部材や連結部材とは別に、別部材たる側当て材の在庫管理を行わねばならない問題があった。
【0005】
本発明は、上記問題を解決するもので、重量車両の大きな力が加わっても、主部材の傾倒阻止及び抜け落ちを阻止でき、さらに側当て材等の構成部材の在庫管理の負担軽減も可能になるグレーチング及びその製造方法を提供することを目的とする。
【発明の開示】
【課題を解決するための手段】
【0006】
上記目的を達成すべく、本発明の第1態様は、帯幅方向を上下にして互いに平行配設した複数の帯板状主部材の両側に側当て材を固着した金属製のグレーチングにおいて、該側当て材が側面視逆L字形部材の曲げ加工品にして、その垂直部から該垂直部の一部を含めて水平部に至る曲げ領域に、前記主部材との接続箇所となる細長孔が設けられ、該側当て材を該主部材の両側に固着することにより、主部材両側の下部が前記垂直部に当接する一方、該下部よりも突出形成された主部材両側の上部が前記細長孔の垂直部側に挿入し、且つ該上部の張り出した上端部分がその上端面を前記水平部の上面と面一になるようにして前記細長孔の前記水平部側を埋めてなることを特徴とするグレーチングにある。本発明の第2態様のグレーチングは、上記第1態様で、主部材両側の上部で、前記上端部分よりも下方の上部下半部分の端面に窪みが形成され、且つ該窪みに溶接肉盛部が設けられて、該溶接肉盛部により前記主部材と前記側当て部材とが固着一体化したことを特徴とする。本発明の第3態様のグレーチングは、上記第1態様又は第2態様で、主部材と前記連結部材と及び前記側当て材とが、同一素材且つ同一板厚の平板材から形成された切断加工品であることを特徴とする。本発明の第4態様のグレーチングは、上記第2態様で、前記連結部材の下縁から上方へ向けて切欠く正面視コ字状の前記係合穴が、該連結部材の下縁部位を開口にして切欠き底壁へ至る切欠き側壁に、その側壁面から該係合穴へ張り出す疣状の小突起が形成されたことを特徴とする。
本発明の第5態様は、帯幅方向を起立させて互いに平行配設される複数の帯板状主部材と、この主部材両側での接続箇所に細長孔を設けて、前記主部材の両側に固着される側当て部材の前段階部材と、複数の前記主部材の配設ピッチに合わせて、帯幅方向を起立させた細幅の帯板部材の下縁から上方へ向け正面視コ字状に切欠く複数の係合穴を設けて、該主部材と格子状に配設される連結部材と、を同一素材且つ同一板厚の金属製平板材から板片状に切抜き形成し、次に、該前段階部材を側面視逆L字形部材に曲げ加工し、且つその垂直部から該垂直部の一部を含めて水平部に至る曲げ領域に前記細長孔が配設される前記側当て部材を形成し、続いて、該主部材と該連結部材とで格子状に形成すると共に、該主部材両側の下部を前記垂直部に当接させる一方、該下部よりも突出形成した主部材両側の上部を前記細長孔の垂直部側に挿入させ、且つ該上部の張り出した上端部分の上端面を前記水平部の上面と面一になるようにして、前記細長孔の前記水平部側を埋めて、複数の主部材を該側当て部材に組付けた後、該主部材の両側に該側当て材を溶接固定したことを特徴とするグレーチングの製造方法にある。本発明の第6態様のグレーチングは、上記第5態様で、主部材両側の上部で、前記上端部分よりも下方の上部下半部分の端面に窪みを設けて、前記主部材両側の上部を前記細長孔に挿入させ、さらに前記上部の張り出した上端部分が前記細長孔の前記水平部側を埋めるようにした後、窪みに溶接肉盛部を形成して、該主部材の両側に前記側当て材を溶接固定したことを特徴とする。
【発明の効果】
【0007】
本発明のグレーチング及びその製造方法は、走行する重量車両の大きな力が加わっても、主部材の傾倒阻止は勿論、主部材の抜け落ちを完全防止でき、さらに一種類の金属製平板材を用いて、主部材,側当て材等の各構成部材の造り込みができ、在庫保管,管理が頗る容易になるなど多大な効を奏する。
【図面の簡単な説明】
【0008】
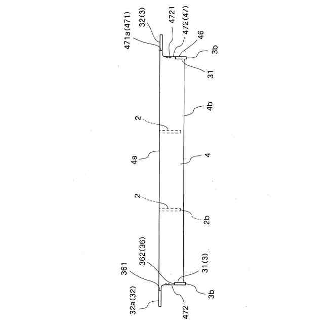
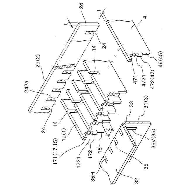
本発明のグレーチングの一形態で、グレーチングに組立てる様子の部分斜視図である。
図1のグレーチングを完成したその平面図である。
図2の左側側面図である。
図2のIV-IV線矢視図である。
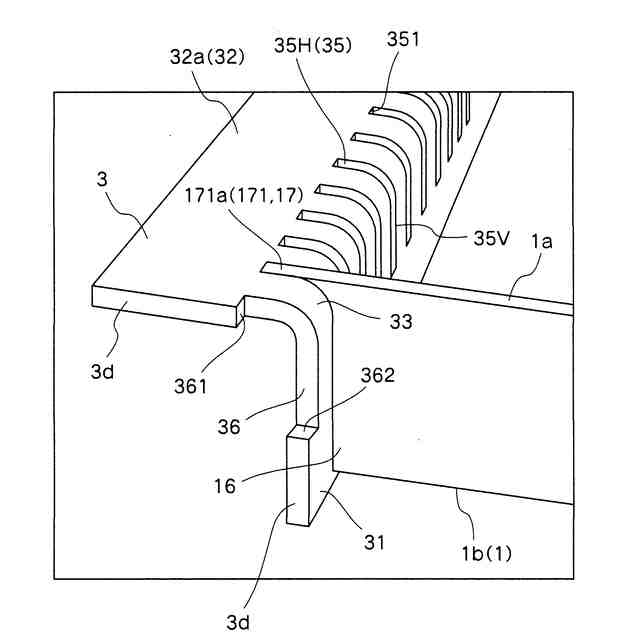
側当て材へ主部材を組込む説明斜視図である。
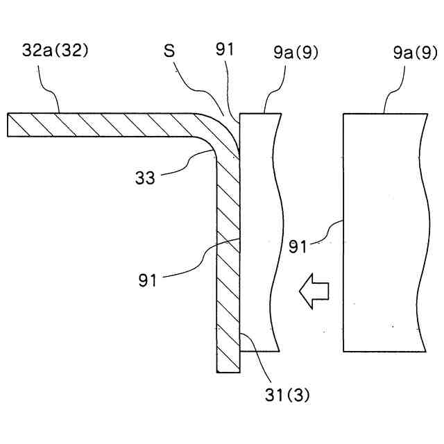
側当て材の細長孔に主部材が挿入し側当て材に溶接固着された説明断面図である。
図6の側当て材へ主部材を挿入する直前の説明断面図である。
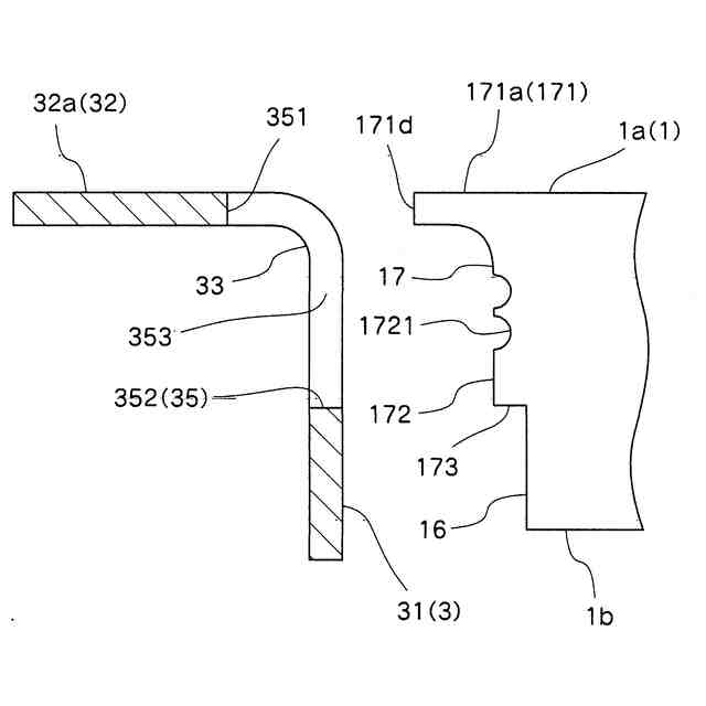
図6との対比グレーチングの説明断面図である。
主部材へ連結部材を組付ける直前の説明断面図である。
図9の主部材へ連結部材を組付けた説明断面図である。
一枚の平板材から側当て材の前段階部材,主部材,連結部材,端板を切り抜く概略平面図である。
【発明を実施するための形態】
【0009】
以下、本発明に係るグレーチングについて詳述する。図1~図11は本発明のグレーチングの一形態で、図1はグレーチングに組立てる部分斜視図、図2は図1から完成したグレーチングの平面図、図3は図2の左側側面図、図4は図2のIV-IV線矢視図、図5は側当て材へ主部材を組込む斜視図、図6は側当て材の細長孔に主部材を挿入し固着した断面図、図7は図6の側当て材へ主部材を挿入する前の断面図、図8は図6との対比断面図、図9は主部材へ連結部材を組付ける前の断面図、図10は図9の主部材へ連結部材を組付けた断面図、図11は一枚の平板材からの前段階部材,主部材等を切断する平面図を示す。尚、各図は判り易くするため、簡略化して発明要部を強調図示する。
【0010】
(1)グレーチング
グレーチングGは、帯幅方向を上下に起立させて平行配設した複数の帯板状主部材1の両側に側当て材3を固着した平面視矩形の金属製盤状体である。側溝側壁71に側面視L字形側当て材3の鍔部たる水平部32が載るいわゆる組込み式の金属製グレーチングGになっている(図4)。本グレーチングGは、ベアリングバーともいう主部材1と、クロスバーともいう連結部材2と、エンドバーともいう側当て材3と、端板4とを具備する(図1~図4)。
(【0011】以降は省略されています)
この特許をJ-PlatPat(特許庁公式サイト)で参照する
関連特許
丸一株式会社
排水配管部材
8日前
TOTO株式会社
トイレ装置
1か月前
個人
ドクター中まミズつクル
2か月前
株式会社田中設備
蓋体
1か月前
一文機工株式会社
トイレ装置
13日前
TOTO株式会社
排水システム
1か月前
株式会社タカギ
水栓装置
4か月前
TOTO株式会社
排水システム
1か月前
株式会社KVK
水栓
1か月前
TOTO株式会社
便座装置
2か月前
ミサワホーム株式会社
外構
1か月前
株式会社KVK
水栓
2か月前
株式会社KVK
水栓
3か月前
株式会社KVK
水栓
3か月前
タイガースポリマー株式会社
側溝
2か月前
TOTO株式会社
トイレ装置
2か月前
TOTO株式会社
トイレ装置
2か月前
TOTO株式会社
トイレ装置
2か月前
株式会社タカギ
水栓装置
4か月前
ホーコス株式会社
床置型グリース阻集器
2か月前
クリナップ株式会社
キッチン
1か月前
TOTO株式会社
浴室床
3か月前
TOTO株式会社
洗面器及び洗面台
3か月前
TOTO株式会社
洗面器及び洗面台
3か月前
三興建設株式会社
下水道バイパス装置
3か月前
株式会社Deto
吐水器
1か月前
TOTO株式会社
洗い場床
4か月前
共立製薬株式会社
小便器用排水システム
7日前
TOTO株式会社
トイレ装置
4か月前
TOTO株式会社
トイレ装置
4か月前
TOTO株式会社
排水管継手
3か月前
TOTO株式会社
排水管継手
3か月前
飛島建設株式会社
仮設壁の構築方法
1か月前
株式会社LIXIL
便器装置
1か月前
中国電力株式会社
資源供給システム
5か月前
株式会社LIXIL
便器装置
2か月前
続きを見る
他の特許を見る