TOP
|
特許
|
意匠
|
商標
特許ウォッチ
Twitter
他の特許を見る
公開番号
2025158334
公報種別
公開特許公報(A)
公開日
2025-10-17
出願番号
2024060769
出願日
2024-04-04
発明の名称
X線管装置
出願人
キヤノン電子管デバイス株式会社
代理人
弁理士法人スズエ国際特許事務所
主分類
H01J
35/16 20060101AFI20251009BHJP(基本的電気素子)
要約
【課題】 長期に安定した電気接続を得ることができるX線管装置を提供する。
【解決手段】 陰極と、先端部において前記陰極から放出された電子を受けてX線を発生する陽極と、陰極と陽極を収納して一面側を封止絶縁材で封止した真空外囲器と、を有するX線管本体と、真空外囲器に接続されて陽極に高電圧を供給すると共に陽極に形成された冷却液通路に冷却液を供給する高電圧コネクタと、を備えたX線管装置において、
高電圧コネクタに設けたコネクタ内部絶縁部材には、陽極の後端部が挿入されて連結する陽極連結孔が形成されている共に、陽極連結孔には高電圧ケーブルが接続された高電圧接点部品が露出されており、且つ陽極の冷却液通路の入口に接続される入口用通路と、冷却液通路の出口に接続される出口用通路が形成されている。
【選択図】 図4
特許請求の範囲
【請求項1】
陰極と、先端部において前記陰極から放出された電子を受けてX線を発生する陽極と、前記陰極と前記陽極を収納して一面側を封止絶縁材で封止した真空外囲器と、を有するX線管本体と、
前記真空外囲器に接続されて前記陽極に高電圧及び冷却液を供給する高電圧コネクタと、を備え、
前記陽極は、後端部が前記封止絶縁材を貫通して前記真空外囲器の外に突設させてあり、内部に冷却液が循環する冷却液通路が形成されており且つ前記後端部には冷却液通路の入口と出口とが開口されており、
前記高電圧コネクタは、絶縁材からなるコネクタ内部絶縁部材と、前記コネクタ内部絶縁部材を収納すると共に前記真空外囲器との脱着部を備える筐体とを備え、
前記コネクタ内部絶縁部材には、前記陽極の前記後端部が挿入されて連結する陽極連結孔が形成されていると共に前記陽極連結孔には高電圧ケーブルが接続された高電圧接点部品が設けてあり、更に一端が前記冷却液通路の前記入口に接続される入口用通路と一端が前記冷却液通路の前記出口に接続される出口用通路が形成されているX線管装置。
続きを表示(約 490 文字)
【請求項2】
前記入口用通路及び前記出口用通路には配管部材がなく、前記入口用通路の他端に配置された入口用配管と前記出口用通の他端に配置された出口用配管のみが設けてある請求項1に記載のX線管装置。
【請求項3】
前記コネクタ内部絶縁部材において、前記陽極連結孔には、前記陽極の前記後端部の外周に圧接して固定するシールリングを備えると共に前記シールリングを保持する溝が形成されている請求項1に記載のX線管装置。
【請求項4】
前記X線管本体の前記一面と前記高電圧コネクタとの間には絶縁板が挟持されており、前記陽極は、前記封止絶縁材に隣接する部分の径を大きくした鍔部を有し、前記真空外囲器の前記一面側では前記封止絶縁材と前記鍔部とが面一に形成されており、前記絶縁板は前記封止絶縁材と前記鍔部とで前記コネクタ内部絶縁部材に圧接されている請求項1に記載のX線管装置。
【請求項5】
前記コネクタ内部絶縁部材は柱状を成し、前記コネクタ内部絶縁部材の外周面と前記筐体の内周面との間には絶縁部材が充填されている請求項1に記載のX線管装置。
発明の詳細な説明
【技術分野】
【0001】
本発明の実施形態は、X線管装置に関する。
続きを表示(約 2,200 文字)
【背景技術】
【0002】
X線管装置は陰極側から放出した電子ビームを陽極に配置した陽極ターゲットに衝突させ、陽極ターゲットからX線を放射させる電子管であり、例えば医療診断、非破壊検査など種々の用途におけるX線発生手段として利用されている。X線管の陽極は電子ビームの衝突により高温になるため冷却が必要で、高電圧コネクタに冷却液通路を備え陽極を冷却できるようになっている(例えば、特許文献1参照)。
また、高出力のエンドウィンドウ型X線管では、ターゲットを効率よく冷却するためX線管の陽極内部に冷却液通路を備え、陽極の一方の端部から冷却液の供給と排出をできるようにしている(特許文献2参照)。
【先行技術文献】
【特許文献】
【0003】
特開平8-96889号公報
実開昭50-148974号公報
【発明の概要】
【発明が解決しようとする課題】
【0004】
しかし、冷却液通路から冷却液が漏れると、冷却液により絶縁破壊が生じるおそれがあり、これにより長期に安定した電気接続を得られないおそれがあった。
本実施形態は、長期に安定した電気接続を得ることができるX線管装置を提供する。
【課題を解決するための手段】
【0005】
一実施形態は、陰極と、先端部において前記陰極から放出された電子を受けてX線を発生する陽極と、前記陰極と前記陽極を収納して一面側を封止絶縁材で封止した真空外囲器と、を有するX線管本体と、
前記真空外囲器に接続されて前記陽極に高電圧及び冷却液を供給する高電圧コネクタと、を備え、
前記陽極は、後端部が前記封止絶縁材を貫通して前記真空外囲器の外に突設させてあり、内部に冷却液が循環する冷却液通路が形成されており且つ前記後端部には冷却液通路の入口と出口とが開口されており、
前記高電圧コネクタは、絶縁材からなるコネクタ内部絶縁部材と、前記コネクタ内部絶縁部材を収納すると共に前記真空外囲器との脱着部を備える筐体とを備え、
前記コネクタ内部絶縁部材には、前記陽極の前記後端部が挿入されて連結する陽極連結孔が形成されていると共に前記陽極連結孔には高電圧ケーブルが接続された高電圧接点部品が設けてあり、更に一端が前記冷却液通路の前記入口に接続される入口用通路と一端が前記冷却液通路の前記出口に接続される出口用通路が形成されているX線管装置である。
【図面の簡単な説明】
【0006】
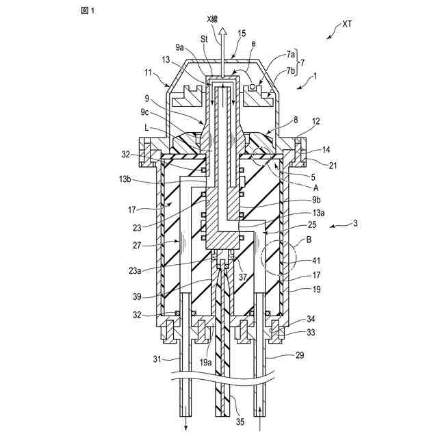
図1は、一実施形態に係るX線管装置の概略構造を示す縦断面図である。
図2は、図1に示すA部の拡大図である。
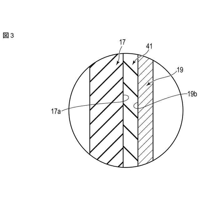
図3は、図1に示すB部の拡大図である。
図4は、図1に示すX線管装置の分解断面図である。
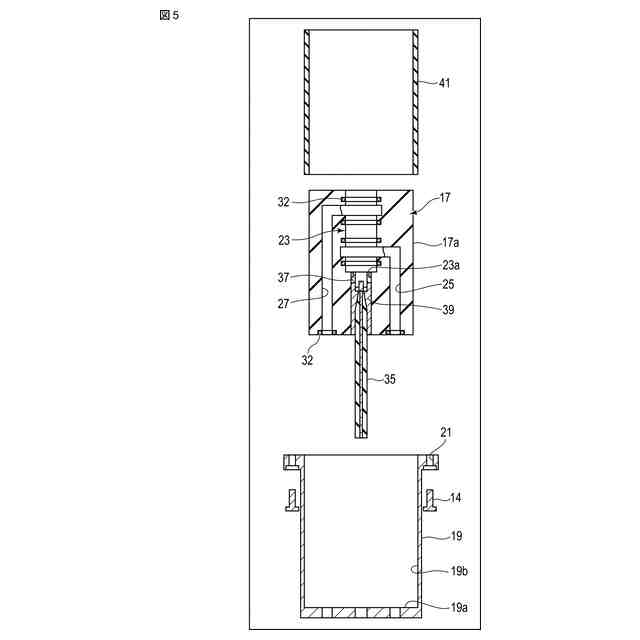
図5は、図4に示す高電圧コネクタの分解断面図である。
【発明を実施するための形態】
【0007】
以下に、本発明の実施の形態について、図面を参照しつつ説明する。なお、開示はあくまで一例にすぎず、当業者において、発明の趣旨を保っての適宣変更について容易に想到し得るものについては、当然に本発明の範囲に含有されるものである。また、図面や説明をより明確にするため、実際の様態に比べ、各部の幅、厚さ、形状等について模式的に表される場合があるが、あくまで一例であって、本発明の解釈を限定するものではない。また、本明細書と各図において、既出の図に関して前述したものと同様の要素には、同一の符号を付して、詳細な説明を適宣省略することがある。
以下、図面を参照しながら一実施形態に係るX線管装置について詳細に説明する。
【0008】
図1に示すように、X線管装置XTは、X線管本体1と、高電圧コネクタ3と、X線管本体1と高電圧コネクタ3との間に配置された絶縁板5とを備えている。
図1及び図4に示すように、X線管本体1は、陰極7と、陽極9と、陰極7と陽極9を収納し一面側を封止絶縁材8で封止した真空外囲器11と、を備えている。
【0009】
図1に示すように、陰極7は、陽極9の先端部9aを取り巻いて設けてあり、電子eを放出する電子放出源としてのフィラメント7aと、フィラメント7aから放出される電子eを集束させる集束電極7bとを備えている。
【0010】
陽極9は、先端にターゲット面Stを有し、ターゲット面Stで陰極7から放出された電子を受けてX線を発生する。発生されたX線は、ターゲット面Stの正面に位置する真空外囲器11のX線透過窓15から放出される。
陽極9は、真空外囲器11内に納められた先端部9aと、真空外囲器11の封止絶縁材8を貫通して真空外囲器11の外側に突出する後端部9bとから構成されている。陽極9の内部には、冷却液Lが循環する冷却液通路13が形成されており、後端部9bには冷却液通路13の入口13aと出口13bとが開口されている。冷却液通路13は、陽極9の内部を蛇行して形成されている。
図4に示すように、陽極9は、封止絶縁材8に隣接する部分の径を大きくした鍔部9cを有している。鍔部9cには、一面側に平坦な鍔部端面S4が形成されている。
(【0011】以降は省略されています)
この特許をJ-PlatPat(特許庁公式サイト)で参照する
関連特許
個人
フレキシブル電気化学素子
8日前
日本発條株式会社
積層体
19日前
ローム株式会社
半導体装置
10日前
ローム株式会社
半導体装置
17日前
ローム株式会社
半導体装置
17日前
日新イオン機器株式会社
イオン源
4日前
個人
防雪防塵カバー
19日前
ローム株式会社
半導体装置
15日前
株式会社ユーシン
操作装置
8日前
ローム株式会社
半導体装置
17日前
株式会社ホロン
冷陰極電子源
15日前
個人
半導体パッケージ用ガラス基板
18日前
オムロン株式会社
電磁継電器
9日前
太陽誘電株式会社
コイル部品
8日前
株式会社ホロン
冷陰極電子源
2日前
株式会社GSユアサ
蓄電装置
19日前
太陽誘電株式会社
全固体電池
15日前
株式会社GSユアサ
蓄電設備
8日前
株式会社GSユアサ
蓄電設備
8日前
株式会社GSユアサ
蓄電装置
15日前
トヨタ自動車株式会社
二次電池
19日前
トヨタ自動車株式会社
蓄電装置
8日前
トヨタ自動車株式会社
バッテリ
9日前
日本特殊陶業株式会社
保持装置
17日前
日本特殊陶業株式会社
保持装置
15日前
日本特殊陶業株式会社
保持装置
15日前
ノリタケ株式会社
熱伝導シート
8日前
TDK株式会社
電子部品
15日前
日東電工株式会社
積層体
9日前
サクサ株式会社
電池の固定構造
8日前
ローム株式会社
電子装置
19日前
日本特殊陶業株式会社
保持装置
19日前
TDK株式会社
コイル部品
17日前
ローム株式会社
半導体装置
10日前
株式会社カネカ
正極活物質
19日前
住友電装株式会社
コネクタ
19日前
続きを見る
他の特許を見る