TOP
|
特許
|
意匠
|
商標
特許ウォッチ
Twitter
他の特許を見る
公開番号
2025158294
公報種別
公開特許公報(A)
公開日
2025-10-17
出願番号
2024060690
出願日
2024-04-04
発明の名称
モータ駆動装置、送風機、モータ駆動装置の制御方法
出願人
三菱電機株式会社
代理人
個人
,
個人
,
個人
主分類
H02P
6/20 20160101AFI20251009BHJP(電力の発電,変換,配電)
要約
【課題】制御部を動作させる電源とモータ駆動用の電源との供給が同時に遮断した場合においても、異常動作を発生させずに、モータを再駆動させる。
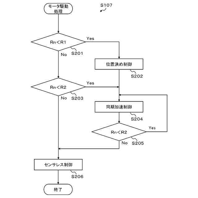
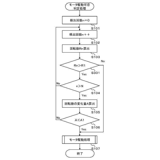
【解決手段】モータ駆動装置10は、外部電源50から供給される電力を、モータ20を駆動するための駆動電力に変換し出力するインバータ11と、モータ20の回転数を算出する回転数算出部12dと、モータ20の運転指令を受信した場合に、回転数算出部12dが算出したモータ20の回転数を少なくとも2回以上取得し、複数の回転数から一定時間当たりの回転数の変化量である回転数変化量を算出する回転数変化量算出部12eと、回転数変化量が駆動可能変化量閾値A1より大きい場合はモータ20を駆動させないと判断し、回転数変化量が駆動可能変化量閾値A1以下の場合はモータ20を駆動させると判断するモータ駆動可否判定部12aとを備える。
【選択図】図2
特許請求の範囲
【請求項1】
外部電源から供給される電力を、モータを駆動するための駆動電力に変換し出力するインバータと、
前記モータの回転数を算出する回転数算出部と、前記モータの運転指令を受信した場合に、前記回転数算出部が算出した前記モータの回転数を少なくとも2回以上取得し、複数の前記回転数から一定時間当たりの回転数の変化量である回転数変化量を算出する回転数変化量算出部と、前記回転数変化量が駆動可能変化量閾値より大きい場合は前記モータを駆動させないと判断し、前記回転数変化量が前記駆動可能変化量閾値以下の場合は前記モータを駆動させると判断するモータ駆動可否判定部と、前記モータ駆動可否判定部がモータを駆動させると判断した場合、前記モータを駆動させるようにインバータを制御するインバータ制御部と、を備える制御部と、
を備えることを特徴とするモータ駆動装置。
続きを表示(約 1,700 文字)
【請求項2】
前記モータは、ロータに永久磁石を使用した永久磁石同期モータであることを特徴とする請求項1に記載のモータ駆動装置。
【請求項3】
前記モータは、前記ロータの位置を検出するセンサを有さない、センサレス永久磁石同期モータであることを特徴とする請求項2に記載のモータ駆動装置。
【請求項4】
前記回転数算出部が算出した回転数が位置決め制御閾値より小さい場合、前記モータ駆動可否判定部は、前記回転数の変化量によらず、前記モータを駆動させると判断し、前記インバータ制御部は、前記モータを位置決め制御し、駆動させることを特徴とする請求項2または3に記載のモータ駆動装置。
【請求項5】
前記インバータ制御部は、前記回転数変化量が前記駆動可能変化量閾値以下、かつ、前記回転数算出部が算出した回転数がセンサレス制御可能回転数閾値以上の場合は、前記モータをセンサレス制御によって駆動させることを特徴とする請求項2または3に記載のモータ駆動装置。
【請求項6】
前記モータ駆動可否判定部によって、前記モータを駆動させないと判断した場合、前記回転数変化量算出部が算出する回転数変化量が前記駆動可能変化量閾値以下となるまで、前記回転数算出部による回転数の算出と、前記回転数変化量算出部による回転数変化量の算出とを繰り返すことを特徴とする請求項1から3いずれか1項に記載のモータ駆動装置。
【請求項7】
前記モータ駆動可否判定部によって、前記モータを駆動させないと判断した場合、前記回転数変化量算出部が算出する回転数変化量が前記駆動可能変化量閾値以下となる、または、前記回転数算出部が算出した回転数が位置決め制御閾値より小さくなるまで、前記回転数算出部による回転数の算出と、前記回転数変化量算出部による回転数変化量の算出とを繰り返すことを特徴とする請求項4に記載のモータ駆動装置。
【請求項8】
モータと、
外部電源から供給される電力を、モータを駆動するための駆動電力に変換し出力するインバータと、前記モータの回転数を算出する回転数算出部と、前記モータの運転指令を受信した場合に、前記回転数算出部が算出した前記モータの回転数を少なくとも2回以上取得し、複数の前記回転数から一定時間当たりの回転数の変化量である回転数変化量を算出する回転数変化量算出部と、前記回転数変化量が駆動可能変化量閾値より大きい場合は前記モータを駆動させないと判断し、前記回転数変化量が前記駆動可能変化量閾値以下の場合は前記モータを駆動させると判断するモータ駆動可否判定部と、前記モータ駆動可否判定部がモータを駆動させると判断した場合、前記モータを駆動させるようにインバータを制御するインバータ制御部とを備える制御部と、を備えたモータ駆動装置と、
前記モータに取り付けられ、前記モータの駆動によって回転し、気流を発生させる羽根車と、
を備えることを特徴とする送風機。
【請求項9】
外部電源から供給される電力を、モータを駆動するための駆動電力に変換し出力するインバータと、前記モータの回転数によって前記インバータを制御する制御部と、を備えたモータ駆動装置の制御方法であって、
前記制御部が、前記モータの回転数を算出する回転数算出ステップと、
前記制御部が、前記モータの運転指令を受信した場合に、前記回転数算出ステップで算出した前記モータの回転数を少なくとも2回以上取得し、複数の前記回転数から一定時間当たりの回転数の変化量である回転数変化量を算出する回転数変化量算出ステップと、
前記制御部が、前記回転数変化量が駆動可能変化量閾値より大きい場合は前記モータを駆動させないと判断し、前記回転数変化量が前記駆動可能変化量閾値以下の場合は前記モータを駆動させると判断するモータ駆動可否判定ステップと、
前記モータ駆動可否判定ステップでモータを駆動させると判断した場合、前記モータを駆動させるように前記制御部がインバータを制御するインバータ制御ステップと、
を備えるモータ駆動装置の制御方法。
発明の詳細な説明
【技術分野】
【0001】
本開示は、モータの駆動を行うモータ駆動装置およびモータ駆動装置を用いた送風機に関する。
続きを表示(約 2,200 文字)
【背景技術】
【0002】
近年、モータとして、高効率性と静音性とから、ブラシを有さず、ロータ(回転子)に永久磁石が搭載された永久磁石同期モータが採用されつつある。永久磁石同期モータの制御には、ロータの磁極位置の検出が必要となる。ロータの磁極位置の検出には、ホールICなどの磁気センサやエンコーダなどの光センサを用いる。また、低コスト化のために、磁極位置を電気的な情報から推定するセンサレス方式の永久磁石同期モータがある。磁極位置を推定するためには、モータの固定子巻線に流れる電流を正確に計測することが必要になる。
【0003】
モータを、送風機の駆動に用いる場合、ロータに取り付けられた羽根車の重量によって、ロータは慣性を有するため、インバータから駆動用電流の供給が停止した後も一定期間回転を継続する。このような惰性回転状態から再起動する場合、インバータの過電圧や過電流または、モータの脱調などの異常を発生させる恐れがある。例えば、特許文献1では、モータ運転停止時に、所定回転数までインバータ制御によって回転数を低下させる手法が提案されている。
【先行技術文献】
【特許文献】
【0004】
特開2013―017289号公報
【発明の概要】
【発明が解決しようとする課題】
【0005】
しかしながら、特許文献1に開示されている方法では、モータの駆動を制御する制御部は、モータを停止させる前に、所定回転数までインバータ制御によりモータの回転数を低下させる必要がある。そのため、制御部を動作させる電源とモータ駆動用の電源との供給が同時に遮断されてしまう停電時には適用できない。
【0006】
本開示は、上述のような課題を解決するためになされたもので、制御部を動作させる電源とモータ駆動用の電源との供給が同時に遮断した場合においても、脱調や過電流による異常動作を発生させずに、モータを再起動させることができるモータ駆動装置を得ることを目的とする。
【課題を解決するための手段】
【0007】
本開示に係るモータ駆動装置は、外部電源から供給される電力を、モータを駆動するための駆動電力に変換し出力するインバータと、モータの回転数を算出する回転数算出部と、モータの運転指令を受信した場合に、回転数算出部が算出したモータの回転数を少なくとも2回以上取得し、複数の回転数から一定時間当たりの回転数の変化量である回転数変化量を算出する回転数変化量算出部と、回転数変化量が駆動可能変化量閾値より大きい場合はモータを駆動させないと判断し、回転数変化量が駆動可能変化量閾値以下の場合はモータを駆動させると判断するモータ駆動可否判定部と、モータ駆動可否判定部がモータを駆動させると判断した場合、モータを駆動させるようにインバータを制御するインバータ制御部とを備える制御部と、を備えるものである。
【0008】
また、本開示に係るモータ駆動装置を用いた送風機は、モータと、外部電源から供給される電力を、モータを駆動するための駆動電力に変換し出力するインバータと、モータの回転数を算出する回転数算出部と、モータの運転指令を受信した場合に、回転数算出部が算出したモータの回転数を少なくとも2回以上取得し、複数の回転数から一定時間当たりの回転数の変化量である回転数変化量を算出する回転数変化量算出部と、回転数変化量が駆動可能変化量閾値より大きい場合はモータを駆動させないと判断し、回転数変化量が駆動可能変化量閾値以下の場合はモータを駆動させると判断するモータ駆動可否判定部と、モータ駆動可否判定部がモータを駆動させると判断した場合、モータを駆動させるようにインバータを制御するインバータ制御部とを備える制御部と、を備えたモータ駆動装置と、モータに取り付けられ、モータの駆動によって回転し、気流を発生させる羽根車と、を備えるものである。
【0009】
また、本開示に係るモータ駆動装置の制御方法は、外部電源から供給される電力を、モータを駆動するための駆動電力に変換し出力するインバータと、モータの回転数によってインバータを制御する制御部と、を備えたモータ駆動装置の制御方法であって、制御部が、モータの回転数を算出する回転数算出ステップと、制御部が、モータの運転指令を受信した場合に、回転数算出ステップで算出したモータの回転数を少なくとも2回以上取得し、複数の回転数から一定時間当たりの回転数の変化量である回転数変化量を算出する回転数変化量算出ステップと、制御部が、回転数変化量が駆動可能変化量閾値より大きい場合はモータを駆動させないと判断し、回転数変化量が駆動可能変化量閾値以下の場合はモータを駆動させると判断するモータ駆動可否判定ステップと、モータ駆動可否判定ステップでモータを駆動させると判断した場合、モータを駆動させるように制御部がインバータを制御するインバータ制御ステップと、を備えるものである。
【発明の効果】
【0010】
本開示によれば、制御部を動作させる電源とモータ駆動用の電源との供給が同時に遮断した場合においても、脱調や過電流による異常動作を発生させずに、モータを再起動させることができるモータ駆動装置を得ることができる。
【図面の簡単な説明】
(【0011】以降は省略されています)
この特許をJ-PlatPat(特許庁公式サイト)で参照する
関連特許
三菱電機株式会社
換気扇
3日前
三菱電機株式会社
換気扇
3日前
三菱電機株式会社
換気扇
3日前
三菱電機株式会社
照明器具
1か月前
三菱電機株式会社
回転電機
1か月前
三菱電機株式会社
回転電機
19日前
三菱電機株式会社
回転電機
29日前
三菱電機株式会社
換気装置
1か月前
三菱電機株式会社
電子機器
4日前
三菱電機株式会社
照明装置
29日前
三菱電機株式会社
回転電機
1か月前
三菱電機株式会社
照明装置
1か月前
三菱電機株式会社
回転電機
1か月前
三菱電機株式会社
収集装置
1日前
三菱電機株式会社
回路遮断器
1か月前
三菱電機株式会社
半導体装置
9日前
三菱電機株式会社
電気掃除機
1か月前
三菱電機株式会社
半導体装置
23日前
三菱電機株式会社
半導体装置
1か月前
三菱電機株式会社
加熱調理器
22日前
三菱電機株式会社
半導体装置
1か月前
三菱電機株式会社
半導体装置
1か月前
三菱電機株式会社
半導体装置
29日前
三菱電機株式会社
車両制御装置
1か月前
三菱電機株式会社
電力変換装置
29日前
三菱電機株式会社
照明システム
9日前
三菱電機株式会社
空気調和装置
1か月前
三菱電機株式会社
貯湯式給湯機
19日前
三菱電機株式会社
電力変換装置
1か月前
三菱電機株式会社
ネジ取出機構
1か月前
三菱電機株式会社
回転電機装置
1か月前
三菱電機株式会社
給湯システム
22日前
三菱電機株式会社
非常用照明装置
22日前
三菱電機株式会社
電動機制御装置
15日前
三菱電機株式会社
送電線保護装置
29日前
三菱電機株式会社
屋外設置用筐体
1か月前
続きを見る
他の特許を見る