TOP
|
特許
|
意匠
|
商標
特許ウォッチ
Twitter
他の特許を見る
10個以上の画像は省略されています。
公開番号
2025157623
公報種別
公開特許公報(A)
公開日
2025-10-16
出願番号
2022132783
出願日
2022-08-23
発明の名称
端末、無線通信方法及び基地局
出願人
株式会社NTTドコモ
代理人
個人
,
個人
,
個人
主分類
H04W
72/1268 20230101AFI20251008BHJP(電気通信技術)
要約
【課題】同じサービングセル/同じPDCCHモニタリング機会に対して複数のDCIが対応する場合であってもPUCCHリソースを適切に決定する端末、無線通信方法及び基地局を提供する。
【解決手段】端末は、上り制御チャネルの送信タイミングに関する情報を含む下り制御情報を受信する受信部と、上り制御チャネルの送信タイミングとして同じ時間領域を指示する複数の下り制御情報を受信した場合、複数の下り制御情報のうちインデックスが最後の下り制御情報に基づいて上り制御チャネルリソースを判断する制御部と、を有し、同じサービングセルの同じ下り制御チャネルモニタリング機会に複数の下り制御情報が対応する場合、各下り制御情報に対応する1以上のパラメータに基づいて各下り制御情報のインデックスを決定する。
【選択図】図5
特許請求の範囲
【請求項1】
上り制御チャネルの送信タイミングに関する情報を含む下り制御情報を受信する受信部と、
前記上り制御チャネルの送信タイミングとして同じ時間領域を指示する複数の下り制御情報を受信した場合、前記複数の下り制御情報のうちインデックスが最後の下り制御情報に基づいて上り制御チャネルリソースを判断する制御部と、を有し、
同じサービングセルの同じ下り制御チャネルモニタリング機会に複数の下り制御情報が対応する場合、各下り制御情報に対応する1以上のパラメータに基づいて前記各下り制御情報のインデックスが決定される端末。
続きを表示(約 930 文字)
【請求項2】
前記下り制御状態に対応する1以上のパラメータは、前記各下り制御情報に対応する制御リソースセットプールインデックス、前記各下り制御情報が下り共有チャネルをスケジュールするか否か、及び前記各下り制御情報がそれぞれスケジュールする下り共有チャネルの開始時間の少なくとも一つである請求項1に記載の端末。
【請求項3】
前記各下り制御情報が下り共有チャネルをスケジュールしない場合、前記各下り制御情報の機能に基づいて前記各下り制御情報のインデックスが決定される請求項1に記載の端末。
【請求項4】
前記下り制御状態に対応する1以上のパラメータは、前記各下り制御情報に対応する制御リソースセットインデックス及び下り制御チャネル候補インデックスの少なくとも一つである請求項1に記載の端末。
【請求項5】
上り制御チャネルの送信タイミングに関する情報を含む下り制御情報を受信する工程と、
前記上り制御チャネルの送信タイミングとして同じ時間領域を指示する複数の下り制御情報を受信した場合、前記複数の下り制御情報のうちインデックスが最後の下り制御情報に基づいて上り制御チャネルリソースを判断する工程と、を有し、
同じサービングセルの同じ下り制御チャネルモニタリング機会に複数の下り制御情報が対応する場合、各下り制御情報に対応する1以上のパラメータに基づいて前記各下り制御情報のインデックスが決定される端末の無線通信方法。
【請求項6】
上り制御チャネルの送信タイミングに関する情報を含む下り制御情報を送信する送信部と、
前記上り制御チャネルの送信タイミングとして同じ時間領域を指示する複数の下り制御情報を送信する場合、前記複数の下り制御情報のうちインデックスが最後の下り制御情報を利用して上り制御チャネルリソースを指示するように制御する制御部と、を有し、
同じサービングセルの同じ下り制御チャネルモニタリング機会に複数の下り制御情報が対応する場合、各下り制御情報に対応する1以上のパラメータに基づいて前記各下り制御情報のインデックスが決定される基地局。
発明の詳細な説明
【技術分野】
【0001】
本開示は、次世代移動通信システムにおける端末、無線通信方法及び基地局に関する。
続きを表示(約 1,800 文字)
【背景技術】
【0002】
Universal Mobile Telecommunications System(UMTS)ネットワークにおいて、更なる高速データレート、低遅延などを目的としてLong Term Evolution(LTE)が仕様化された(非特許文献1)。また、LTE(Third Generation Partnership Project(3GPP(登録商標)) Release(Rel.)8、9)の更なる大容量、高度化などを目的として、LTE-Advanced(3GPP Rel.10-14)が仕様化された。
【0003】
LTEの後継システム(例えば、5th generation mobile communication system(5G)、5G+(plus)、6th generation mobile communication system(6G)、New Radio(NR)、3GPP Rel.15以降などともいう)も検討されている。
【先行技術文献】
【非特許文献】
【0004】
3GPP TS 36.300 V8.12.0 “Evolved Universal Terrestrial Radio Access (E-UTRA) and Evolved Universal Terrestrial Radio Access Network (E-UTRAN); Overall description; Stage 2 (Release 8)”、2010年4月
【発明の概要】
【発明が解決しようとする課題】
【0005】
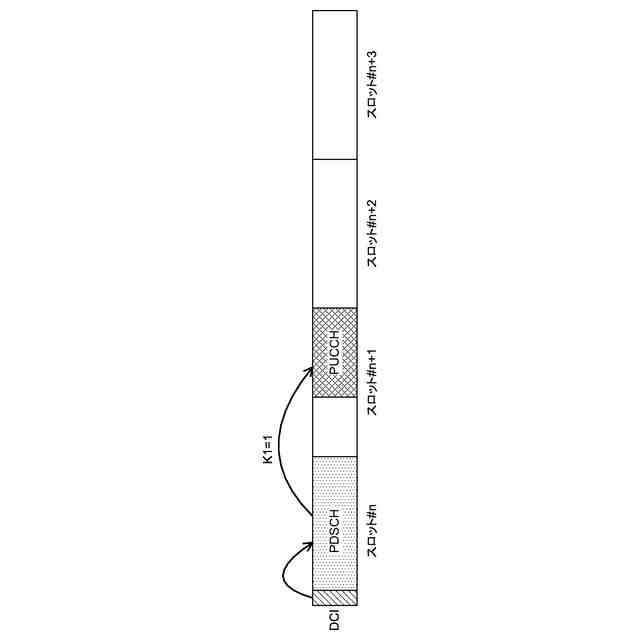
既存の無線通信システム(例えば、Rel.15 NR)において、端末(ユーザ端末(user terminal)、User Equipment(UE))は、上り制御チャネル(例えば、PUCCH)を利用して上り制御情報(例えば、HARQ-ACK)をフィードバックすることがサポートされている。また、UEは、下り制御情報(例えば、DCI)に含まれる上り制御チャネルリソース指示に関する情報に基づいて、PUCCHに利用するリソース(例えば、PUCCHリソース)を判断することがサポートされている。
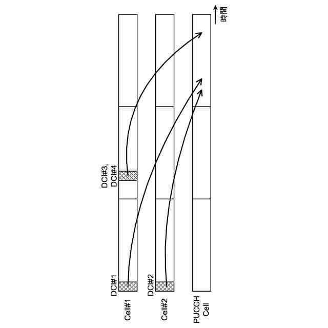
【0006】
複数のDCIによりある時間領域(例えば、スロット/シンボル)におけるHARQ-ACKフィードバックが指示される場合、UEは、複数のDCIのうち特定のDCI(例えば、最後のDCI)に基づいてPUCCHリソースを決定する。最後のDCIは、サービングセルインデックス/PDCCHモニタリング機会に基づいて付与されるインデックスに基づいて決定されてもよい。
【0007】
一方で、将来の無線通信システムでは、同じサービングセル/同じPDCCHモニタリング機会に対して複数のDCIが対応するケースも考えられる。かかる場合、PUCCHリソースをどのように決定するかが問題となる。
【0008】
そこで、本開示は、同じサービングセル/同じPDCCHモニタリング機会に対して複数のDCIが対応する場合であってもPUCCHリソースを適切に決定することができる端末、無線通信方法及び基地局を提供することを目的の1つとする。
【課題を解決するための手段】
【0009】
本開示の一態様に係る端末は上り制御チャネルの送信タイミングに関する情報を含む下り制御情報を受信する受信部と、前記上り制御チャネルの送信タイミングとして同じ時間領域を指示する複数の下り制御情報を受信した場合、前記複数の下り制御情報のうちインデックスが最後の下り制御情報に基づいて上り制御チャネルリソースを判断する制御部と、を有し、同じサービングセルの同じ下り制御チャネルモニタリング機会に複数の下り制御情報が対応する場合、各下り制御情報に対応する1以上のパラメータに基づいて前記各下り制御情報のインデックスが決定される。
【発明の効果】
【0010】
本開示の一態様によれば、同じサービングセル/同じPDCCHモニタリング機会に対して複数のDCIが対応する場合であってもPUCCHリソースを適切に決定することができる。
【図面の簡単な説明】
(【0011】以降は省略されています)
特許ウォッチbot のツイートを見る
この特許をJ-PlatPat(特許庁公式サイト)で参照する
関連特許
個人
イヤーピース
11日前
個人
イヤーマフ
25日前
個人
監視カメラシステム
1か月前
個人
スイッチシステム
19日前
キーコム株式会社
光伝送線路
1か月前
個人
スキャン式車載用撮像装置
1か月前
サクサ株式会社
中継装置
1か月前
サクサ株式会社
中継装置
1か月前
個人
映像表示装置、及びARグラス
20日前
株式会社リコー
画像形成装置
27日前
キヤノン電子株式会社
画像読取装置
19日前
サクサ株式会社
無線システム
1か月前
キヤノン電子株式会社
画像読取装置
1か月前
ヤマハ株式会社
放音制御装置
19日前
サクサ株式会社
無線通信装置
1か月前
サクサ株式会社
無線通信装置
1か月前
キヤノン電子株式会社
画像読取装置
11日前
キヤノン電子株式会社
シート搬送装置
11日前
個人
発信機及び発信方法
1か月前
キヤノン株式会社
画像処理装置
14日前
日本電気株式会社
海底分岐装置
1か月前
シャープ株式会社
端末装置
1か月前
株式会社NTTドコモ
端末
1か月前
株式会社NTTドコモ
端末
1か月前
沖電気工業株式会社
画像形成装置
1か月前
株式会社NTTドコモ
端末
1か月前
キヤノン電子株式会社
画像処理システム
1か月前
株式会社JVCケンウッド
通信システム
1か月前
有限会社フィデリックス
マイクロフォン
1か月前
株式会社NTTドコモ
端末
1か月前
株式会社NTTドコモ
端末
1か月前
シャープ株式会社
表示装置
11日前
シャープ株式会社
表示装置
11日前
ダイハツ工業株式会社
人流取得装置
1か月前
技術開発合同会社
電子拡大鏡
20日前
個人
回動アームを構築する関節モジュール
1か月前
続きを見る
他の特許を見る