TOP
|
特許
|
意匠
|
商標
特許ウォッチ
Twitter
他の特許を見る
10個以上の画像は省略されています。
公開番号
2025157269
公報種別
公開特許公報(A)
公開日
2025-10-15
出願番号
2025107937,2024566308
出願日
2025-06-26,2023-05-18
発明の名称
高速サンプラ
出願人
クゥアルコム・インコーポレイテッド
,
QUALCOMM INCORPORATED
代理人
弁理士法人鈴榮特許綜合事務所
主分類
H03K
17/00 20060101AFI20251007BHJP(基本電子回路)
要約
【課題】サンプラの速度を増加させ、サンプラの感度を増加させる再生回路及び方法を提供する。
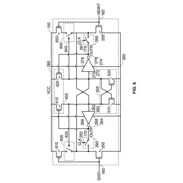
【解決手段】再生回路150は、第2の反転回路270の入力272に結合された第1のトランジスタ250、第1の反転回路260の入力262に結合された第2のトランジスタ255、第3のトランジスタ610及び第4のトランジスタ620を含む。第1のトランジスタ及び第3のトランジスタの各ゲートは、第1の入力160に結合され、第2のトランジスタ及び第4のトランジスタの各ゲートは、第2の入力165に結合される。再生回路は、第3のスイッチ630及び第4のスイッチ645を更に含み、第3のスイッチ及び第3のトランジスタは、レール280と第2のトランジスタとの間で直列に結合され、第4のスイッチ及び第4のトランジスタは、レールと第2のトランジスタとの間で直列に結合される。
【選択図】図6
特許請求の範囲
【請求項1】
入力及び出力を有する第1の反転回路と、
入力及び出力を有する第2の反転回路と、
前記第2の反転回路の前記入力に結合された第1のトランジスタであって、前記第1のトランジスタのゲートが第1の入力に結合されている、第1のトランジスタと、
前記第1の反転回路の前記入力に結合された第2のトランジスタであって、前記第2のトランジスタのゲートが第2の入力に結合されている、第2のトランジスタと、
第3のトランジスタであって、前記第3のトランジスタのゲートが前記第1の入力に結合されている、第3のトランジスタと、
第4のトランジスタであって、前記第4のトランジスタのゲートが前記第2の入力に結合されている、第4のトランジスタと、
第1のスイッチであって、前記第1のスイッチ及び前記第3のトランジスタが、第1のレールと前記第1のトランジスタとの間で直列に結合されている、第1のスイッチと、
第2のスイッチであって、前記第2のスイッチ及び前記第4のトランジスタが、前記第1のレールと前記第2のトランジスタとの間で直列に結合されている、第2のスイッチと、を備える再生回路。
続きを表示(約 1,000 文字)
【請求項2】
前記第1のスイッチが、前記第3のトランジスタのドレインと前記第1のトランジスタのドレインとの間に結合され、
前記第2のスイッチが、前記第4のトランジスタのドレインと前記第2のトランジスタのドレインとの間に結合されている、請求項1に記載の再生回路。
【請求項3】
前記第3のトランジスタのソースが、前記第1のレールに結合され、
前記第4のトランジスタのソースが、前記第1のレールに結合され、
前記第1のトランジスタのソースが、第2のレールに結合され、
前記第2のトランジスタのソースが、前記第2のレールに結合されている、請求項2に記載の再生回路。
【請求項4】
前記第2のレールが接地に結合されている、請求項3に記載の再生回路。
【請求項5】
前記第1のトランジスタが、第1のn型電界効果トランジスタ(NFET)を備え、
前記第2のトランジスタが、第2のNFETを備え、
前記第3のトランジスタが、第1のp型電界効果トランジスタ(PFET)を備え、
前記第4のトランジスタが、第2のPFETを備える、請求項1に記載の再生回路。
【請求項6】
前記第1のスイッチが、前記第1の反転回路の前記入力に結合された制御入力を有し、 前記第2のスイッチが、前記第2の反転回路の前記入力に結合された制御入力を有する、請求項1に記載の再生回路。
【請求項7】
前記第1のスイッチが、前記第1の反転回路の前記入力に結合されたゲートを有する第1のp型電界効果トランジスタ(PFET)を備え、
前記第2のスイッチが、前記第2の反転回路の前記入力に結合されたゲートを有する第2のPFETを備える、請求項6に記載の再生回路。
【請求項8】
前記第1のトランジスタと前記第1の反転回路の前記出力との間に結合された第3のスイッチと、
前記第2のトランジスタと前記第2の反転回路の前記出力との間に結合された第4のスイッチと、を更に備える、請求項1に記載の再生回路。
【請求項9】
前記第3のスイッチが、タイミング信号を受信するように構成された制御入力を有し、 前記第4のスイッチが、前記タイミング信号を受信するように構成された制御入力を有する、請求項8に記載の再生回路。
【請求項10】
前記タイミング信号が、クロック信号を含む、請求項9に記載の再生回路。
(【請求項11】以降は省略されています)
発明の詳細な説明
【技術分野】
【0001】
関連出願の相互参照
[0001] 本出願は、2022年06月2日に米国特許商標庁に出願された非仮特許出願第17/805,211号の優先権及び利益を主張し、その全体が以下に完全に記載されるかのように、かつ全ての適用可能な目的のために、その内容全体が本明細書に組み込まれる。
続きを表示(約 3,300 文字)
【背景技術】
【0002】
分野
[0002] 本開示の態様は、全般的にはサンプラに関し、より詳細には高速サンプラに関する。
【0003】
背景
[0003] 高速サンプラは、高速シリアライザ/デシリアライザ(serializer/deserializer、SerDes)用途で使用され得る。例えば、サンプラは、受信機によって受信された高速信号をサンプリングするために高速SerDesにおいて使用され得る。サンプラは、受信された信号からデータビットを迅速に捕捉するための再生フィードバックをサンプラに提供する再生回路を含み得る。より高いデータレートで信号をサンプリングするためにサンプラの速度を増加させること、及び/又は小さい信号からデータビットを捕捉するためにサンプラの感度を増加させることが望ましい。
【発明の概要】
【0004】
[0004] 以下では、1つ又は複数の実装形態の簡略化された概要が、そのような実装形態の基本的理解をもたらすために提示される。この「発明の概要」は、想到されている全ての実装形態の広範囲にわたる概観ではなく、全ての実装形態の主要な要素又は重要な要素を特定することも、全ての実装形態の範囲を明示することも意図するものではない。その唯一の目的は、後に提示される「発明を実施するための形態」に対する導入部として、1つ又は複数の実装形態のいくつかの構想を簡略化された形式で提示することである。
【0005】
[0005] 第1の態様は、再生回路に関する。再生回路は、入力及び出力を有する第1の反転回路と、入力及び出力を有する第2の反転回路とを含む。再生回路はまた、第2の反転回路の入力に結合された第1のトランジスタであって、第1のトランジスタのゲートが第1の入力に結合されている、第1のトランジスタと、第1の反転回路の入力に結合された第2のトランジスタであって、第2のトランジスタのゲートが第2の入力に結合されている、第2のトランジスタと、を含む。再生回路は、第3のトランジスタであって、そのゲートが第1の入力に結合されている、第3のトランジスタと、第4のトランジスタであって、そのゲートが第2の入力に結合されている、第4のトランジスタとを更に含む。再生回路は、第1のスイッチであって、第1のスイッチ及び第3のトランジスタが第1のレールと第1のトランジスタとの間で直列に結合されている、第1のスイッチと、第2のスイッチであって、第2のスイッチ及び第4のトランジスタが第1のレールと第2のトランジスタとの間で直列に結合されている、第2のスイッチと、を更に含む。
【0006】
[0006] 第2の態様は、再生回路に関する。再生回路は、入力及び出力を有する第1の反転回路と、入力及び出力を有する第2の反転回路と、第2の反転回路の入力に結合された第1のトランジスタであって、第1のトランジスタのゲートが第1の入力に結合されている、第1のトランジスタと、第1の反転回路の入力に結合された第2のトランジスタであって、第2のトランジスタのゲートが第2の入力に結合されている、第2のトランジスタと、を含む。再生回路はまた、第1の反転回路の入力及び第2の反転回路の入力に結合されたプルアップ回路と、第1の反転回路の入力及び第2の反転回路の入力に結合されたプルダウン回路と、を含む。
【0007】
[0007] 第3の態様は、サンプラの再生回路を動作させる方法に関する。再生回路は、入力及び出力を有する第1の反転回路と、入力及び出力を有する第2の反転回路と、第2の反転回路の入力に結合された第1のトランジスタと、第1の反転回路の入力に結合された第2のトランジスタと、第3のトランジスタと、第4のトランジスタとを含む。本方法は、リセットフェーズ中に、第1の反転回路及び第2の反転回路の再生フィードバックを無効化することを含む。本方法はまた、再生フェーズ中に、第1の反転回路及び第2の反転回路の再生フィードバックを有効化し、第1のトランジスタのゲート及び第3のトランジスタのゲートを第1の電圧で駆動し、第2のトランジスタのゲート及び第4のトランジスタのゲートを第2の電圧で駆動し、第3のトランジスタを第1の反転回路の出力に結合するか、又は第4のトランジスタを第2の反転回路の出力に結合すること、を含む。
【図面の簡単な説明】
【0008】
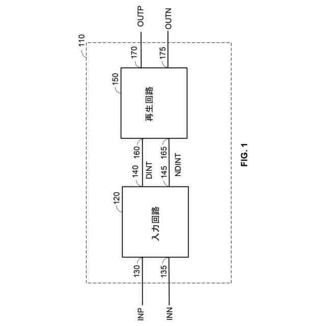
[0008] 本開示の特定の態様による、入力回路及び再生回路を含むサンプラの一例を示す。
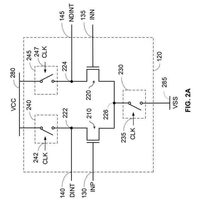
[0009] 本開示の特定の態様による、入力回路の例示的な実装形態を示す。
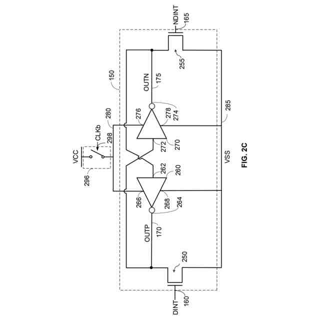
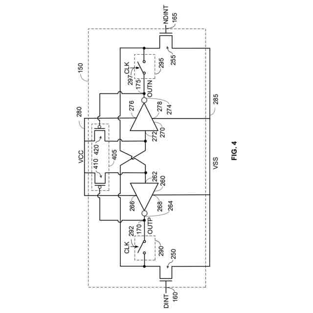
[0010] 本開示の特定の態様による、再生回路の例示的な実装形態を示す。
[0011] 本開示の特定の態様による、再生回路の別の例示的な実装形態を示す。
[0012] 本開示の特定の態様による、入力回路によって再生回路に出力される電圧の一例を示すタイミング図である。
[0013] 本開示の特定の態様による、入力回路によって再生回路に出力される電圧の別の一例を示すタイミング図である。
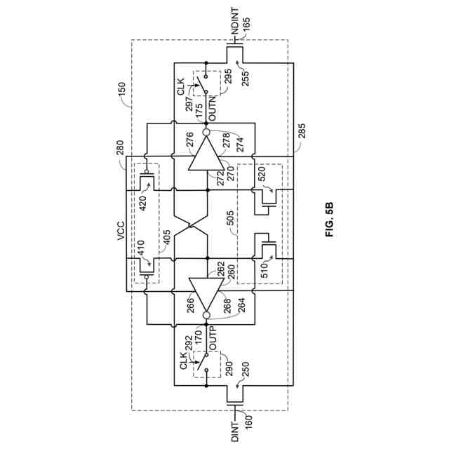
[0014] 本開示の特定の態様による、プルアップ回路を含む再生回路の一例を示す。
[0015] 本開示の特定の態様による、プルダウン回路を含む再生回路の一例を示す。
[0016] 本開示の特定の態様による、プルダウン回路を含む再生回路の別の一例を示す。
[0017] 本開示の特定の態様による、プルアップ経路を提供する入力トランジスタを含む再生回路の一例を示す。
[0018] 本開示の特定の態様による、入力トランジスタの例示的な実装形態を示す。
[0019] 本開示の特定の態様による、再生回路内のスイッチの例示的な実装形態を示す。
[0020] 本開示の特定の態様による、再生回路内の第1の反転回路の例示的な実装形態を示す。
[0021] 本開示の特定の態様による、再生回路内の第2の反転回路の例示的な実装形態を示す。
[0022] 本開示の特定の態様による、入力回路内のスイッチの例示的な実装形態を示す。
[0023] 本開示の特定の態様による、本開示の特定の態様が使用され得るシステムの一例を示す。
[0024] 本開示の特定の態様による、再生回路を動作させる方法を示すフローチャートである。
【発明を実施するための形態】
【0009】
[0025] 添付図面に関連して、以下に記載される「発明を実施するための形態」は、様々な構成の説明として意図されているものであり、本明細書で説明される構想を実践することが可能な唯一の構成を表すことを意図するものではない。「発明を実施するための形態」は、様々な構想の完全な理解をもたらすことを目的とする、具体的な詳細を含む。しかしながら、当業者には、これらの具体的な詳細を伴わずとも、これらの構想を実践することができる点が明らかとなるであろう。場合によっては、そのような構想を不明瞭にすることを回避するために、周知の構造及び構成要素は、ブロック図の形式で示されている。
【0010】
[0026] 図1は、本開示の特定の態様による、サンプラ110の一例を示す。サンプラ110は、例えば、高速SerDesにおいて、入来したデータ信号をサンプリングするために使用され得る。サンプラ110は、センス増幅器、又は別の用語で呼ばれることもある。サンプラ110は、入力回路120及び再生回路150を含む。入力回路120は、入力段又は別の用語で呼ばれることもあり、再生回路150は、再生段、ラッチ(例えば、交差結合ラッチ)、又は別の用語で呼ばれることもある。
(【0011】以降は省略されています)
この特許をJ-PlatPat(特許庁公式サイト)で参照する
関連特許
エイブリック株式会社
増幅器
13日前
エイブリック株式会社
増幅器
20日前
エイブリック株式会社
増幅回路
14日前
エイブリック株式会社
電圧検出器
1か月前
日本電波工業株式会社
圧電振動片
12日前
株式会社大真空
圧電振動デバイス
2か月前
日本電波工業株式会社
圧電デバイス
2か月前
ローム株式会社
オペアンプ
2か月前
ローム株式会社
オペアンプ
2か月前
ローム株式会社
オペアンプ
2か月前
株式会社トーキン
ノイズフィルタ
1か月前
個人
誤り訂正装置及び誤り訂正方法
2か月前
株式会社大真空
恒温槽型圧電発振器
2か月前
株式会社村田製作所
増幅回路
1か月前
株式会社半導体エネルギー研究所
駆動回路
23日前
三菱電機株式会社
半導体装置
2か月前
ローム株式会社
半導体集積回路
2か月前
株式会社村田製作所
高周波回路
1か月前
ローム株式会社
オペアンプ回路
2か月前
TDK株式会社
電子部品
13日前
TDK株式会社
電子部品
12日前
ローム株式会社
オペアンプ回路
2か月前
ローム株式会社
オペアンプ回路
2か月前
ローム株式会社
半導体集積回路
2か月前
ローム株式会社
半導体集積回路
2か月前
ローム株式会社
自己診断システム
1日前
株式会社村田製作所
弾性波フィルタ
1か月前
住友電気工業株式会社
高周波増幅器
1か月前
京セラ株式会社
弾性波装置、分波器及び通信装置
2か月前
ローム株式会社
駆動回路
2か月前
日清紡マイクロデバイス株式会社
演算増幅器
21日前
ローム株式会社
駆動回路
2か月前
ローム株式会社
遅延回路
2か月前
ローム株式会社
A/Dコンバータ回路
2か月前
ローム株式会社
A/Dコンバータ回路
2か月前
ローム株式会社
圧電共振器
1か月前
続きを見る
他の特許を見る