TOP
|
特許
|
意匠
|
商標
特許ウォッチ
Twitter
他の特許を見る
10個以上の画像は省略されています。
公開番号
2025157190
公報種別
公開特許公報(A)
公開日
2025-10-15
出願番号
2025062782
出願日
2025-04-04
発明の名称
端末及び通信方法
出願人
株式会社NTTドコモ
代理人
弁理士法人ITOH
主分類
H04W
72/23 20230101AFI20251007BHJP(電気通信技術)
要約
【課題】NTN(Non-Terrestrial Network)環境に適合するRO(RACH occasion)に係る設定を行うこと。
【解決手段】端末は、RO(RACH occasion)候補を示す情報をネットワークから受信する受信部と、前記RO候補のうち、無効化するROを決定する制御部と、前記RO候補のうち、有効であるROを使用してPRACH(Physical random access channel)を前記ネットワークに送信する送信部とを有する。
【選択図】図6
特許請求の範囲
【請求項1】
RO(RACH occasion)候補を示す情報をネットワークから受信する受信部と、
前記RO候補のうち、無効化するROを決定する制御部と、
前記RO候補のうち、有効であるROを使用してPRACH(Physical random access channel)を前記ネットワークに送信する送信部とを有する端末。
続きを表示(約 550 文字)
【請求項2】
前記制御部は、前記ネットワークから受信した無効化するROの数を示す情報に基づいて、無効化するROを決定する請求項1記載の端末。
【請求項3】
前記制御部は、前記ネットワークから受信した無効化するROに係る数値及びPRACH設定インデックスに基づいて、無効化するROを決定する請求項1記載の端末。
【請求項4】
前記制御部は、前記ネットワークから受信した無効化するROに係る数値及びPRACH設定インデックスに基づいて、RO候補数がより多い場合より多くの無効化するROを決定する請求項1記載の端末。
【請求項5】
前記制御部は、前記ネットワークから受信した無効化するROの数を示す情報に基づいて、前記RO候補のうち、いずれのROを無効化するか決定する請求項1記載の端末。
【請求項6】
RO(RACH occasion)候補を示す情報をネットワークから受信する手順と、
前記RO候補のうち、無効化するROを決定する手順と、
前記RO候補のうち、有効であるROを使用してPRACH(Physical random access channel)を前記ネットワークに送信する手順とを端末が実行する通信方法。
発明の詳細な説明
【技術分野】
【0001】
本発明は、無線通信システムにおける端末及び通信方法に関する。
続きを表示(約 1,800 文字)
【背景技術】
【0002】
LTE(Long Term Evolution)の後継システムであるNR(New Radio)(「5G」ともいう。)においては、要求条件として、大容量のシステム、高速なデータ伝送速度、低遅延、多数の端末の同時接続、低コスト、省電力等を満たす技術が検討されている(例えば非特許文献1)。
【0003】
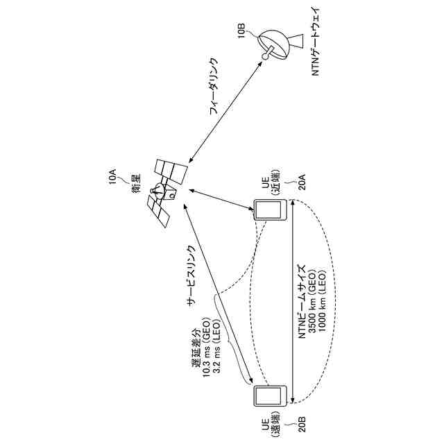
また現在、NTN(Non-Terrestrial Network)が検討されている。NTNとは、衛星等の非地上型ネットワークを使用して、地上型5Gネットワークでは主にコスト面でカバーできないエリアにサービスを提供するものである(例えば非特許文献2及び非特許文献3)。
【先行技術文献】
【非特許文献】
【0004】
3GPP TS 38.300 V18.3.0 (2024-09)
3GPP TR 38.821 V16.2.0 (2023-03)
小西 他,"HAPS移動通信システムにおける下りリンク周波数共用に関する一検討",電子情報通信学会総合大会,B-17-1,2020年
3GPP TS 38.211 V18.4.0 (2024-09)
3GPP TS 38.213 V18.4.0 (2024-09)
3GPP TS 38.214 V18.4.0 (2024-09)
3GPP TS 38.321 V18.3.0 (2024-09)
【発明の概要】
【発明が解決しようとする課題】
【0005】
NTNは、上空の基地局と端末間の距離が非常に大きい環境であり、DL(Downlink)のカバレッジ強化が検討されている。上空の基地局では非常に多数(例えば1000)のビームが使用され、同時にアクティブとなる最大ビーム数は200程度以下と想定されている。したがって、各ビームに対応するSSB(SS/PBCH block)は制限された期間のみ送信される。ここで、従来仕様では、当該SSBに関連付けられるRO(RACH occasion)に適合する設定を行うことが困難であった。
【0006】
本発明は上記の点に鑑みてなされたものであり、NTN(Non-Terrestrial Network)環境に適合するRO(RACH occasion)に係る設定を行うことを目的とする。
【課題を解決するための手段】
【0007】
開示の技術によれば、RO(RACH occasion)候補を示す情報をネットワークから受信する受信部と、前記RO候補のうち、無効化するROを決定する制御部と、前記RO候補のうち、有効であるROを使用してPRACH(Physical random access channel)を前記ネットワークに送信する送信部とを有する端末が提供される。
【発明の効果】
【0008】
開示の技術によれば、NTN(Non-Terrestrial Network)環境に適合するRO(RACH occasion)に係る設定を行うことができる。
【図面の簡単な説明】
【0009】
NTNの例(1)を示す図である。
NTNの例(2)を示す図である。
NTNの例(3)を示す図である。
NTNの例(4)を示す図である。
本発明の実施の形態におけるSSBとROの関連付けの例を示す図である。
本発明の実施の形態における処理例を説明するためのフローチャートである。
本発明の実施の形態におけるRO数の例を示す図である。
本発明の実施の形態における基地局10の機能構成の一例を示す図である。
本発明の実施の形態における端末20の機能構成の一例を示す図である。
本発明の実施の形態における基地局10又は端末20のハードウェア構成の一例を示す図である。
【発明を実施するための形態】
【0010】
以下、図面を参照して本発明の実施の形態を説明する。なお、以下で説明する実施の形態は一例であり、本発明が適用される実施の形態は、以下の実施の形態に限られない。
(【0011】以降は省略されています)
この特許をJ-PlatPat(特許庁公式サイト)で参照する
関連特許
株式会社NTTドコモ
移動通信端末
22日前
株式会社NTTドコモ
端末及び通信方法
11日前
株式会社NTTドコモ
端末及び通信方法
14日前
株式会社NTTドコモ
端末及び測位方法
1日前
株式会社NTTドコモ
端末及び通信方法
1日前
株式会社NTTドコモ
端末及び通信方法
9日前
株式会社NTTドコモ
端末及び通信方法
10日前
株式会社NTTドコモ
端末及び通信方法
11日前
株式会社NTTドコモ
管理装置及び管理方法
14日前
株式会社NTTドコモ
生成装置及び生成方法
2日前
株式会社NTTドコモ
情報処理装置及び方法
8日前
株式会社NTTドコモ
管理装置及び管理方法
14日前
株式会社NTTドコモ
管理装置及び管理方法
14日前
株式会社NTTドコモ
生成システム及び生成方法
21日前
株式会社NTTドコモ
測位支援装置及び測位支援方法
16日前
株式会社NTTドコモ
端末、無線通信方法及び基地局
1日前
株式会社NTTドコモ
人物同定装置、及び人物同定方法
今日
株式会社NTTドコモ
電力監視装置、及び、電力監視方法
16日前
株式会社NTTドコモ
情報処理装置及びナビゲーション方法
今日
株式会社NTTドコモ
太陽電池の配置支援装置及び太陽電池の配置支援方法
14日前
株式会社NTTドコモ
端末
16日前
株式会社NTTドコモ
端末
10日前
株式会社NTTドコモ
端末及び通信方法
今日
株式会社NTTドコモ
通信制御方法、端末、通信制御装置、通信制御システム、通信制御プログラム
21日前
株式会社NTTドコモ
端末、無線通信システム及び無線通信方法
16日前
株式会社NTTドコモ
端末、無線通信システム及び無線通信方法
10日前
株式会社NTTドコモ
端末、無線通信方法、基地局及びシステム
23日前
個人
イヤーピース
21日前
個人
イヤーマフ
1か月前
個人
監視カメラシステム
1か月前
キーコム株式会社
光伝送線路
1か月前
個人
スイッチシステム
29日前
WHISMR合同会社
収音装置
2か月前
個人
スキャン式車載用撮像装置
1か月前
サクサ株式会社
中継装置
1か月前
サクサ株式会社
中継装置
1か月前
続きを見る
他の特許を見る