TOP
|
特許
|
意匠
|
商標
特許ウォッチ
Twitter
他の特許を見る
10個以上の画像は省略されています。
公開番号
2025156893
公報種別
公開特許公報(A)
公開日
2025-10-15
出願番号
2024059636
出願日
2024-04-02
発明の名称
半導体装置の製造方法および半導体装置
出願人
株式会社東芝
,
東芝デバイス&ストレージ株式会社
代理人
個人
,
個人
,
個人
,
個人
主分類
H10D
30/01 20250101AFI20251007BHJP()
要約
【課題】平坦な構造をより適切に形成することができる半導体装置の製造方法および半導体装置を提供する。
【解決手段】本実施形態による半導体装置の製造方法は、第1面と、第1面の第1領域に設けられる凸部と、を有する半導体基板の凸部に第1導電型の半導体層を形成することを具備する。本製造方法は、第1面上に、凸部の段差部における膜厚が凸部の上面または第1領域とは異なる第1面の第2領域における膜厚よりも薄くなるように、第1絶縁膜を形成することを具備する。本製造方法は、マスク材をマスクとして第1絶縁膜の一部を除去することにより、凸部の上面を露出させる第1絶縁膜の開口部、および、開口部の縁部から半導体基板とは反対側に突出する第1絶縁膜の突出部を形成することを具備する。本製造方法は、凸部上および第1絶縁膜上に第2絶縁膜を形成することを具備する。本製造方法は、突出部の一部とともに第2絶縁膜を除去することを具備する。
【選択図】図1A
特許請求の範囲
【請求項1】
第1面と、前記第1面の第1領域に設けられる凸部と、を有する半導体基板の前記凸部に第1導電型の半導体層を形成し、
前記第1面上に、前記凸部の段差部における膜厚が前記凸部の上面または前記第1領域とは異なる前記第1面の第2領域における膜厚よりも薄くなるように、第1絶縁膜を形成し、
前記第1絶縁膜上にマスク材を形成し、
前記凸部の上方の前記マスク材を除去し、
前記マスク材をマスクとして前記第1絶縁膜の一部を除去することにより、前記凸部の上面を露出させる前記第1絶縁膜の開口部、および、前記開口部の縁部から前記半導体基板とは反対側に突出する前記第1絶縁膜の突出部を形成し、
前記凸部上および前記第1絶縁膜上に第2絶縁膜を形成し、
前記突出部の一部とともに前記第2絶縁膜を除去する、
ことを具備する、半導体装置の製造方法。
続きを表示(約 710 文字)
【請求項2】
前記第2絶縁膜を除去した後、
前記凸部上に第3絶縁膜を形成し、
前記第3絶縁膜上に導電膜を形成する、
ことをさらに具備する、請求項1に記載の半導体装置の製造方法。
【請求項3】
前記第1絶縁膜を形成することは、HDP(High Density Plasma)法により前記第1絶縁膜を形成することを含む、請求項1に記載の半導体装置の製造方法。
【請求項4】
前記第1絶縁膜の一部を除去することは、前記マスク材をマスクとした等方性エッチングを行うことを含む、請求項1に記載の半導体装置の製造方法。
【請求項5】
前記第1領域および前記第2領域は、終端領域である、請求項1に記載の半導体装置の製造方法。
【請求項6】
第1面と、前記第1面の第1領域に設けられる凸部と、を有する半導体基板と、
前記第1領域とは異なる前記第1面の第2領域で前記第1面上に設けられた第1絶縁膜と、
を備え、
前記第1絶縁膜は、前記凸部の周囲における前記第1絶縁膜の上面から前記半導体基板とは反対側に突出する突出部を有する、半導体装置。
【請求項7】
前記半導体基板は、前記凸部に設けられる第1導電型の半導体層をさらに有し、
前記凸部上に設けられる第3絶縁膜と、
前記第3絶縁膜上に設けられる導電膜と、
をさらに備える、請求項6に記載の半導体装置。
【請求項8】
前記第1絶縁膜の上面の高さは、前記凸部の上面の高さと略同じである、請求項6に記載の半導体装置。
発明の詳細な説明
【技術分野】
【0001】
本発明の実施形態は、半導体装置の製造方法および半導体装置に関する。
続きを表示(約 2,000 文字)
【背景技術】
【0002】
IGBT(Insulated Gate Bipolar Transistor)等の半導体装置において、セル領域と終端領域との構造差により、CMP(Chemical Mechanical Polishing)による平坦構造の形成が難しい場合がある。
【先行技術文献】
【特許文献】
【0003】
特許第3171166号公報
特許第2874486号公報
特許第2665568号公報
【発明の概要】
【発明が解決しようとする課題】
【0004】
平坦な構造をより適切に形成することができる半導体装置の製造方法および半導体装置を提供する。
【課題を解決するための手段】
【0005】
本実施形態による半導体装置の製造方法は、第1面と、第1面の第1領域に設けられる凸部と、を有する半導体基板の凸部に第1導電型の半導体層を形成することを具備する。本製造方法は、第1面上に、凸部の段差部における膜厚が凸部の上面または第1領域とは異なる第1面の第2領域における膜厚よりも薄くなるように、第1絶縁膜を形成することを具備する。本製造方法は、第1絶縁膜上にマスク材を形成することを具備する。本製造方法は、凸部上のマスク材を除去することを具備する。本製造方法は、マスク材をマスクとして第1絶縁膜の一部を除去することにより、凸部の上面を露出させる第1絶縁膜の開口部、および、開口部の縁部から半導体基板とは反対側に突出する第1絶縁膜の突出部を形成することを具備する。本製造方法は、凸部上および第1絶縁膜上に第2絶縁膜を形成することを具備する。本製造方法は、突出部の一部とともに第2絶縁膜を除去することを具備する。
【図面の簡単な説明】
【0006】
第1実施形態による半導体装置の製造方法の一例を示す断面図である。
図1Aに続く、半導体装置の製造方法の一例を示す断面図である。
図1Bに続く、半導体装置の製造方法の一例を示す断面図である。
図1Cに続く、半導体装置の製造方法の一例を示す断面図である。
図1Dに続く、半導体装置の製造方法の一例を示す断面図である。
図1Eに続く、半導体装置の製造方法の一例を示す断面図である。
図1Fに続く、半導体装置の製造方法の一例を示す断面図である。
図1Gに続く、半導体装置の製造方法の一例を示す断面図である。
図1Hに続く、半導体装置の製造方法の一例を示す断面図である。
第1実施形態の第1比較例による半導体装置の製造方法の一例を示す断面図である。
図2Aに続く、半導体装置の製造方法の一例を示す断面図である。
第1実施形態の第2変形例による半導体装置の製造方法の一例を示す断面図である。
図3Aに続く、半導体装置の製造方法の一例を示す断面図である。
第2実施形態による半導体装置の製造方法の一例を示す断面図である。
図4Aに続く、半導体装置の製造方法の一例を示す断面図である。
図4Bに続く、半導体装置の製造方法の一例を示す断面図である。
図4Cに続く、半導体装置の製造方法の一例を示す断面図である。
第2実施形態の第1比較例による半導体装置の製造方法の一例を示す断面図である。
【発明を実施するための形態】
【0007】
以下、図面を参照して本発明に係る実施形態を説明する。本実施形態は、本発明を限定するものではない。図面は模式的または概念的なものであり、各部分の比率などは、必ずしも現実のものと同一とは限らない。明細書と図面において、既出の図面に関して前述したものと同様の要素には同一の符号を付して詳細な説明は適宜省略する。
【0008】
(第1実施形態)
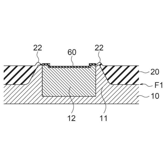
図1A~図1Iは、第1実施形態による半導体装置の製造方法の一例を示す断面図である。半導体装置は、例えば、IGBT(Insulated Gate Bipolar Transistor)である。図1A~図1Iは、IGBTの終端領域を示す。
【0009】
図1A中に示すZ軸は、Z方向を表す。また、Z方向を上方、その反対方向を下方として説明する場合がある。
【0010】
半導体基板10は、面F1と、凸部11と、を有する。凸部11は、面F1の領域A1に設けられ、面F1からZ方向に突出する。領域A1とは異なる面F1の領域A2は、凸部11が設けられない領域である。領域A1、A2は、終端領域に含まれる。半導体基板10は、例えば、シリコン(Si)基板である。
(【0011】以降は省略されています)
この特許をJ-PlatPat(特許庁公式サイト)で参照する
関連特許
株式会社東芝
モータ
19日前
株式会社東芝
センサ
24日前
株式会社東芝
センサ
1か月前
株式会社東芝
センサ
24日前
株式会社東芝
固定子
1か月前
株式会社東芝
センサ
2か月前
株式会社東芝
ドア構造
2か月前
株式会社東芝
電子装置
3日前
株式会社東芝
吸音装置
19日前
株式会社東芝
電子装置
18日前
株式会社東芝
回路素子
2か月前
株式会社東芝
燃料電池
2か月前
株式会社東芝
金型構造
24日前
株式会社東芝
半導体装置
21日前
株式会社東芝
半導体装置
21日前
株式会社東芝
半導体装置
21日前
株式会社東芝
半導体装置
21日前
株式会社東芝
主幹制御器
3か月前
株式会社東芝
半導体装置
21日前
株式会社東芝
半導体装置
1か月前
株式会社東芝
ラック装置
1か月前
株式会社東芝
半導体装置
6日前
株式会社東芝
半導体装置
21日前
株式会社東芝
半導体装置
2か月前
株式会社東芝
電動送風機
1か月前
株式会社東芝
半導体装置
5日前
株式会社東芝
半導体装置
21日前
株式会社東芝
X線厚み計
2か月前
株式会社東芝
粒子加速器
18日前
株式会社東芝
半導体装置
3日前
株式会社東芝
半導体装置
4日前
株式会社東芝
真空バルブ
4日前
株式会社東芝
半導体装置
5日前
株式会社東芝
半導体装置
3日前
株式会社東芝
半導体装置
5日前
株式会社東芝
半導体装置
5日前
続きを見る
他の特許を見る