TOP
|
特許
|
意匠
|
商標
特許ウォッチ
Twitter
他の特許を見る
公開番号
2025156405
公報種別
公開特許公報(A)
公開日
2025-10-14
出願番号
2025126786,2024094796
出願日
2025-07-30,2020-02-18
発明の名称
加工システム及び方法
出願人
株式会社東京精密
代理人
個人
主分類
B24B
7/00 20060101AFI20251002BHJP(研削;研磨)
要約
【課題】加工システムの加工効率を損なうことなく、加工の適否を判定可能な加工システム及び方法を提供する。
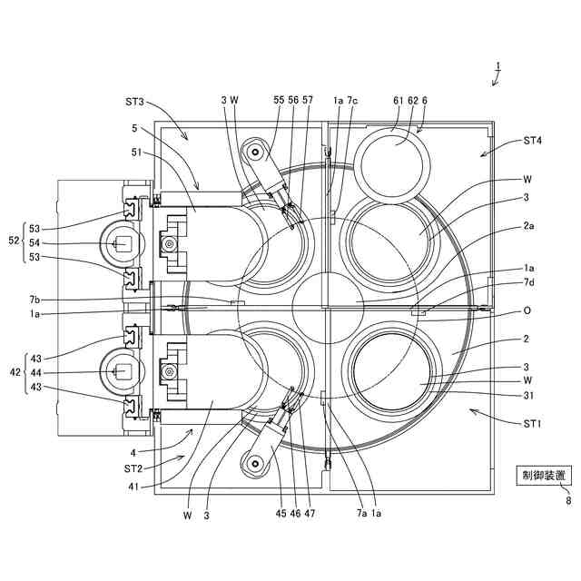
【解決手段】加工システム1は、ワークWを回転可能に吸着保持するチャックテーブル3と、チャックテーブル3を回転軸2a周りに回転移動させるインデックステーブル2と、精研削ステージST3から研磨ステージST4に向かって回転しながら通過するワークWの膜厚を非接触で測定する測定装置7cと、研磨ステージST4からプラットフォームステージST1に向かって回転しながら通過するワークWの膜厚を非接触で測定する測定装置7dと、測定装置7c、7dの測定結果に基づいて研磨前後のワークWの予想形状をそれぞれ演算し、研磨前後のワークWの予想形状の差分から得られる予想研磨量と予め記憶されたワークWの目標研磨量とに基づいて加工の適否を判定する制御装置8と、を備えている。
【選択図】図1
特許請求の範囲
【請求項1】
ワークを回転可能に吸着保持するチャックと、
各ステージにおいて処理が行われる各処理位置に所定軌道で前記チャックを移動させるインデックステーブルと、
前記軌道上の前記処理位置のうち所定の処理位置と前記所定の処理位置の次の処理位置との間において、前記所定の処理位置から前記次の処理位置に向かって前記軌道上を回転しながら通過する前記ワークの膜厚を非接触でそれぞれ測定する複数の測定装置と、
前記各測定装置の各測定結果のうち2つの測定結果に基づいて2つの前記ワークの予想形状をそれぞれ演算し、2つの前記ワークの予想形状の差分から得られる予想加工量と予め記憶された前記ワークの目標加工量とに基づいて加工の適否を判定する制御装置と、
を備えていることを特徴とする加工システム。
続きを表示(約 530 文字)
【請求項2】
前記加工が適切でないと前記制御装置が判定した場合、前記軌道上で前記チャックを戻し、前記ワークを再び加工することを特徴とする請求項1記載の加工システム。
【請求項3】
ワークを回転可能に吸着保持するチャックと、各ステージにおいて処理が行われる各処理位置に所定軌道で前記チャックを移動させるインデックステーブルと、前記軌道上の前記処理位置のうち所定の処理位置と前記所定の処理位置の次の処理位置との間にそれぞれ設けられた複数の測定装置と、制御装置とを備えている加工システムに適用される加工方法であって、
前記複数の測定装置が、前記軌道上の前記所定の処理位置と次の処理位置との間において、前記所定の処理位置から前記次の処理位置に向かって回転しながら通過する前記ワークの膜厚を非接触でそれぞれ測定し、
前記制御装置が、前記各測定装置の測定による各測定結果のうち2つの測定結果に基づいて2つの前記ワークの予想形状をそれぞれ演算し、
前記制御装置が、2つの前記ワークの予想形状の差分から得られる予想加工量と予め記憶された前記ワークの目標加工量とに基づいて加工の適否を判定する、ことを特徴とする加工方法。
発明の詳細な説明
【技術分野】
【0001】
本発明は、ワークを薄く加工する加工システム及び方法に関するものである。
続きを表示(約 1,500 文字)
【背景技術】
【0002】
半導体製造分野では、シリコンウェハ等の半導体ウェハ(以下、「ワーク」という)を薄く平坦に研削するものとして、回転する研削砥石の研削面をワークに押し当て、ワークの研削を行う研削装置が知られている。
【0003】
特許文献1には、粗研削加工及び精研削加工の順にワークを加工し、保護テープ及びワーク裏面の洗浄を行った後に、静電容量センサによってワークの厚みを測定する装置が開示されている。
【先行技術文献】
【特許文献】
【0004】
特開2009-117648号公報
【発明の概要】
【発明が解決しようとする課題】
【0005】
しかしながら、ワークの加工効率が向上するにしたがって、ワーク洗浄後のワーク厚み測定に要する時間がスループットに悪影響を及ぼすという問題があった。また、ワークがチャックテーブルから移送された後に厚み測定を行うため、ワーク厚が目標厚みより厚い場合であっても、ワークの再加工を行うことはできなかった。
【0006】
そこで、ワークの加工効率を損なうことなく短時間で加工の適否を判定するために解決すべき技術的課題が生じてくるのであり、本発明はこの課題を解決することを目的とする。
【課題を解決するための手段】
【0007】
上記目的を達成するために、本発明に係る加工システムは、ワークを回転可能に吸着保持するチャックと、各ステージにおいて処理が行われる各処理位置に所定軌道で前記チャックを移動させるインデックステーブルと、前記軌道上の前記処理位置のうち所定の処理位置と前記所定の処理位置の次の処理位置との間において、前記所定の処理位置から前記次の処理位置に向かって前記軌道上を回転しながら通過する前記ワークの膜厚を非接触でそれぞれ測定する複数の測定装置と、前記各測定装置の各測定結果のうち2つの測定結果に基づいて2つの前記ワークの予想形状をそれぞれ演算し、2つの前記ワークの予想形状の差分から得られる予想加工量と予め記憶された前記ワークの目標加工量とに基づいて加工の適否を判定する制御装置と、を備えている。
【0008】
また、本発明に係る加工システムは、前記加工が適切でないと前記制御装置が判定した場合、前記軌道上で前記チャックを戻し、前記ワークを再び加工することが好ましい。
【0009】
また、上記目的を達成するために、本発明に係る加工方法は、ワークを回転可能に吸着保持するチャックと、各ステージにおいて処理が行われる各処理位置に所定軌道で前記チャックを移動させるインデックステーブルと、前記軌道上の前記処理位置のうち所定の処理位置と前記所定の処理位置の次の処理位置との間にそれぞれ設けられた複数の測定装置と、制御装置とを備えている加工システムに適用される加工方法であって、前記複数の測定装置が、前記軌道上の前記所定の処理位置と次の処理位置との間において、前記所定の処理位置から前記次の処理位置に向かって回転しながら通過する前記ワークの膜厚を非接触でそれぞれ測定し、前記制御装置が、前記各測定装置の測定による各測定結果のうち2つの測定結果に基づいて2つの前記ワークの予想形状をそれぞれ演算し、前記制御装置が、2つの前記ワークの予想形状の差分から得られる予想加工量と予め記憶された前記ワークの目標加工量とに基づいて加工の適否を判定する。
【発明の効果】
【0010】
本発明は、加工システムの加工効率を損なうことなく、加工の適否を判定することができる。
【図面の簡単な説明】
(【0011】以降は省略されています)
この特許をJ-PlatPat(特許庁公式サイト)で参照する
関連特許
株式会社東京精密
CMP装置
1か月前
株式会社東京精密
ウェーハの在荷検知装置
11日前
株式会社東京精密
ウェハ加工システム及びウェハ加工方法
24日前
株式会社東京精密
プローバ制御装置及びプローバ制御方法
1か月前
株式会社KELK
半導体ウエハの温度制御装置及び半導体ウエハの温度制御方法
1か月前
個人
包丁研ぎ器具
3か月前
株式会社松風
研磨用ゴム砥石
1か月前
個人
研磨体
5か月前
株式会社SUS
ワーク保持治具
11日前
株式会社クボタ
管研削装置
4か月前
株式会社東京精密
研削装置
1か月前
株式会社村田製作所
切削装置
5か月前
株式会社タカトリ
ウエハの研削装置
27日前
株式会社ディスコ
被加工物の加工方法
2か月前
株式会社東京精密
加工装置
1か月前
株式会社ニッチュー
ブラスト装置
4か月前
ノリタケ株式会社
超砥粒ホイール
1か月前
株式会社東京精密
加工方法
1か月前
不二空機株式会社
可搬型動力工具
5か月前
株式会社東京精密
加工装置
1か月前
株式会社ディスコ
砥石
5か月前
株式会社荏原製作所
研磨装置
18日前
秀和工業株式会社
処理装置および処理方法
2か月前
ノリタケ株式会社
研磨パッド
1か月前
オークマ株式会社
円筒研削盤
5か月前
トヨタ自動車株式会社
回転砥石の製造方法
3か月前
株式会社スギノマシン
ウォータージェット切断装置
3日前
富士紡ホールディングス株式会社
研磨パッド
1か月前
富士紡ホールディングス株式会社
研磨パッド
1か月前
富士紡ホールディングス株式会社
研磨パッド
1か月前
株式会社アイドゥス企画
受動変形内面研磨ホイール
3か月前
株式会社東京精密
研削装置
2か月前
富士紡ホールディングス株式会社
研磨パッド
1か月前
株式会社ディスコ
切削装置
25日前
株式会社ディスコ
加工装置
19日前
株式会社東京精密
ダイシング装置
1か月前
続きを見る
他の特許を見る