TOP
|
特許
|
意匠
|
商標
特許ウォッチ
Twitter
他の特許を見る
公開番号
2025155466
公報種別
公開特許公報(A)
公開日
2025-10-14
出願番号
2024076359
出願日
2024-05-09
発明の名称
内部にエッチング除去領域を有する水晶振動子構造及びその水晶振動子のウエハーレベルパッケージ構造
出願人
台灣晶技股ふん有限公司
代理人
個人
,
個人
,
個人
,
個人
主分類
H03H
3/007 20060101AFI20251002BHJP(基本電子回路)
要約
【課題】本発明は、水晶振動子構造の内部にエッチング除去領域を形成してパッケージング後の周波数のシフトを低減させ、より優れたインピーダンス及びデバイス特性を有するようにする。
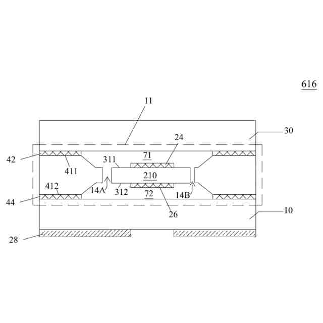
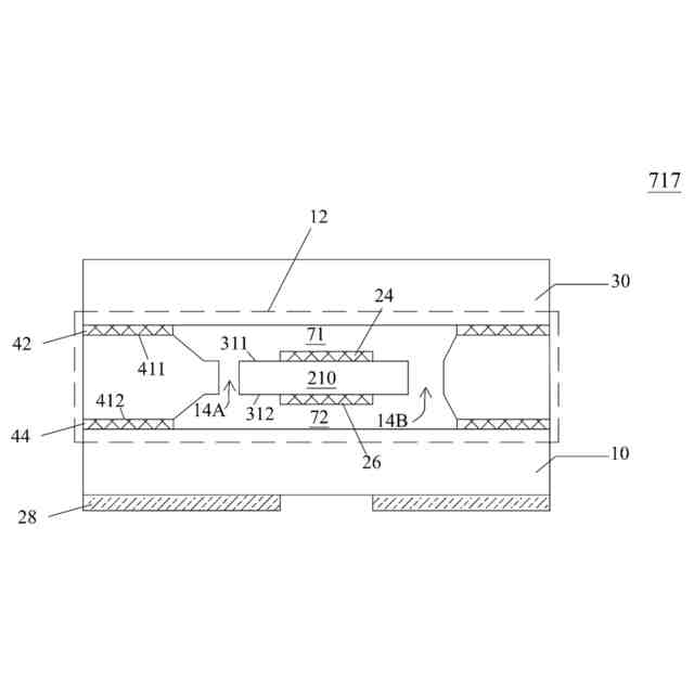
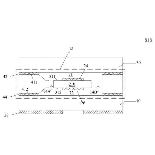
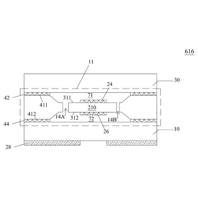
【解決手段】内部にエッチング除去領域を有する水晶振動子構造及びその水晶振動子のウエハーレベルパッケージ構造は、パッケージベース、水晶振動子及び上部蓋体を含む。水晶振動子の内部にはエッチング除去領域が形成され、その領域は水晶振動子の上表面と下表面の間を貫通するように形成され、このエッチング除去領域により主振動領域とその隣接する領域が切り離される。パッケージベースは上平面を有し、上部蓋体は下平面を有し、水晶振動子は上平面と下表面の間に配置され、パッケージベースと上部蓋体の間には密封された上部キャビティ及び下部キャビティが形成される。上部封止リング及び下部封止リングが水晶振動子の周囲に環状に設けられて前記水晶振動子が密封される。
【選択図】図4
特許請求の範囲
【請求項1】
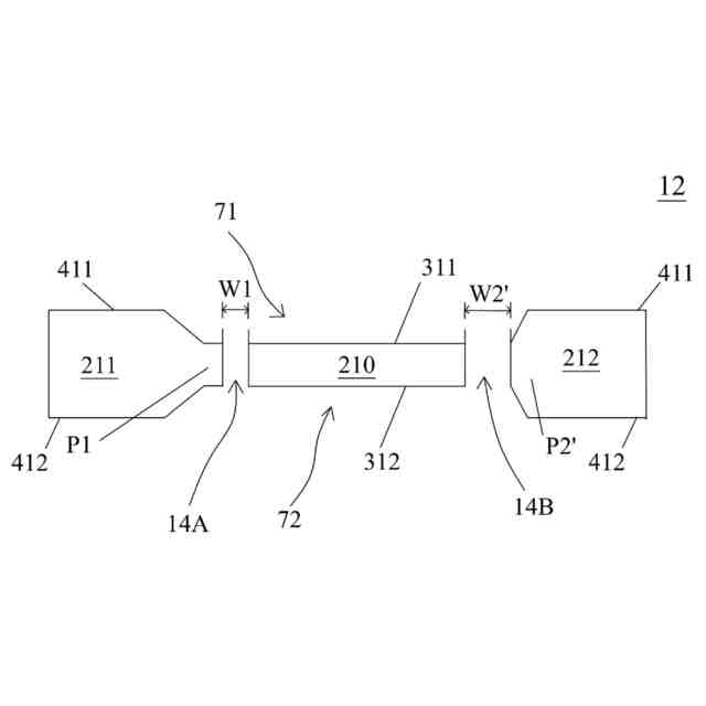
主振動領域、第1隣接領域及び第2隣接領域を含み、
前記主振動領域は上表面及び前記上表面に相対する下表面を有し、
前記第1隣接領域は前記主振動領域の一側に隣接して配置され、
前記第2隣接領域は前記第1隣接領域に対応し、前記第2隣接領域は前記主振動領域の他側に隣接して配置され、
前記第1隣接領域及び前記第2隣接領域の最大厚さは前記主振動領域の水晶厚さより大きいため、前記第1隣接領域及び前記第2隣接領域の上頂面と前記主振動領域の前記上表面の間には上部キャビティが形成され、前記第1隣接領域及び前記第2隣接領域の下底面と前記主振動領域の前記下表面の間には下部キャビティが形成され、かつ、前記主振動領域と前記主振動領域に隣接する前記第1隣接領域又は前記第2隣接領域の間には少なくとも1つのエッチング除去(CUT-OFF)領域が形成されることにより、前記主振動領域と前記主振動領域の両側に位置する前記第1隣接領域又は前記第2隣接領域は切り離される、内部にエッチング除去領域を有する水晶振動子構造。
続きを表示(約 1,100 文字)
【請求項2】
前記エッチング除去領域が前記主振動領域と前記第1隣接領域の間に形成され、これにより、前記主振動領域と前記第1隣接領域が隔てられる、請求項1に記載の内部にエッチング除去領域を有する水晶振動子構造。
【請求項3】
前記エッチング除去領域が前記主振動領域と前記第2隣接領域の間に形成され、これにより、前記主振動領域と前記第2隣接領域が隔てられる、請求項1に記載の内部にエッチング除去領域を有する水晶振動子構造。
【請求項4】
2つの前記エッチング除去領域をさらに含み、1つの前記エッチング除去領域が前記主振動領域と前記第1隣接領域の間に形成され、もう1つの前記エッチング除去領域が前記主振動領域と前記第2隣接領域の間に形成され、これにより、前記主振動領域と前記第1隣接領域の間に間隔が形成されると同時に前記主振動領域と前記第2隣接領域の間にも間隔が形成される、請求項1に記載の内部にエッチング除去領域を有する水晶振動子構造。
【請求項5】
前記少なくとも1つのエッチング除去領域は前記主振動領域の前記上表面から前記主振動領域の前記下表面まで延在して形成され、これにより、前記上表面から前記下表面の間に貫通部が形成される、請求項1に記載の内部にエッチング除去領域を有する水晶振動子構造。
【請求項6】
前記少なくとも1つのエッチング除去領域のエッチング除去幅は選択的に調整可能であり、前記少なくとも1つのエッチング除去領域が第1エッチング除去幅を有する場合、前記第1隣接領域又は前記第2隣接領域は前記主振動領域に近い一側に突出部を有する、請求項1に記載の内部にエッチング除去領域を有する水晶振動子構造。
【請求項7】
前記少なくとも1つのエッチング除去領域が第2エッチング除去幅を有する場合、前記第1隣接領域又は前記第2隣接領域の前記主振動領域に近い一側は直線状になる、請求項6に記載の内部にエッチング除去領域を有する水晶振動子構造。
【請求項8】
前記第2エッチング除去幅は前記第1エッチング除去幅よりも大きい、請求項7に記載の内部にエッチング除去領域を有する水晶振動子構造。
【請求項9】
前記少なくとも1つのエッチング除去領域は、ドライエッチングプロセス又はウェットエッチングプロセスにより形成される、請求項1に記載の内部にエッチング除去領域を有する水晶振動子構造。
【請求項10】
内部にエッチング除去領域を有する水晶振動子構造の材質は石英である、請求項1に記載の内部にエッチング除去領域を有する水晶振動子構造。
(【請求項11】以降は省略されています)
発明の詳細な説明
【技術分野】
【0001】
本発明は水晶振動子のウエハーレベルパッケージ(WLP:Wafer-Level-Package)構造に関し、特に水晶振動子の構造内部に上表面と下表面の間を貫通して形成されたエッチング除去領域を有する設計の、ウエハーレベルパッケージ構造に関する。
続きを表示(約 2,700 文字)
【背景技術】
【0002】
システムインテグレーションの潮流に沿って、現代は様々な電子システムにクロックコンポーネントが設けられており、クロックコンポーネントをセンシングエレメントと融合して電子システムに統合することは、これまで半導体パッケージング技術の主流となってきた。水晶圧電素子を発振器として利用することは精度や安定性の点から現在最良の選択肢の1つであるため、現在の慣行では、クロックコンポーネントには水晶振動子が多く採用されている。国際電気標準会議(IEC:International Electrotechnical Commission)によれば、水晶圧電素子の発振器には、パッケージ水晶発振器(SPXO:Simple Package Crystal Oscillators)、電圧制御水晶発振器(VCXO:Voltage Controlled Crystal Oscillator)、温度補償水晶発振器(TCXO:Temperature Compensated Crystal Oscillator)及び恒温槽型水晶発振器(OCXO:Oven Controlled Crystal Oscillator )という4つのカテゴリーがあり、電子産業の盛んな発展に伴い、電子製品の研究開発は多機能化、高性能化、軽量化の方向にあり、半導体ICチップの高集積化や小型化のパッケージング要求に応じるためには、これまでのパッケージング技術では、もはや使用するのに不十分である。
【0003】
一般的に、半導体圧電デバイスの小型化に伴い、既存技術は主に、水晶振動子と集積回路をそれぞれセラミック材料でパッケージングした後、電気的接続を実行する動作に進み、その中で、パッケージング材料が熱溶融の影響を受けて素子の短絡を引き起こす可能性や、水晶振動子が下に傾きベース部に接触する問題を引き起こす可能性を考慮して、既存のパッケージ構造の多くはその下部ベースの表面にキャビティを設け、そのキャビティに水晶振動子を収容している。しかし、キャビティの限られたスペースと下部ベースの工程能力の制限により、圧電素子の製造工程において必要な電気ユニットの接触面積が非常に狭くなり、その結果、テスト工程において圧電素子のテストが困難になり、テストにおける歩留まりが悪くなる。
【0004】
さらに、既存のウエハーレベルパッケージング技術は、一般的に、パッケージングテスト手順のほとんど又は全てをウエハー上で直接行い、その後、単一部材に分離(singulation)するものとして定義されることが知られている。その中で、再配線(redistribution)や導電性バンプの製造プロセス(bumping)技術は、信号入出力配線(wiring)のレイアウトの一般的な選択肢となっている。パッケージサイズの小型化と電気的性能の向上という利点に基づき、ウエハーレベルパッケージング技術は現在、薄型、軽量、小型の製品を必要とする消費者向けICのパッケージに多く使用されている。電子製品が軽く、薄く、短く、小さいという目標に向かい、ユーザーのニーズが高まるにつれて、電子パッケージ構造内の各素子のサイズも縮小している。従来の2Dパッケージング技術による欠点や制限を大幅に減らすため、パッケージング業界や研究機関は近年、3Dパッケージング技術の開発に積極的に取り組んでいる。3Dパッケージング分野において、シリコン貫通電極(TSV:Through Silicon Via)技術は、チップ間の厚さ方向での通信接続を効果的に行い、その伝送距離を短縮できるため、当該分野において突出して重視される技術となっている。
【先行技術文献】
【特許文献】
【0005】
米国特許第7608986号広報
【発明の概要】
【発明が解決しようとする課題】
【0006】
しかし、形状サイズの縮小に起因する構造内の材料間の熱膨張係数の不一致、温度負荷下における放熱問題の発生、パッケージ構造内における熱応力の集中などの現象は、依然として直面する、現在も克服すべき問題である。したがって、上に挙げた多くの問題点を考慮すると、多面的な配慮が必要となる。そこで、本発明の発明者は、上述の欠点が改善できることを認識し、この分野に長年従事している経験に基づき、注意深く観察、研究し、理論を応用して、上述の欠点を改善する新規な設計と効果的な改善方法となる本発明を提案した。それがここに開示する新規な水晶振動子構造、及びそれが形成されるウエハーレベルパッケージ構造である。その具体的な構造と実施方法については以下で詳細に説明する。
【課題を解決するための手段】
【0007】
従来技術に存在する問題を解決するため、本発明の目的は、改良された水晶振動子構造を提供することにある。これは、エッチング除去領域が内部に形成された新型の水晶振動子構造であり、前記内部にエッチング除去領域を有する水晶振動子構造は、主振動領域(水晶振動子において主に振動する領域)と、前記主振動領域の一側に隣接して配置される第1隣接領域と、前記第1隣接領域に対応して前記主振動領域の他側に隣接して配置される第2隣接領域を含む。主振動領域は上表面を有すると同時に、前記上表面に相対する下表面を有する。第1隣接領域及び第2隣接領域の最大厚さは前記主振動領域の水晶厚さより大きいため、前記第1隣接領域及び前記第2隣接領域の上頂面と前記主振動領域の上表面の間には上部キャビティが形成され、また、前記第1隣接領域及び前記第2隣接領域の下底面と前記主振動領域の前記下表面の間には下部キャビティが形成される。
【0008】
前記主振動領域とそこに隣接する前記第1隣接領域又は前記第2隣接領域の間には少なくとも1つのエッチング除去(CUT-OFF)領域が形成されることにより、前記主振動領域とその両側に位置する前記第1隣接領域又は前記第2隣接領域は切り離される(separate)。
【0009】
本発明によれば、前記エッチング除去領域は、ドライエッチングプロセス又はウェットエッチングプロセスを用いて形成される。
【0010】
具体的には、本発明の一実施形態によれば、前記エッチング除去領域は前記主振動領域と前記第1隣接領域の間に形成され、これにより、前記主振動領域と前記第1隣接領域の間が隔てられる。
(【0011】以降は省略されています)
この特許をJ-PlatPat(特許庁公式サイト)で参照する
関連特許
株式会社蜂鳥
増幅器
11日前
エイブリック株式会社
増幅器
2か月前
エイブリック株式会社
増幅器
1か月前
エイブリック株式会社
増幅回路
2か月前
エイブリック株式会社
電圧検出器
3か月前
株式会社大真空
圧電振動デバイス
4か月前
日本電波工業株式会社
水晶振動子
1か月前
日本電波工業株式会社
圧電振動片
1か月前
日本電波工業株式会社
圧電デバイス
4か月前
株式会社トーキン
ノイズフィルタ
3か月前
ローム株式会社
オペアンプ
4か月前
ローム株式会社
オペアンプ
4か月前
ローム株式会社
オペアンプ
4か月前
個人
誤り訂正装置及び誤り訂正方法
3か月前
台灣晶技股ふん有限公司
水晶発振器
1か月前
三菱電機株式会社
半導体装置
4か月前
株式会社村田製作所
増幅回路
3か月前
富士電機株式会社
半導体装置
10日前
京セラ株式会社
差動信号フィルタデバイス
17日前
株式会社大真空
恒温槽型圧電発振器
3か月前
京セラ株式会社
差動信号フィルタデバイス
17日前
株式会社半導体エネルギー研究所
駆動回路
2か月前
ローム株式会社
半導体集積回路
3か月前
台灣晶技股ふん有限公司
水晶発振素子
1か月前
ローム株式会社
オペアンプ回路
4か月前
ローム株式会社
オペアンプ回路
4か月前
ローム株式会社
オペアンプ回路
4か月前
株式会社村田製作所
高周波回路
3か月前
株式会社村田製作所
弾性波装置
10日前
TDK株式会社
電子部品
1か月前
TDK株式会社
電子部品
1か月前
ローム株式会社
半導体集積回路
4か月前
ローム株式会社
半導体集積回路
4か月前
住友電気工業株式会社
歪補償装置
4日前
ローム株式会社
自己診断システム
1か月前
住友電気工業株式会社
高周波増幅器
2か月前
続きを見る
他の特許を見る