TOP
|
特許
|
意匠
|
商標
特許ウォッチ
Twitter
他の特許を見る
10個以上の画像は省略されています。
公開番号
2025155387
公報種別
公開特許公報(A)
公開日
2025-10-14
出願番号
2024059197
出願日
2024-04-01
発明の名称
ドリップウェザーストリップ
出願人
西川ゴム工業株式会社
代理人
個人
,
個人
主分類
B60J
10/25 20160101AFI20251006BHJP(車両一般)
要約
【課題】ドアのヒンジに対する被水量を極力少なくし、ヒンジを錆にくくする。
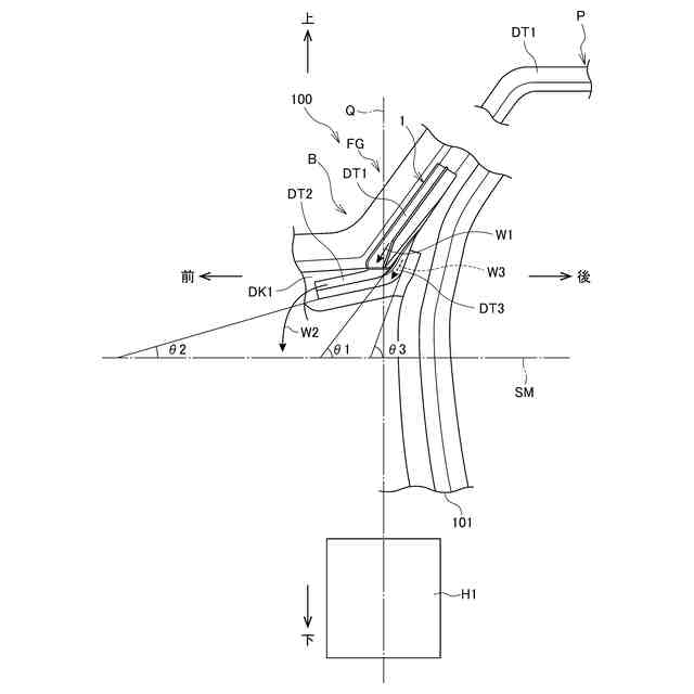
【解決手段】自動車100のドア開口縁DK1に取付けられる取付部11,21と、ドア101に弾接するメインシールリップ12,22と、取付部11,21とメインシールリップ12,22間に形成された第1ドリップ通路DT1を備え、第1ドリップ通路DT1は、ドア101閉時にドア101の後部の直上位置に相対向する位置PからドアヒンジH1の直上位置Q又は直上位置手前まで延設され、第1ドリップ通路DT1の前端DT1Eの下方位置からドアヒンジH1の直上位置Qよりも前方位置まで延びる第2ドリップ通路DT2を設け、第1ドリップ通路DT1の前端DT1Eから落下する水W1を第2ドリップ通路DT2で受水するとともに、第2ドリップ通路DT2を介してドアヒンジH1の直上位置Qよりも前方位置で落水W2させる。
【選択図】図1
特許請求の範囲
【請求項1】
ヒンジ式ドアを有する自動車の車体の前記ドア開口縁に取付けられる取付部と、前記取付部の車外側端部から上方向に向けて延設され前記ドア閉時には前記ドアに弾接するメインシールリップと、前記取付部と前記メインシールリップとの間に形成された導水可能な第1ドリップ通路を備えるドリップウェザーストリップであって、
前記第1ドリップ通路は、前記ドア閉時に前記ドアの後部の直上位置に相対向する位置から前記ドアヒンジの直上位置又は直上位置手前まで延設されるとともに、
前記第1ドリップ通路の前端の下方位置から前記ドアヒンジの直上位置よりも前方位置まで延びる第2ドリップ通路を設け、
前記第1ドリップ通路の前端から落下する水を前記第2ドリップ通路で受水するとともに、前記第2ドリップ通路を介して前記ドアヒンジの直上位置よりも前方位置で落水させるようにしたことを特徴とするドリップウェザーストリップ。
続きを表示(約 1,800 文字)
【請求項2】
前記第2ドリップ通路は、
前記第1ドリップ通路の前記前端における、取付部から屈曲して前方に延出し、前記取付部よりも低位置に設けられた延長基部と、前記延長基部の下側部分から上方向に向けて延設された延長サブリップとの間に形成されてなることを特徴とする請求項1に記載のドリップウェザーストリップ。
【請求項3】
前記第2ドリップ通路の、前記自動車の設置水平面との成す傾斜角度は、
前記第1ドリップ通路の、前記前端まで延設される部分の、前記自動車の設置水平面との成す傾斜角度よりも小さくなるようにしたことを特徴とする請求項1又は2に記載のドリップウェザーストリップ。
【請求項4】
前記第1ドリップ通路のメインシールリップは、前記ドアヒンジの直上位置の手前から徐々に長さが短くされ、前記ドアヒンジの直上位置では消滅させられ、前記ドア閉時に、前記ドアヒンジの直上位置においては、前記ドアが前記メインシールリップに干渉しないようにしたことを特徴とする請求項1又は2に記載のドリップウェザーストリップ。
【請求項5】
前記第2ドリップ通路の後端位置から前記ドアヒンジの直上位置よりも後方位置まで延びる第3ドリップ通路を設け、
前記第1ドリップ通路から落下する水のうち、前記第2ドリップ通路で受水できなかった水を受水して前記第2ドリップ通路に流すようにしたことを特徴とする請求項1又は2に記載のドリップウェザーストリップ。
【請求項6】
前記第3ドリップ通路は、
前記第1ドリップ通路を構成する、取付部の後側端部から後方に延出した延出板と、前記延出板から上方向に向けて延設され、前記ドア閉時には前記ドアに前記メインシールリップとともに弾接するサブシールリップとの間に形成されてなることを特徴とする請求項5に記載のドリップウェザーストリップ。
【請求項7】
前記第3ドリップ通路の、前記自動車の設置水平面との成す傾斜角度は、
前記第1ドリップ通路の、前記前端まで延設される部分の、前記自動車の設置水平面との成す傾斜角度よりも大きくなるようにしたことを特徴とする請求項5に記載のドリップウェザーストリップ。
【請求項8】
ヒンジ式ドアを有する自動車の車体の前記ドア開口縁に取付けられる取付部と、前記取付部の車外側端部から上方向に向けて延設され前記ドア閉時には前記ドアに弾接するメインシールリップと、前記取付部と前記メインシールリップとの間に形成された導水可能な第1ドリップ通路を備えるドリップウェザーストリップであって、
前記第1ドリップ通路は、前記ドア閉時に前記ドアの後部の直上位置に相対向する位置から前記ドアヒンジの直上位置又は直上位置手前まで延設されるとともに、
前記第1ドリップ通路の前端の下方位置から前記ドアヒンジの直上位置よりも前方位置まで延びる第2ドリップ通路を設け、
前記第1ドリップ通路の前端から落下する水を前記第2ドリップ通路で受水するとともに、前記第2ドリップ通路を介して前記ドアヒンジの直上位置よりも前方位置で落水させるようにするとともに、
前記第2ドリップ通路の後端位置から前記ドアヒンジの直上位置よりも後方位置まで延びる第3ドリップ通路を設け、
前記第1ドリップ通路から落下する水のうち、前記第2ドリップ通路で受水できなかった水を受水して前記第2ドリップ通路に流すようにし、
前記第2ドリップ通路は、
前記第1ドリップ通路の取付部から屈曲して前方に延出し、前記取付部よりも低位置に設けられた延長基部と、前記延長基部の下側部分から上方向に向けて延設された延長サブリップとの間に形成され、
前記第3ドリップ通路は、
前記第1ドリップ通路の取付部の後側端部から後方に延出した延出板と、前記延出板から上方向に向けて延設され、前記ドア閉時には前記ドアに前記メインシールリップとともに弾接するサブシールリップとの間に形成され、
前記第3ドリップ通路のサブシールリップと、前記第2ドリップ通路の延長サブリップとを接続し、
前記第3ドリップ通路の延出板と、前記第2ドリップ通路の延長基板とを接続したことを特徴とするドリップウェザーストリップ。
発明の詳細な説明
【技術分野】
【0001】
本発明は、ヒンジ式ドアを有する自動車の車体のドア開口縁に取付けられ、ドア閉時にはそのドアに弾接するとともに導水用のドリップ通路を備えるドリップウェザーストリップに関するものである。
続きを表示(約 2,400 文字)
【背景技術】
【0002】
図10に示すように、ヒンジ式のドア(フロントドア)201を有する自動車200において、ドア201の閉時にドア201に相対向する車体側にドリップウェザーストリップ300が設けられたものが知られている(例えば、特許文献1参照)。
このドリップウェザーストリップ300は、図11に示すように、ボディB側に取付けられた取付基部301からドア201に向かって延出したシール部302と、その下方に設けられたドリップリップ303を備え、シール部302の付け根部からボディB側に第1ドリップ通路304を形成するとともに、シール部302とドリップリップ303の間に第2ドリップ通路305を形成し、図12に示すように、第1ドリップ通路304と第2ドリップ通路305を連通部306で連通させたものである。連通部306は、シール部302とドリップリップ303を一体化したシールリップ307のボディB側に形成されている。
【0003】
これによれば、第1ドリップ通路304を通過した水と、第2ドリップ通路305を通過した水を連通部306において合流させることにより、第2ドリップ通路305を通過した水を側縁部シールに向かって流し、このためドア201の上縁の端部において水滴が落下することを防止することができるといったものである。
【先行技術文献】
【特許文献】
【0004】
特許第6067125号公報
【発明の概要】
【発明が解決しようとする課題】
【0005】
しかし、連通部306に合流された水のその後の排水については記載されておらず、そのまま下側に排水されるものと推認されるが、ドア201の下側にはそのドア201用のヒンジH1が上下に設けられているので、そのまま下側に排水するとヒンジH1に水がかかってしまう恐れがある。
ヒンジH1に水がかかる量が多くなると、ヒンジH1が錆びる問題が生じてしまう。
【0006】
これに対して、ヒンジH1に被水する量が多くならないように、ヒンジH1の位置より前側までドリップウェザーストリップ300を延長することが考えられる。
しかしながら、ドリップウェザーストリップ300を単純に延長しただけでは、図13に示すように、ドア201とボディBのレイアウトの関係上、ヒンジH1の直上部位においては、ドア201の閉時にはドア201がシールリップ307に干渉するため、シールリップ307の先端部307aから付根部307bまでをカット(切り落とし)する必要がある。
より詳細には、ヒンジH1の直上部位においては、ドア201閉時には、シールリップ307は破線で示すような撓み形態となり、その後ドア201開時にはドア201先端部がシールリップ307の、ドア201側の面をひっかくように開いていくため、シールリップ307が破損したり、ちぎれたりしてしまう。
これは、図10乃至図13で示したドリップウェザーストリップ300に限らず、一般的にヒンジ式のドアを有する自動車のフロントピラー(Aピラー)に沿って設けられたドリップウェザーストリップに共通する問題である。
【0007】
そこで、本発明の目的とするところは、ドアのヒンジに対する被水量を極力少なくし、ヒンジを錆にくくするドリップウェザーストリップを提供することにある。
【課題を解決するための手段】
【0008】
上記の目的を達成するために、本発明のドリップウェザーストリップは、ヒンジ式ドア(101)を有する自動車(100)の車体(B)の前記ドア開口縁(DK1)に取付けられる取付部(11,21)と、前記取付部(11,21)の車外側端部から上方向に向けて延設され前記ドア(101)閉時には前記ドア(101)に弾接するメインシールリップ(12,22)と、前記取付部(11,21)と前記メインシールリップ(12,22)との間に形成された導水可能な第1ドリップ通路(DT1)を備えるドリップウェザーストリップ(1)であって、
前記第1ドリップ通路(DT1)は、前記ドア(101)閉時に前記ドア(101)の後部の直上位置に相対向する位置(P)から前記ドアヒンジ(H1)の直上位置(Q)又は直上位置手前まで延設されるとともに、
前記第1ドリップ通路(DT1)の前端(DT1E)の下方位置から前記ドアヒンジ(H1)の直上位置(Q)よりも前方位置まで延びる第2ドリップ通路(DT2)を設け、
前記第1ドリップ通路(DT1)の前端(DT1E)から落下する水(W1)を前記第2ドリップ通路(DT2)で受水するとともに、前記第2ドリップ通路(DT2)を介して前記ドアヒンジ(H1)の直上位置(Q)よりも前方位置で落水(W2)させるようにしたことを特徴とする。
【0009】
また、本発明は、前記第2ドリップ通路(DT2)は、前記第1ドリップ通路(DT1)の前記前端(DT1E)における取付部(21)から屈曲して前方に延出し、前記取付部(21)よりも低位置に設けられた延長基部(31a)と、前記延長基部(31a)の下側部分から上方向に向けて延設された延長サブリップ(32)との間に形成されてなることを特徴とする。
【0010】
また、本発明は、前記第2ドリップ通路(DT2)の、前記自動車(100)の設置水平面(SM)との成す傾斜角度(θ2)は、
前記第1ドリップ通路(DT1)の、前記前端(DT1E)まで延設される部分の、前記自動車(100)の設置水平面(SM)との成す傾斜角度(θ1)よりも小さくなるようにしたことを特徴とする。
(【0011】以降は省略されています)
この特許をJ-PlatPat(特許庁公式サイト)で参照する
関連特許
西川ゴム工業株式会社
ドリップウェザーストリップ
10日前
西川ゴム工業株式会社
ドアホールシールの製造方法およびドアホールシール
16日前
西川ゴム工業株式会社
自動車ドア用のグラスランおよびこれを備えたグラスランユニット
1か月前
個人
タイヤレバー
2か月前
個人
前輪キャスター
2か月前
個人
上部一体型自動車
21日前
個人
ルーフ付きトライク
2か月前
個人
ホイルのボルト締結
3か月前
個人
タイヤ脱落防止構造
1か月前
個人
車両通過構造物
2か月前
日本精機株式会社
表示装置
2か月前
日本精機株式会社
表示装置
2か月前
個人
キャンピングトライク
4か月前
個人
マスタシリンダ
28日前
日本精機株式会社
表示装置
2か月前
日本精機株式会社
表示装置
2か月前
井関農機株式会社
作業車両
4か月前
個人
キャンピングトレーラー
4か月前
個人
アクセルのソフトウェア
4か月前
個人
乗合路線バスの客室装置
3か月前
個人
車両用スリップ防止装置
4か月前
個人
常設収納型サンバイザー
今日
個人
音声ガイド、音声サービス
3か月前
日本精機株式会社
車室演出装置
1か月前
日本精機株式会社
車載表示装置
1か月前
個人
円湾曲ホイール及び球体輪
3か月前
日本精機株式会社
車載表示装置
2日前
日本精機株式会社
画像投映装置
17日前
株式会社ニフコ
収納装置
1か月前
株式会社ニフコ
照明装置
2か月前
株式会社豊田自動織機
産業車両
2か月前
株式会社ニフコ
保持装置
3か月前
日本精機株式会社
車載表示装置
3か月前
個人
車載小物入れ兼雨傘収納具
3か月前
日本精機株式会社
車両用表示装置
4か月前
個人
音による速度計とプログラム
今日
続きを見る
他の特許を見る