TOP
|
特許
|
意匠
|
商標
特許ウォッチ
Twitter
他の特許を見る
10個以上の画像は省略されています。
公開番号
2025154786
公報種別
公開特許公報(A)
公開日
2025-10-10
出願番号
2024057977
出願日
2024-03-29
発明の名称
押圧位置推定システム、押圧位置推定方法、及び押圧位置推定プログラム
出願人
株式会社村田製作所
代理人
弁理士法人 楓国際特許事務所
主分類
G06F
3/041 20060101AFI20251002BHJP(計算;計数)
要約
【課題】複数のタッチ位置がある場合でも、押圧位置を推定することができる技術を提供する。
【解決手段】押圧位置推定システムは、検出面上のタッチ位置、及び検出面上の押圧位置に関係する量を検出するタッチパネルと、検出面に対する押圧量を検出する押圧センサと、押圧位置が継続して検出されている場合、押圧センサから押圧量を継続して取得し、押圧位置が継続して検出されている場合に最初に取得した押圧量を初期値として保持し、押圧位置が継続して検出されている場合に取得した最も大きい押圧量を最大値として保持し、最大値の初期値に対する差分を荷重として計算し、荷重を押圧位置に紐づける荷重計算部と、荷重に基づいて押圧位置の有効性を判定する判定部と、を備える。
【選択図】図2
特許請求の範囲
【請求項1】
検出面上のタッチ位置、及び前記検出面上の押圧位置に関係する量を検出するタッチパネルと、
前記検出面に対する押圧量を検出する押圧センサと、
前記押圧位置が継続して検出されている場合、前記押圧センサから前記押圧量を継続して取得し、前記押圧位置が継続して検出されている場合に最初に取得した前記押圧量を初期値として保持し、前記押圧位置が継続して検出されている場合に取得した最も大きい前記押圧量を最大値として保持し、前記最大値の前記初期値に対する差分を荷重として計算し、前記荷重を前記押圧位置に紐づける荷重計算部と、
前記荷重に基づいて前記押圧位置の有効性を判定する判定部と、を備える、押圧位置推定システム。
続きを表示(約 810 文字)
【請求項2】
前記タッチパネルは静電容量方式で実現され、前記押圧位置に関係する量は静電容量の変化量の分布に相当する、請求項1に記載の押圧位置推定システム。
【請求項3】
検出面上のタッチ位置、及び前記検出面上の押圧位置に関係する量を検出するタッチパネルと、
前記検出面に対する押圧量を検出する押圧センサと、
処理部と、を備える押圧位置推定システムにおいて、
前記処理部が、前記押圧位置が継続して検出されている場合、前記押圧センサから前記押圧量を継続して取得し、前記押圧位置が継続して検出されている場合に最初に取得した前記押圧量を初期値として保持し、前記押圧位置が継続して検出されている場合に取得した最も大きい前記押圧量を最大値として保持し、前記最大値の前記初期値に対する差分を荷重として計算し、前記荷重を前記押圧位置に紐づけるステップと、
前記荷重に基づいて前記押圧位置の有効性を判定するステップと、を実行する、押圧位置推定方法。
【請求項4】
検出面上のタッチ位置、及び前記検出面上の押圧位置に関係する量を検出するタッチパネルと、
前記検出面に対する押圧量を検出する押圧センサと、
処理部と、を備える押圧位置推定システムに搭載され、
前記押圧位置が継続して検出されている場合、前記押圧センサから前記押圧量を継続して取得し、前記押圧位置が継続して検出されている場合に最初に取得した前記押圧量を初期値として保持し、前記押圧位置が継続して検出されている場合に取得した最も大きい前記押圧量を最大値として保持し、前記最大値の前記初期値に対する差分を荷重として計算し、前記荷重を前記押圧位置に紐づけるステップと、
前記荷重に基づいて前記押圧位置の有効性を判定するステップと、を前記処理部に実行させる、押圧位置推定プログラム。
発明の詳細な説明
【技術分野】
【0001】
本発明は押圧を検出する技術に関する。
続きを表示(約 2,300 文字)
【背景技術】
【0002】
従来、コンピュータに文字等を入力するために、コンピュータの画面上に表示されるソフトウェアキーボードが使用されている。例えば、特許文献1には、ユーザがソフトウェアキーボードにタッチすると、タッチされた位置の座標を算出し、タッチされたキーを判別し、タッチされたキーに応じた処理を実行するタッチパネルが開示されている。
【先行技術文献】
【特許文献】
【0003】
特開2009-122890号公報
【発明の概要】
【発明が解決しようとする課題】
【0004】
特許文献1に開示されたようなソフトウェアキーボードは、ユーザが同時に画面上の1箇所だけタッチすることを想定して設計されている。そのため、ユーザは、ハードウェアキーボードの場合のように、キーボードに両手の五指を置き、キーボードのキーを押すような動作を行うことはできない。そのような動作をソフトウェアキーボードで可能にするためには、ユーザが同時に画面上の複数箇所にタッチしながら画面を押圧した状況で、押圧位置を検出する必要がある。
【0005】
本発明の目的は、複数のタッチ位置がある場合でも、押圧位置を推定することができる技術を提供することにある。
【課題を解決するための手段】
【0006】
本発明の押圧位置推定システムは、検出面上のタッチ位置、及び前記検出面上の押圧位置に関係する量を検出するタッチパネルと、前記検出面に対する押圧量を検出する押圧センサと、前記押圧位置が継続して検出されている場合、前記押圧センサから前記押圧量を継続して取得し、前記押圧位置が継続して検出されている場合に最初に取得した前記押圧量を初期値として保持し、前記押圧位置が継続して検出されている場合に取得した最も大きい前記押圧量を最大値として保持し、前記最大値の前記初期値に対する差分を荷重として計算し、前記荷重を前記押圧位置に紐づける荷重計算部と、前記荷重に基づいて前記押圧位置の有効性を判定する判定部と、を備える。
【0007】
本発明の押圧位置推定方法は、検出面上のタッチ位置、及び前記検出面上の押圧位置に関係する量を検出するタッチパネルと、前記検出面に対する押圧量を検出する押圧センサと、処理部と、を備える押圧位置推定システムにおいて、前記処理部が、前記押圧位置が継続して検出されている場合、前記押圧センサから前記押圧量を継続して取得し、前記押圧位置が継続して検出されている場合に最初に取得した前記押圧量を初期値として保持し、前記押圧位置が継続して検出されている場合に取得した最も大きい前記押圧量を最大値として保持し、前記最大値の前記初期値に対する差分を荷重として計算し、前記荷重を前記押圧位置に紐づけるステップと、前記荷重に基づいて前記押圧位置の有効性を判定するステップと、を実行する。
【0008】
本発明の押圧位置推定プログラムは、検出面上のタッチ位置、及び前記検出面上の押圧位置に関係する量を検出するタッチパネルと、前記検出面に対する押圧量を検出する押圧センサと、処理部と、を備える押圧位置推定システムに搭載され、前記押圧位置が継続して検出されている場合、前記押圧センサから前記押圧量を継続して取得し、前記押圧位置が継続して検出されている場合に最初に取得した前記押圧量を初期値として保持し、前記押圧位置が継続して検出されている場合に取得した最も大きい前記押圧量を最大値として保持し、前記最大値の前記初期値に対する差分を荷重として計算し、前記荷重を前記押圧位置に紐づけるステップと、前記荷重に基づいて前記押圧位置の有効性を判定するステップと、を前記処理部に実行させる。
【発明の効果】
【0009】
本発明によれば、複数のタッチ位置がある場合でも、押圧位置を推定することができる。
【図面の簡単な説明】
【0010】
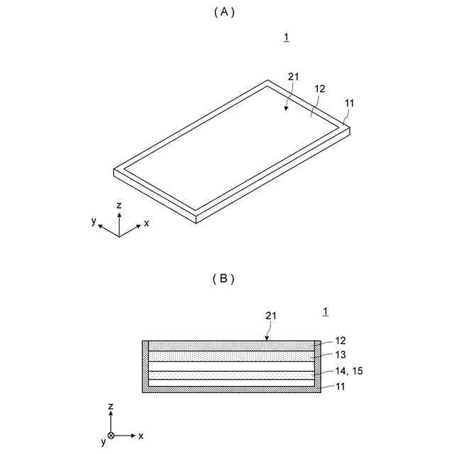
図1(A)は押圧位置推定システム1の概略外観斜視図である。図1(B)は押圧位置推定システム1の概略断面図である。
図2は押圧位置推定システム1の機能ブロック図である。
図3は、検出面上のタッチ位置の一例を示す概念図である。
図4は、図3に示したタッチ位置に対してタッチパネルによって出力されるタッチ位置のデータの一例を示す概念図である。
図5は、荷重計算部と判定部との間の通信の一例を示すタイムチャートである。
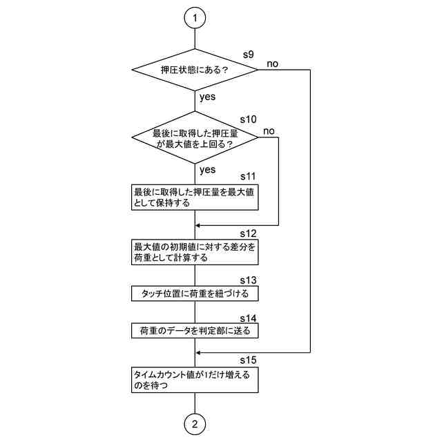
図6は、荷重計算部による荷重計算処理の一例を示すフローチャートである。
図7は、荷重計算部による荷重計算処理の一例を示すフローチャートである。
図8(A)は、荷重計算部によって押圧センサから取得された押圧量の一例を示す図である。図8(B)は、図8(A)に示した押圧量に対して得られた押圧量の最大値を示す図である。図8(C)は、図8(A)に示した押圧量に対して計算された荷重を示す図である。
図9は、図3に示したタッチ位置に対する、タッチ位置に紐づけられた荷重のデータの一例を示す概念図である。
図10は、判定部による押圧位置の判定処理の一例を示すフローチャートである。
図11は、判定部による押圧位置の判定処理の一例を示すフローチャートである。
【発明を実施するための形態】
(【0011】以降は省略されています)
この特許をJ-PlatPat(特許庁公式サイト)で参照する
関連特許
株式会社村田製作所
移相回路
24日前
株式会社村田製作所
二次電池
18日前
株式会社村田製作所
ネブライザ
24日前
株式会社村田製作所
電子聴診器
24日前
株式会社村田製作所
コイル部品
24日前
株式会社村田製作所
コイル部品
24日前
株式会社村田製作所
コイル部品
12日前
株式会社村田製作所
高周波回路
25日前
株式会社村田製作所
電力増幅回路
4日前
株式会社村田製作所
外観検査装置
4日前
株式会社村田製作所
フィルタ装置
25日前
株式会社村田製作所
電力システム
13日前
株式会社村田製作所
インダクタ部品
6日前
株式会社村田製作所
電池モジュール
24日前
株式会社村田製作所
高周波モジュール
4日前
株式会社村田製作所
伸縮性コイル部品
11日前
株式会社村田製作所
ファブリペロー干渉計
25日前
株式会社村田製作所
コンデンサモジュール
24日前
株式会社村田製作所
造粒粉及びインダクタ
25日前
株式会社村田製作所
濾過装置および濾過方法
25日前
株式会社村田製作所
積層セラミック電子部品
25日前
株式会社村田製作所
積層セラミック電子部品
10日前
株式会社村田製作所
積層セラミック電子部品
25日前
株式会社村田製作所
積層セラミック電子部品
25日前
株式会社村田製作所
積層セラミックコンデンサ
25日前
株式会社村田製作所
二次電池および電池パック
25日前
株式会社村田製作所
積層セラミックコンデンサ
25日前
株式会社村田製作所
二次電池および電池パック
25日前
株式会社村田製作所
プラグの端子構造及びプラグ
25日前
株式会社村田製作所
高周波モジュール及び通信装置
4日前
株式会社村田製作所
二次電池用負極および二次電池
11日前
株式会社村田製作所
積層セラミック電子部品の製造方法
25日前
株式会社村田製作所
聴診デバイスおよび聴診システムに関する。
24日前
株式会社村田製作所
二次電池
20日前
株式会社村田製作所
端末装置、判定方法、コンピュータプログラム及びシステム
24日前
株式会社村田製作所
積層型コイル部品
6日前
続きを見る
他の特許を見る