TOP
|
特許
|
意匠
|
商標
特許ウォッチ
Twitter
他の特許を見る
10個以上の画像は省略されています。
公開番号
2025154736
公報種別
公開特許公報(A)
公開日
2025-10-10
出願番号
2024057907
出願日
2024-03-29
発明の名称
カートリッジ、及び画像形成装置
出願人
キヤノン株式会社
代理人
弁理士法人秀和特許事務所
主分類
G03G
21/18 20060101AFI20251002BHJP(写真;映画;光波以外の波を使用する類似技術;電子写真;ホログラフイ)
要約
【課題】従来の構成をさらに発展させる。
【解決手段】カートリッジは、感光体を有する第1ユニットと、現像部材と現像枠体154を有し、当接位置と離間位置との間で揺動可能な第2ユニットと、第2ユニットを離間位置で保持するための第1位置と、当接位置で保持するための第2位置に回動可能な回動部材170と、力受け部171bを有し、第2回動方向に回動することで回動部材170を第1回動方向に押圧する第3位置と、第2回動方向への回動が規制される第4位置に平行移動可能な押圧部材171と、を備え、現像枠体154は、押圧部材171の回動軸線に平行な方向に突出し、第4位置にある押圧部材171が第2回動方向に回動したときに押圧部材171に当接する突出部154aを有し、押圧部材171が第4位置にあるとき、規制部154aから力受け部171bまでの距離は回動部材170の回動中心から力受け部171bまでの距離より短い。
【選択図】図1
特許請求の範囲
【請求項1】
画像形成装置に着脱可能に構成されるカートリッジであって、
感光体を有する第1ユニットと、
前記感光体に形成された静電潜像を現像する現像部材と、前記現像部材を回転可能に支持する現像枠体と、を有し、前記現像部材が前記感光体に当接する当接位置と、前記現像部材が前記感光体から離間する離間位置との間で、前記第1ユニットに対し揺動可能に構成された第2ユニットと、
前記現像枠体に回動可能に支持される回動部材であって、前記離間位置にある前記第2ユニットを前記当接位置に向けて付勢する付勢力に抗して前記第2ユニットを前記離間位置で保持するための第1位置と、前記第2ユニットを前記当接位置で保持するための第2位置であって、前記第1位置から第1回動方向に回動した第2位置に回動可能に構成された回動部材と、
前記現像枠体に第2回動方向に回動可能に支持され、前記第2回動方向に回動するための力を受ける力受け部を有する押圧部材であって、前記第2回動方向に回動することで前記回動部材を前記第1回動方向に押圧する第3位置と、前記第2回動方向への回動が規制される第4位置と、に平行移動可能に構成された押圧部材と、
を備え、
前記現像枠体は、前記押圧部材の回動軸線に平行な方向に突出する突出部であって、前記第4位置にある前記押圧部材が前記第2回動方向に回動したときに前記押圧部材に当接する突出部を有し、
前記回動部材の回動軸線に平行な方向に見たときに、前記押圧部材が前記第4位置にあるとき、前記突出部から前記力受け部までの距離は、前記回動部材の回動中心から前記力受け部までの距離より短いことを特徴とするカートリッジ。
続きを表示(約 1,400 文字)
【請求項2】
前記押圧部材が前記第4位置にあり、且つ前記回動部材が前記第1位置にあるとき、前記押圧部材は前記回動部材に接触し、前記突出部は前記押圧部材と前記回動部材との接触部に対して前記第2回動方向の上流側に位置することを特徴とする請求項1に記載のカートリッジ。
【請求項3】
前記回動部材が前記第1位置にあり、且つ前記押圧部材が前記第3位置にあるとき、前記回動部材と前記押圧部材との接触部から前記押圧部材の回動中心までの距離は、前記接触部から前記回動部材の回動中心までの距離より大きいことを特徴とする請求項1に記載のカートリッジ。
【請求項4】
前記回動部材が前記第1位置にあり、且つ前記押圧部材が前記第3位置にあるとき、前記力受け部から前記押圧部材の回動中心までの距離は、前記回動部材と前記押圧部材との接触部から前記押圧部材の回動中心までの距離より大きいことを特徴とする請求項1に記載のカートリッジ。
【請求項5】
装置本体と、
前記装置本体に着脱可能な請求項1~4のいずれか1項に記載のカートリッジと、
を備えることを特徴とする画像形成装置。
【請求項6】
前記力受け部に力を付与する力付与部を備えることを特徴とする請求項5に記載の画像形成装置。
【請求項7】
前記装置本体は、前記カートリッジを前記装置本体の内外に出し入れするための開口を開閉する開閉部材を有し、
前記カートリッジが前記装置本体から取り外されている状態において、前記押圧部材は
前記第4位置に位置し、
前記開閉部材が閉じられる動作に連動して、前記押圧部材は前記第4位置から前記第3位置へ移動することを特徴とする請求項5に記載の画像形成装置。
【請求項8】
画像形成装置に着脱可能に構成されるカートリッジであって、
感光体を有する第1ユニットと、
前記感光体に形成された静電潜像を現像する現像部材と、前記現像部材と回転可能に支持する現像枠体と、を有し、前記現像部材が前記感光体に当接する当接位置と、前記現像部材が前記感光体から離間する離間位置との間で、前記第1ユニットに対し揺動可能に構成された第2ユニットと、
前記現像枠体に回動可能に支持される回動部材であって、前記離間位置にある前記第2ユニットを前記当接位置に向けて付勢する付勢力に抗して前記第2ユニットを前記離間位置で保持するための第1位置と、前記第2ユニットを前記当接位置で保持するための第2位置であって、前記第1位置から第1回動方向に回動した第2位置に回動可能に構成された回動部材と、
前記現像枠体に第2回動方向に回動可能に支持され、前記第2回動方向に回動するための力を受ける力受け部を有する押圧部材であって、前記第2回動方向に回動することで前記回動部材を前記第1回動方向に押圧する第3位置と、前記第2回動方向への回動が規制される第4位置と、に平行移動可能に構成された押圧部材と、
を備え、
前記現像枠体は、前記押圧部材の回動軸線に平行な方向に突出する突出部であって、前記第4位置にある前記押圧部材が前記第2回動方向に回動したときに前記押圧部材に当接する突出部を有し、
前記突出部は、前記力受け部と前記押圧部材の回動する回動中心を結んだ方向において、前記回動部材の回動中心に対し前記力受け部側に位置することを特徴とするカートリッジ。
発明の詳細な説明
【技術分野】
【0001】
本発明は、カートリッジと、カートリッジを備える画像形成装置に関する。
続きを表示(約 2,900 文字)
【背景技術】
【0002】
画像形成装置として、現像部材が感光ドラムに当接した状態で現像プロセスを行うものが知られている。このような画像形成装置において、感光ドラムと現像部材は互いに離間可能に構成される場合がある。特許文献1には、感光ドラムと現像部材が互いに当接した状態及び離間した状態に保持するための保持部材と、装置本体から力を受けて保持部材を移動させる当接力受け部材とを備える構成が開示されている。
【先行技術文献】
【特許文献】
【0003】
特開2020-154312号公報
【発明の概要】
【発明が解決しようとする課題】
【0004】
本発明は、従来の構成をさらに発展させることを目的とする。
【課題を解決するための手段】
【0005】
上述の目的を達成するために、本発明のカートリッジは、
画像形成装置に着脱可能に構成されるカートリッジであって、
感光体を有する第1ユニットと、
前記感光体に形成された静電潜像を現像する現像部材と、前記現像部材を回転可能に支持する現像枠体と、を有し、前記現像部材が前記感光体に当接する当接位置と、前記現像部材が前記感光体から離間する離間位置との間で、前記第1ユニットに対し揺動可能に構成された第2ユニットと、
前記現像枠体に回動可能に支持される回動部材であって、前記離間位置にある前記第2ユニットを前記当接位置に向けて付勢する付勢力に抗して前記第2ユニットを前記離間位置で保持するための第1位置と、前記第2ユニットを前記当接位置で保持するための第2位置であって、前記第1位置から第1回動方向に回動した第2位置に回動可能に構成された回動部材と、
前記現像枠体に第2回動方向に回動可能に支持され、前記第2回動方向に回動するための力を受ける力受け部を有する押圧部材であって、前記第2回動方向に回動することで前記回動部材を前記第1回動方向に押圧する第3位置と、前記第2回動方向への回動が規制される第4位置と、に平行移動可能に構成された押圧部材と、
を備え、
前記現像枠体は、前記押圧部材の回動軸線に平行な方向に突出する突出部であって、前記第4位置にある前記押圧部材が前記第2回動方向に回動したときに前記押圧部材に当接する突出部を有し、
前記回動部材の回動軸線に平行な方向に見たときに、前記押圧部材が前記第4位置にあるとき、前記突出部から前記力受け部までの距離は、前記回動部材の回動中心から前記力受け部までの距離より短いことを特徴とする。
また、上述の目的を達成するために、本発明のカートリッジは、
画像形成装置に着脱可能に構成されるカートリッジであって、
感光体を有する第1ユニットと、
前記感光体に形成された静電潜像を現像する現像部材と、前記現像部材と回転可能に支持する現像枠体と、を有し、前記現像部材が前記感光体に当接する当接位置と、前記現像
部材が前記感光体から離間する離間位置との間で、前記第1ユニットに対し揺動可能に構成された第2ユニットと、
前記現像枠体に回動可能に支持される回動部材であって、前記離間位置にある前記第2ユニットを前記当接位置に向けて付勢する付勢力に抗して前記第2ユニットを前記離間位置で保持するための第1位置と、前記第2ユニットを前記当接位置で保持するための第2位置であって、前記第1位置から第1回動方向に回動した第2位置に回動可能に構成された回動部材と、
前記現像枠体に第2回動方向に回動可能に支持され、前記第2回動方向に回動するための力を受ける力受け部を有する押圧部材であって、前記第2回動方向に回動することで前記回動部材を前記第1回動方向に押圧する第3位置と、前記第2回動方向への回動が規制される第4位置と、に平行移動可能に構成された押圧部材と、
を備え、
前記現像枠体は、前記押圧部材の回動軸線に平行な方向に突出する突出部であって、前記第4位置にある前記押圧部材が前記第2回動方向に回動したときに前記押圧部材に当接する突出部を有し、
前記突出部は、前記力受け部と前記押圧部材の回動する回動中心を結んだ方向において、前記回動部材の回動中心に対し前記力受け部側に位置することを特徴とする。
【発明の効果】
【0006】
本発明によれば、従来の構成をさらに発展させることができる。
【図面の簡単な説明】
【0007】
突起部の配置位置の説明図である。
画像形成装置の模式的断面図である。
プロセスカートリッジの断面図である。
前ドアが開いた状態の画像形成装置の断面図である。
トレイが装置本体の外側に位置する状態の画像形成装置の断面図である。
プロセスカートリッジが取り外された状態の画像形成装置の断面図である。
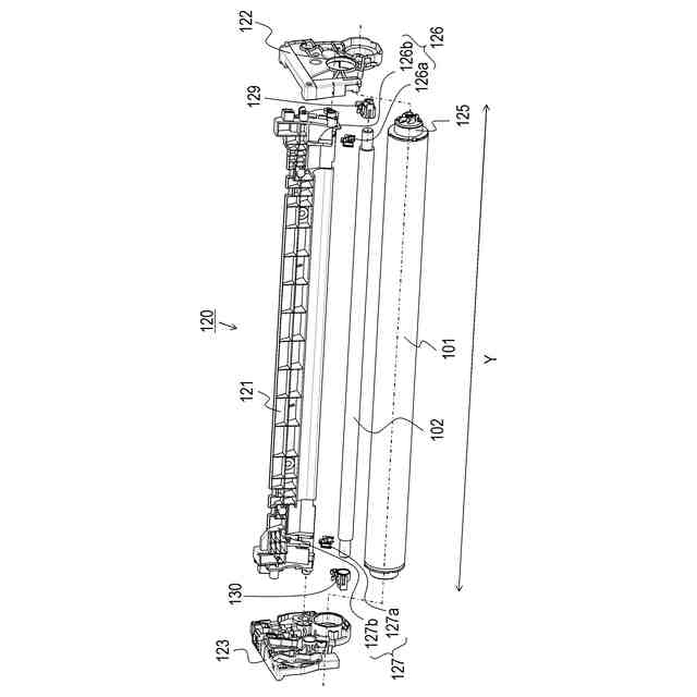
ドラムユニットの分解斜視図である。
現像ユニットの分解斜視図である
プロセスカートリッジの組立斜視図である。
プロセスカートリッジの斜視図である。
現像当接離間機構の構成を示す斜視図である。
感光ドラムと現像ローラの当接離間動作の説明図である。
力付与部材の説明図である。
現像当接抑制構成の説明図である。
突起部と力受け部材の配置関係の説明図である。
【発明を実施するための形態】
【0008】
以下に図面を参照して、この発明を実施するための形態を、実施例に基づいて例示的に詳しく説明する。なお、この実施の形態に記載されている構成部品の寸法、材質、形状それらの相対配置等は、発明が適用される装置の構成や各種条件により適宜変更されるべきものである。すなわち、この発明の範囲を以下の実施の形態に限定する趣旨のものではない。
【0009】
まず、本発明に係る画像形成装置について説明する。ここで、画像形成装置とは、電子写真プロセス、静電記録プロセス、磁気記録プロセスなどの公知の各種の画像形成原理・方式を用いて記録媒体に画像を形成する装置である。例えば複写機、プリンタ(例えばレーザープリンタ、LEDプリンタ等)、ファクシミリ装置、ワードプロセッサ、画像表示装置(電子黒板や電子白板)等が含まれる。記録媒体とは、画像形成装置によって画像が
形成されるものであって、例えば、用紙、OHTシート、画像表示体などが含まれる。
【0010】
[実施例1]
<画像形成装置の概略構成>
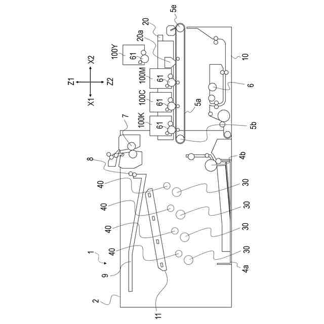
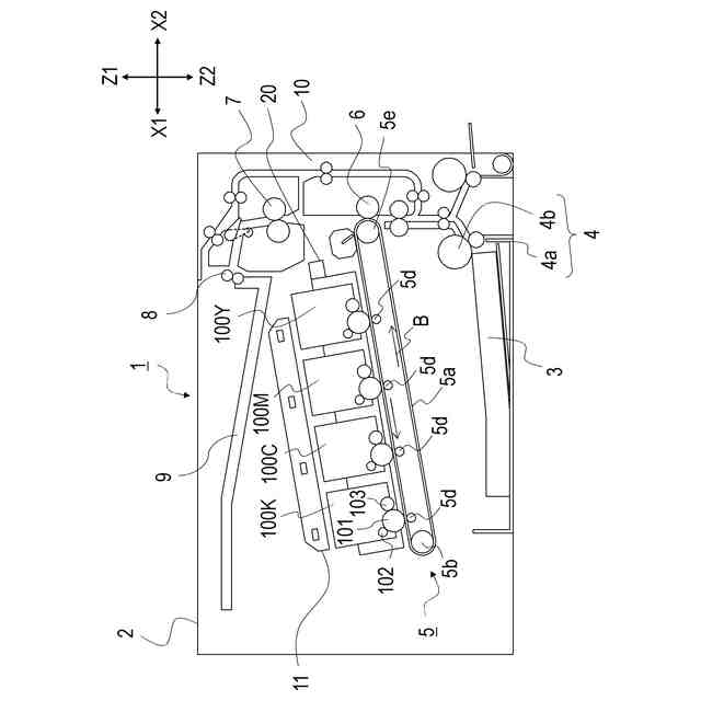
図2を用いて、実施例1に係る電子写真画像形成装置1(以下、画像形成装置1と称す)について説明する。図2は、画像形成装置1の全体構成を示す模式的断面図である。画像形成装置1は、シート状の記録媒体Sに画像を形成する、電子写真方式のカラーレーザービームプリンタである。
(【0011】以降は省略されています)
特許ウォッチbot のツイートを見る
この特許をJ-PlatPat(特許庁公式サイト)で参照する
関連特許
キヤノン株式会社
トナー
9日前
キヤノン株式会社
トナー
4日前
キヤノン株式会社
トナー
4日前
キヤノン株式会社
トナー
4日前
キヤノン株式会社
撮像装置
5日前
キヤノン株式会社
記録装置
9日前
キヤノン株式会社
撮像装置
9日前
キヤノン株式会社
現像容器
2日前
キヤノン株式会社
撮影装置
2日前
キヤノン株式会社
電子機器
11日前
キヤノン株式会社
現像装置
2日前
キヤノン株式会社
記録装置
2日前
キヤノン株式会社
定着装置
3日前
キヤノン株式会社
現像容器
2日前
キヤノン株式会社
現像装置
2日前
キヤノン株式会社
光学センサ
4日前
キヤノン株式会社
現像剤容器
10日前
キヤノン株式会社
モジュール
4日前
キヤノン株式会社
半導体装置
11日前
キヤノン株式会社
映像表示装置
4日前
キヤノン株式会社
画像形成装置
5日前
キヤノン株式会社
画像形成装置
5日前
キヤノン株式会社
画像形成装置
5日前
キヤノン株式会社
画像形成装置
3日前
キヤノン株式会社
画像形成装置
3日前
キヤノン株式会社
画像形成装置
5日前
キヤノン株式会社
画像形成装置
5日前
キヤノン株式会社
画像形成装置
5日前
キヤノン株式会社
画像形成装置
3日前
キヤノン株式会社
カートリッジ
2日前
キヤノン株式会社
画像形成装置
9日前
キヤノン株式会社
画像処理装置
10日前
キヤノン株式会社
画像形成装置
13日前
キヤノン株式会社
画像形成装置
13日前
キヤノン株式会社
画像形成装置
13日前
キヤノン株式会社
画像形成装置
13日前
続きを見る
他の特許を見る