TOP
|
特許
|
意匠
|
商標
特許ウォッチ
Twitter
他の特許を見る
公開番号
2025154086
公報種別
公開特許公報(A)
公開日
2025-10-10
出願番号
2024056894
出願日
2024-03-29
発明の名称
歯科ユニット
出願人
株式会社ジーシーMfg
代理人
個人
主分類
A61G
15/04 20060101AFI20251002BHJP(医学または獣医学;衛生学)
要約
【課題】少なくとも背もたれの傾倒の際に、より簡易な機構で背もたれと患者の背中との位置ずれを補正できる患者用椅子を有する歯科ユニットを提供する。
【解決手段】昇降可能に設けられた座板、及び、座板に対して回動して傾倒起立可能である背もたれ、を備える患者用椅子を具備する歯科ユニットであって、背もたれは、患者の背中に接触する表面が座板に対して近づく及び離隔するように移動することが可能に保持され、背もたれの移動の自在と規制とを切り替えるストッパを有し、ストッパの切り替えを制御する制御装置を備えており、制御装置は背もたれの傾倒動作のときにストッパを解除して移動を自在とする制御を行う。
【選択図】図3
特許請求の範囲
【請求項1】
昇降可能に設けられた座板、及び、前記座板に対して回動して傾倒起立可能である背もたれ、を備える患者用椅子を具備する歯科ユニットであって、
前記背もたれは、患者の背中に接触する表面が前記座板に対して近づく及び離隔するように移動することが可能に保持され、
前記背もたれの前記移動の自在と規制とを切り替えるストッパを有し、
前記ストッパの切り替えを制御する制御装置を備えており、
前記制御装置は前記背もたれの傾倒動作のときに前記ストッパを解除して前記移動を自在とする制御を行う、
歯科ユニット。
続きを表示(約 370 文字)
【請求項2】
前記制御装置は前記背もたれの起立動作のときに前記ストッパを解除して前記移動を自在とする制御を行う、
請求項1に記載の歯科ユニット。
【請求項3】
さらに、前記背もたれのうち前記座板が配置された側とは反対側にヘッドレストが配置され、
前記ヘッドレストは、患者の頭部に接触する表面が前記座板に対して離隔及び近づくように移動することが可能に保持され、
前記ヘッドレストの前記移動の自在と規制とを切り替えるヘッドレスト用ストッパを有し、
前記ヘッドレスト用ストッパの切り替えを制御する制御装置を備えており、
前記制御装置は前記背もたれの傾倒及び起立の動作のときに前記ヘッドレスト用ストッパを解除して前記移動を自在とする制御を行う、
請求項1又は2に記載の歯科ユニット。
発明の詳細な説明
【技術分野】
【0001】
本発明は、歯科において患者が着座する患者用椅子を有する歯科ユニットに関する。
続きを表示(約 1,500 文字)
【背景技術】
【0002】
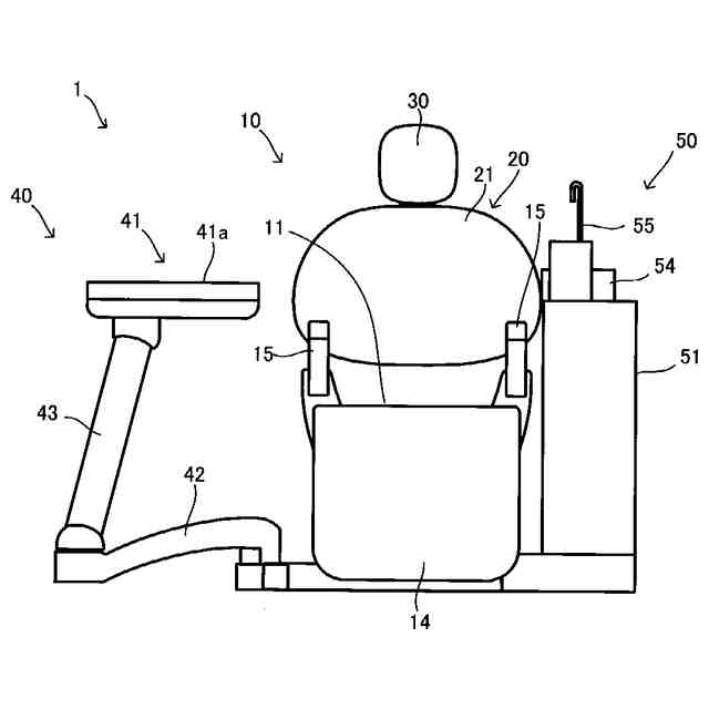
歯科ユニットは、歯科治療の際に使用される各種設備が備えられるユニットであり、患者が着座する患者用椅子を具備している。そしてその周囲には、施術者が使用する歯科治療のための各種器具が配置されるドクターユニット、主にアシスタントが用いる各種器具が具備されるアシスタントユニット、患者にうがい水等を供給する給水部、これを排水するためのスピットン、患者の口腔内を照らす歯科用照明等が備えられている。また、歯科ユニットの周辺には施術者が座る椅子が置かれていることもある。
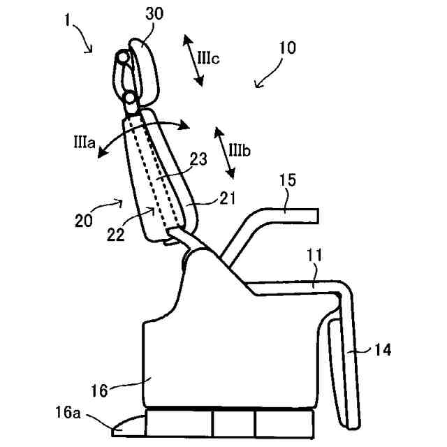
ここで患者用椅子は、患者を治療や処置のしやすい姿勢にさせるため、昇降可能であるとともに、背もたれを傾倒起立できるように構成されている。
【0003】
治療の際に患者は上半身を背もたれに預けるようにして、背もたれに背中を接触させているが、患者用椅子の傾倒起立の際に背もたれと背中との間に相対的に位置ずれが生じ、患者が体を動かすなどしてこの位置ずれを修正することがある。
これに対して特許文献1には、背もたれの回動に対して背もたれの角度位置に依存して背もたれの位置を補正をする補正装置が具備された歯科治療用椅子が開示されている。
【先行技術文献】
【特許文献】
【0004】
特開平8-164173号公報
【発明の概要】
【発明が解決しようとする課題】
【0005】
このような従来技術では補正装置のような複雑な機構を必要としており、複雑化や、必要な機器の配置のために背もたれが厚くなる等の問題を生じることがある。
【0006】
そこで、本開示は少なくとも背もたれの傾倒の際に、より簡易な機構で背もたれと患者の背中との位置ずれを生じ難くすることができる患者用椅子を有する歯科ユニットを提供することを課題とする。
【課題を解決するための手段】
【0007】
本願は、昇降可能に設けられた座板、及び、座板に対して回動して傾倒起立可能である背もたれ、を備える患者用椅子を具備する歯科ユニットであって、背もたれは、患者の背中に接触する表面が座板に対して近づく及び離隔するように移動することが可能に保持され、背もたれの移動の自在と規制とを切り替えるストッパを有し、ストッパの切り替えを制御する制御装置を備えており、制御装置は背もたれの傾倒動作のときにストッパを解除して移動を自在とする制御を行う、歯科ユニットを開示する。
【0008】
さらに、制御装置は背もたれの起立動作のときにストッパを解除して移動を自在とする制御を行うように構成してもよい。
【0009】
さらに、背もたれのうち座板が配置された側とは反対側にヘッドレストが配置され、ヘッドレストは、患者の頭部に接触する表面が座板に対して離隔及び近づくように移動することが可能に保持され、ヘッドレストの移動の自在と規制とを切り替えるヘッドレスト用ストッパを有し、ヘッドレスト用ストッパの切り替えを制御する制御装置を備えており、制御装置は背もたれの傾倒及び起立の動作のときにヘッドレスト用ストッパを解除して移動を自在とする制御を行うように構成してもよい。
【発明の効果】
【0010】
本開示の歯科ユニットによれば、患者用椅子の背もたれの少なくとも傾倒の際に背もたれと患者の背中との位置ずれを生じ難くすることができ、患者が姿勢を修正する等の煩わしさを低減することができる。
【図面の簡単な説明】
(【0011】以降は省略されています)
この特許をJ-PlatPat(特許庁公式サイト)で参照する
関連特許
個人
貼付剤
24日前
個人
簡易担架
6日前
個人
短下肢装具
4か月前
個人
足踏み器具
13日前
個人
腋臭防止剤
6日前
個人
排尿補助器具
1か月前
個人
前腕誘導装置
4か月前
個人
嚥下鍛錬装置
4か月前
個人
バッグ式オムツ
5か月前
個人
歯の修復用材料
5か月前
個人
腰ベルト
27日前
個人
アイマスク装置
2か月前
個人
矯正椅子
5か月前
個人
ウォート指圧法
1か月前
個人
胸骨圧迫補助具
2か月前
個人
汚れ防止シート
1か月前
個人
湿布連続貼り機。
3か月前
個人
排尿排便補助器具
8日前
個人
美容セット
15日前
個人
陣痛緩和具
4か月前
個人
歯の保護用シール
5か月前
個人
哺乳瓶冷まし容器
3か月前
株式会社大野
骨壷
4か月前
株式会社コーセー
化粧料
1か月前
個人
性行為補助具
3か月前
個人
エア誘導コルセット
2か月前
株式会社八光
剥離吸引管
5か月前
個人
治療用酸化防御装置
2か月前
株式会社ニデック
眼科装置
5か月前
個人
シリンダ式歩行補助具
3か月前
株式会社ダリヤ
毛髪化粧料
2か月前
株式会社GSユアサ
歩行器
6か月前
個人
精力増強キット
1か月前
株式会社ニデック
眼科装置
1か月前
個人
形見の製造方法
5か月前
個人
こむら返り応急治し具
13日前
続きを見る
他の特許を見る