TOP
|
特許
|
意匠
|
商標
特許ウォッチ
Twitter
他の特許を見る
10個以上の画像は省略されています。
公開番号
2025153445
公報種別
公開特許公報(A)
公開日
2025-10-10
出願番号
2024055933
出願日
2024-03-29
発明の名称
空気調和装置
出願人
パナソニックIPマネジメント株式会社
代理人
個人
,
個人
主分類
F24F
6/00 20060101AFI20251002BHJP(加熱;レンジ;換気)
要約
【課題】お手入れ性を悪化させることなく貯水容器および貯水容器内の液体の有無を検出する手法を提供することを目的とする。
【解決手段】静電センサー40は、隔離壁39に貯水容器19の側面を介して貯水容器19内の水に対向するように設けられ、空洞部10に貯水容器19を装着した状態において静電センサー40が検知する静電容量は、空洞部10に貯水容器19を装着しない状態において静電センサー40が検知する静電容量より大きく、空洞部10に所定水位の水を貯水した貯水容器19を装着した状態において静電センサー40が検知する静電容量は、空洞部10に水を貯水しない貯水容器19を装着した状態において静電センサー40が検知する静電容量より大きく、制御部5は、静電センサー40が検知した静電容量の変化によって、空洞部10への貯水容器19の装着と、所定水位の水を検知する空気調和装置。
【選択図】 図12
特許請求の範囲
【請求項1】
吸気口と吹出口とを有する本体ケースと、
前記本体ケース内の隔離壁に一部が囲まれた空洞部に着脱自在に設けられ水を貯水する貯水容器と、
前記貯水容器内の水に下端が浸漬するように配置されたフィルタと、
前記吸気口から吸い込んだ空気を、前記フィルタを介して、前記吹出口へ送風する送風機と、
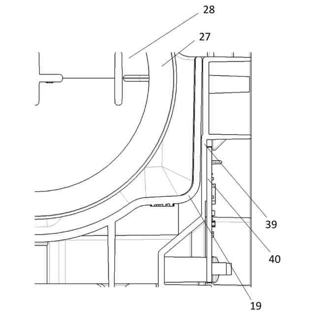
前記隔離壁に設けられ静電容量を検知する静電センサーと、
前記静電センサーが検知した前記静電容量を記憶する制御部と、を有し、
前記空洞部は、前記本体ケースにおける一側面から内方へ水平方向に延び、
前記静電センサーは、前記隔離壁に前記貯水容器の側面を介して前記貯水容器内の水に対向するように設けられ、
前記空洞部に前記貯水容器を装着した状態において前記静電センサーが検知する静電容量は、
前記空洞部に前記貯水容器を装着しない状態において前記静電センサーが検知する静電容量より大きく、
前記空洞部に所定水位の水を貯水した前記貯水容器を装着した状態において前記静電センサーが検知する静電容量は、
前記空洞部に水を貯水しない前記貯水容器を装着した状態において前記静電センサーが検知する静電容量より大きく、
前記制御部は、前記静電センサーが検知した静電容量の変化によって、前記空洞部への前記貯水容器の装着と、前記所定水位の水を検知する空気調和装置。
続きを表示(約 800 文字)
【請求項2】
前記静電センサーは、前記隔離壁の外面に設けられた請求項1に記載の空気調和装置。
【請求項3】
前記隔離壁において前記静電センサーが設けられた部分と、
前記貯水容器の側面との最小の距離は、
前記貯水容器の側面の板厚より小さい請求項2に記載の空気調和装置。
【請求項4】
前記隔離壁において前記静電センサーが設けられた部分と、
前記貯水容器の側面との最小の距離は、
前記隔離壁において前記静電センサーが設けられた部分の板厚より小さい請求項3に記載の空気調和装置。
【請求項5】
前記隔離壁の厚み寸法は、前記隔離壁において前記静電センサーが設けられた部分の厚み寸法が最も小さい請求項4に記載の空気調和装置。
【請求項6】
前記静電センサーと前記貯水容器との距離を規制する距離規制部を有する請求項5に記載の空気調和装置。
【請求項7】
前記距離規制部は、前記空洞部に前記貯水容器を装着した状態において、前記貯水容器の挿入方向において前記静電センサーよりも前方側に設けられた前方側規制部を有する請求項6に記載の空気調和装置。
【請求項8】
前記距離規制部は、前記空洞部に前記貯水容器を装着した状態において、前記貯水容器の挿入方向において前記静電センサーよりも後方側に設けられた後方側規制部を有する請求項7に記載の空気調和装置。
【請求項9】
前記貯水容器を前記空洞部内に所定の位置まで挿入すると、前記貯水容器を前記空洞部内
に仮固定する仮固定部を有し、
前記貯水容器が前記空洞部内に仮固定されると、前記前方側規制部と前記後方側規制部によって、前記静電センサーと前記貯水容器との距離が規制される請求項8に記載の空気調和装置。
発明の詳細な説明
【技術分野】
【0001】
本開示は、水に通電することにより得られる電解水を用いて、空気中の細菌、真菌、ウイルス、および臭い等の除去を行う空気調和装置に関する。
続きを表示(約 2,000 文字)
【背景技術】
【0002】
従来の空気調和装置は、本体ケースと、貯水容器と、貯水容器の水位が一定になるよう自動給水をする給水手段と、貯水容器および貯水容器内の液体の有無を検知する手段とを備えている。貯水容器および貯水容器内の液体の有無を検知するために二つの検知手段を備えると、装置が大型化するといった問題があり、一つの検知手段で二つの検知手段を実現している。(例えば、特許文献1を参照)。
【先行技術文献】
【特許文献】
【0003】
特開2015-183981号公報
【発明の概要】
【発明が解決しようとする課題】
【0004】
このような従来の貯水容器および貯水容器内の液体の有無を検知する構成として、貯水容器内の水位により浮動する磁石内臓のフロート部を貯水容器内に、磁石の磁界を検知できる検知素子を本体ケース側に設けている。水位により浮動する磁石内臓のフロートを貯水容器内に回動自在に設ける構成となっているため、貯水容器に凹凸形状が生じ、貯水容器のお手入れ性が悪いという課題を有していた。
【0005】
そこで本発明は、上記従来の課題を解決するものであり、凹凸形状を極力なくしお手入れ性のよい貯水容器とするために、磁石内臓のフロートを用いずに貯水容器及び貯水容器内の液体の有無を検知する手段を提供することを目的とする。
【課題を解決するための手段】
【0006】
そして、この目的を達成するために、本発明に係る空間調和装置は、吸気口と吹出口とを有する本体ケースと、
前記本体ケース内の隔離壁に一部が囲まれた空洞部に着脱自在に設けられ水を貯水する貯水容器と、
前記貯水容器内の水に下端が浸漬するように配置されたフィルタと、
前記吸気口から吸い込んだ空気を、前記フィルタを介して、前記吹出口へ送風する送風機と、
前記隔離壁に設けられ静電容量を検知する静電センサーと、
前記静電センサーが検知した前記静電容量を記憶する制御部と、を有し、
前記空洞部は、前記本体ケースにおける一側面から内方へ水平方向に延び、
前記静電センサーは、前記隔離壁に前記貯水容器の側面を介して前記貯水容器内の水に対向するように設けられ、
前記空洞部に前記貯水容器を装着した状態において前記静電センサーが検知する静電容量は、
前記空洞部に前記貯水容器を装着しない状態において前記静電センサーが検知する静電容量より大きく、
前記空洞部に所定水位の水を貯水した前記貯水容器を装着した状態において前記静電センサーが検知する静電容量は、
前記空洞部に水を貯水しない前記貯水容器を装着した状態において前記静電センサーが検
知する静電容量より大きく、
前記制御部は、前記静電センサーが検知した静電容量の変化によって、前記空洞部への前記貯水容器の装着と、前記所定水位の水を検知するものであり、これにより所期の目的を達成するものである。
【発明の効果】
【0007】
本発明によれば、貯水容器の凹凸形状を少なくし、貯水容器のお手入れをしやすくするという効果を得ることができる。
【図面の簡単な説明】
【0008】
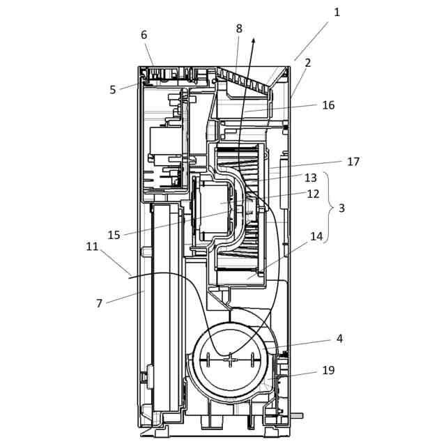
本発明の実施の形態1の空気調和装置の斜視図
同空気調和装置のパネルを開いた状態の斜視図
同空気調和装置の前面に向かって右側から見た断面構成を示す図
同空気調和装置の一部分解斜視図
同空気調和装置の一部分解斜視図
同空気調和装置のタンク部材の分解斜視図
同空気調和装置のタンク部材の断面構成を示す図
同空気調和装置の貯水容器の断面構成を示す図
同空気調和装置の貯水容器およびタンク部材の断面構成を示す図
同空気調和装置の貯水容器の斜視図
同空気調和装置の一部分解斜視図
同空気調和装置の貯水容器と静電センサーの断面構成を示す図
同空気調和装置の構成を示すブロック図
同空気調和装置の貯水容器の断面構成を示す図
同空気調和装置の貯水容器の断面構成を示す図
同空気調和装置の貯水容器の断面構成を示す図
【発明を実施するための形態】
【0009】
(実施の形態1)
本開示の第1の実施の形態について図面を参照して説明する。
【0010】
図1、および図2は、本開示の第1の実施の形態の空気調和装置1の斜視図である。なお、図1は、空気調和装置を前面側の斜め上方から見た図である。図2は、パネルを開いた空気調和装置1を前面側の斜め上方から見た図3である。また、図3は、空気調和装置1を前面に向かって右側から見た断面構成を示す図である。
(【0011】以降は省略されています)
この特許をJ-PlatPat(特許庁公式サイト)で参照する
関連特許
個人
エアコン室内機
4か月前
株式会社コロナ
給湯装置
2か月前
株式会社コロナ
空調装置
7日前
株式会社コロナ
空調装置
17日前
株式会社コロナ
加湿装置
27日前
株式会社コロナ
空調装置
2か月前
株式会社コロナ
空調装置
3か月前
株式会社コロナ
空調装置
1か月前
個人
住宅換気空調システム
1か月前
個人
太陽光パネル傾斜装置
2日前
株式会社コロナ
空気調和機
2か月前
株式会社コロナ
風呂給湯機
1か月前
株式会社コロナ
空気調和機
1か月前
株式会社コロナ
直圧式給湯機
3か月前
ホーコス株式会社
排気フード
2か月前
株式会社コロナ
直圧式給湯機
1か月前
個人
シンプルクーラー
今日
株式会社コロナ
貯湯式給湯機
13日前
株式会社コロナ
貯湯式給湯機
21日前
株式会社パロマ
給湯器
3か月前
株式会社コロナ
暖房システム
17日前
株式会社コロナ
貯湯式給湯装置
3か月前
株式会社コロナ
貯湯式給湯装置
4か月前
三菱電機株式会社
換気扇
1日前
三菱電機株式会社
換気扇
1日前
ホーコス株式会社
換気扇取付枠
1か月前
株式会社コロナ
輻射式冷房装置
1か月前
三菱電機株式会社
換気扇
1日前
株式会社パロマ
給湯暖房機
3か月前
株式会社パロマ
給湯暖房機
3か月前
三菱電機株式会社
送風装置
2か月前
株式会社パロマ
給湯暖房機
3か月前
株式会社ツインバード
加熱調理器
27日前
株式会社コロナ
開放式燃焼暖房機
2か月前
株式会社パロマ
給湯暖房機
3か月前
株式会社パロマ
給湯暖房機
3か月前
続きを見る
他の特許を見る