TOP
|
特許
|
意匠
|
商標
特許ウォッチ
Twitter
他の特許を見る
10個以上の画像は省略されています。
公開番号
2025153307
公報種別
公開特許公報(A)
公開日
2025-10-10
出願番号
2024055712
出願日
2024-03-29
発明の名称
情報処理プログラム、情報処理方法および情報処理装置
出願人
富士通株式会社
代理人
個人
主分類
G06Q
50/10 20120101AFI20251002BHJP(計算;計数)
要約
【課題】行動要因の推定精度を向上させることができること。
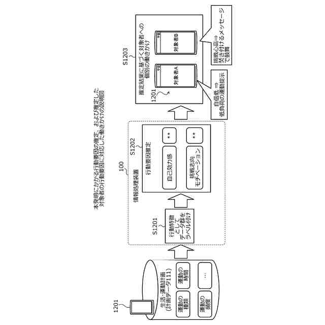
【解決手段】情報処理装置100は、学習訓練時、複数の人物各々の行動の計画を示す行動計画に基づいて複数の人物各々の行動に関する特徴量を示す行動特徴を生成する(S1201)。生成した行動特徴の特徴量と、複数の人物各々の行動要因に関する正解の情報とを用いて、対象者の行動要因を推定する機械学習モデルを訓練する。対象者の行動要因推定時、訓練した機械学習モデルに対象者の行動に関する行動計画の計画データ111を入力し、対象者の行動要因を推定する(S1202)。生成した行動特徴を用いた訓練により、行動計画に人物の内面状態である行動要因以外の要因に起因した行動計画が含まれていても行動要因の推定精度の低下を抑制する。推定した行動要因は度合い(高低)を有し、推定した行動要因の度合いに応じて、対象者に適切な行動変容を働きかける(S1203)。
【選択図】図12
特許請求の範囲
【請求項1】
複数の人物各々の行動の計画を示す行動計画を取得し、
取得した前記行動計画に基づいて前記複数の人物各々の行動に関する特徴量を示す行動特徴を生成し、
生成した前記行動特徴の前記特徴量と、前記複数の人物各々の行動要因に関する正解の情報とを用いて、対象者の行動要因を推定する機械学習モデルを訓練する、
処理をコンピュータに実行させることを特徴とする情報処理プログラム。
続きを表示(約 1,400 文字)
【請求項2】
複数の人物各々の行動の計画を示す行動計画に基づいて生成された前記複数の人物各々の行動に関する特徴量を示す行動特徴の前記特徴量と、前記複数の人物各々の行動要因に関する正解の情報とを用いて訓練された機械学習モデルに、
対象者の行動に関する行動計画を入力し、
前記対象者の行動要因を推定する、
処理をコンピュータに実行させることを特徴とする情報処理プログラム。
【請求項3】
前記生成する処理は、
取得した前記行動計画に含まれる行動毎の負荷をラベル付けし、
ラベル付けした前記行動計画に基づいて前記複数の人物各々の行動に関する特徴量を示す行動特徴を生成する処理である、
ことを特徴とする請求項1に記載の情報処理プログラム。
【請求項4】
前記生成する処理は、所定期間分の前記行動計画と、前記行動計画に対する前記対象者の実施結果とに基づいて、前記行動特徴を生成する処理である、
ことを特徴とする請求項1に記載の情報処理プログラム。
【請求項5】
所定期間分の前記行動計画と、前記行動計画に対する前記対象者の実施結果との差分に基づいて前記行動特徴の特徴量を補正する処理を含み、
前記訓練する処理は、補正した前記行動特徴と、前記正解の情報とを用いて、前記機械学習モデルを訓練する処理である、
ことを特徴とする請求項1に記載の情報処理プログラム。
【請求項6】
前記行動特徴の特徴量は、前記行動計画に含まれる値と、前記実施結果に含まれる値とに基づくベクトルで表される特徴量である、
ことを特徴とする請求項1に記載の情報処理プログラム。
【請求項7】
前記推定する処理は、前記対象者の行動要因の度合いを推定し、
推定された行動要因の度合いに基づいて、前記対象者に適切な行動変容を提示する処理、
を含むことを特徴とする請求項2に記載の情報処理プログラム。
【請求項8】
複数の人物各々の行動の計画を示す行動計画を取得し、
取得した前記行動計画に基づいて前記複数の人物各々の行動に関する特徴量を示す行動特徴を生成し、
生成した前記行動特徴の前記特徴量と、前記複数の人物各々の行動要因に関する正解の情報とを用いて、対象者の行動要因を推定する機械学習モデルを訓練する、
処理をコンピュータが実行することを特徴とする情報処理方法。
【請求項9】
複数の人物各々の行動の計画を示す行動計画に基づいて生成された前記複数の人物各々の行動に関する特徴量を示す行動特徴の前記特徴量と、前記複数の人物各々の行動要因に関する正解の情報とを用いて訓練された機械学習モデルに、
対象者の行動に関する行動計画を入力し、
前記対象者の行動要因を推定する、
処理をコンピュータが実行することを特徴とする情報処理方法。
【請求項10】
複数の人物各々の行動の計画を示す行動計画を取得し、
取得した前記行動計画に基づいて前記複数の人物各々の行動に関する特徴量を示す行動特徴を生成し、
生成した前記行動特徴の前記特徴量と、前記複数の人物各々の行動要因に関する正解の情報とを用いて、対象者の行動要因を推定する機械学習モデルを訓練する、
制御部を備えたことを特徴とする情報処理装置。
(【請求項11】以降は省略されています)
発明の詳細な説明
【技術分野】
【0001】
本発明は、情報処理プログラム、情報処理方法および情報処理装置に関する。
続きを表示(約 1,900 文字)
【背景技術】
【0002】
対象となる人物である対象者の行動に関する経時的な変化の状態(行動変容)を決定する要因(行動要因)を推定する技術がある。行動要因は、対象者が第一歩の行動を踏み出し易くしたり、その行動を継続したいと感じる対象者のモチベーション、自己効力感等の心理的(内面的)な特性に相当する。行動要因の推定により、対象者に適切な行動変容を促し、健康運動等の各種支援サービスに適用されている。対象者の行動は、例えば、対象者が携帯するスマートフォンのセンサや、PCのアプリケーションの操作等により行動データとして検出可能である。複数の人物の行動データと行動要因の関係を機械学習し、モデルを作成することで、作成したモデルを用いて対象者の新たな行動の行動要因が推定可能となる。
【0003】
先行技術としては、例えば、予め決められたスポーツ等の活動イベントと、活動イベントを行った場合の運動量の情報に基づき、ユーザが選択したイベントでの運動量と目標実現の状態を表示し、リハビリ計画を支援するものがある。また、身体活動能力の質問表に対する回答と服薬の情報、心肺機能の分類結果、運動テスト結果等に基づいて、肉体的な負担をかけない目標の心拍数、頻度となる運動プランを立案するものがある。また、ユーザの志向および嗜好と年齢性別等の基本属性を行動要因とし、不特定ユーザの嗜好のアンケートと、購買やサイト閲覧、移動データ等の一連の行動データの相関関係を学習することで、新規ユーザの購買行動をさせるための要因を推定するものがある(例えば、下記特許文献1~3参照。)。
【先行技術文献】
【特許文献】
【0004】
特開2020-149321号公報
特開2023-159553号公報
特開2023-97496号公報
【発明の概要】
【発明が解決しようとする課題】
【0005】
しかしながら、訓練に用いる行動データに行動要因以外の要因に起因した行動のデータが含まれると、機械学習モデルの推定精度が低下する場合がある。
【0006】
一つの側面では、本発明は、行動要因の推定精度を向上させることができることを目的とする。
【課題を解決するための手段】
【0007】
一つの実施態様によれば、複数の人物各々の行動の計画を示す行動計画を取得し、取得した前記行動計画に基づいて前記複数の人物各々の行動に関する特徴量を示す行動特徴を生成し、生成した前記行動特徴の前記特徴量と、前記複数の人物各々の行動要因に関する正解の情報とを用いて、対象者の行動要因を推定する機械学習モデルを訓練する、情報処理プログラム、情報処理方法および情報処理装置が提案される。
【発明の効果】
【0008】
一態様によれば、行動要因の推定精度を向上させることができる。
【図面の簡単な説明】
【0009】
図1は、実施の形態にかかる情報処理の一実施例を示す説明図である。
図2は、従来技術による行動要因推定の説明図である。
図3は、運動ログデータに基づき対象者の行動データから行動要因を推定する説明図である。
図4は、実施の形態において推定する行動要因の例を示す図表である。
図5は、行動要因を推定するモデルの学習時に正解データとなる心理アンケートの質問例を示す図表である。
図6は、運動タスクリストの情報例を示す図表である。
図7は、行動特徴群リストの情報例を示す図表である。
図8は、運動タスクのログデータに基づき行動特徴を数値化する説明図である。
図9は、情報処理装置のハードウェア構成例を示すブロック図である。
図10は、情報処理装置のモデル学習時の処理例を示すフローチャートである。
図11は、情報処理装置の行動要因推定時の処理例を示すフローチャートである。
図12は、本発明にかかる行動要因の推定、および推定した対象者の行動要因に対応した働きかけの説明図である。
図13は、本発明にかかる推定した対象者の行動要因に対応した働きかけの説明図である。
【発明を実施するための形態】
【0010】
以下に、図面を参照して、本発明にかかる情報処理プログラム、情報処理方法および情報処理装置の実施の形態を詳細に説明する。
(【0011】以降は省略されています)
この特許をJ-PlatPat(特許庁公式サイト)で参照する
関連特許
富士通株式会社
半導体装置
1か月前
富士通株式会社
行列演算回路
1か月前
富士通株式会社
画像処理モデル
1か月前
富士通株式会社
メッシュ微細化
1か月前
富士通株式会社
半導体デバイス
1か月前
富士通株式会社
演算器及び演算方法
1か月前
富士通株式会社
ダウンサンプリング
今日
富士通株式会社
冷却装置及び電子機器
1か月前
富士通株式会社
ポイントクラウド分類
1か月前
富士通株式会社
電子機器筐体及び電子機器
1か月前
富士通株式会社
OLT及びPONシステム
20日前
富士通株式会社
光受信装置及び光受信方法
今日
富士通株式会社
アレイアンテナモジュール
1か月前
富士通株式会社
光送信器及び光トランシーバ
1か月前
富士通株式会社
通信制御装置及び移動中継装置
1か月前
富士通株式会社
プログラム及びデータ処理装置
14日前
富士通株式会社
基板及びこれを備えた電子装置
1か月前
富士通株式会社
演算処理装置及び情報処理装置
1か月前
富士通株式会社
情報処理装置及び情報処理方法
6日前
富士通株式会社
テキスト案内される画像エディタ
1か月前
富士通株式会社
情報処理装置および情報処理方法
今日
富士通株式会社
波長変換装置および波長変換方法
1か月前
富士通株式会社
ラックマウント装置及びラック装置
1か月前
富士通株式会社
メモリ管理装置及びメモリ管理方法
1か月前
富士通株式会社
不正検知プログラム、方法、及び装置
6日前
富士通株式会社
受光デバイス及び受光デバイスの製造方法
19日前
富士通株式会社
通知プログラム、通知方法および通知装置
19日前
富士通株式会社
コンパイルプログラムおよびコンパイル方法
14日前
富士通株式会社
管理装置、管理方法、および管理プログラム
1か月前
富士通株式会社
生成プログラム、生成方法および情報処理装置
1か月前
富士通株式会社
検出プログラム、検出方法および情報処理装置
1か月前
富士通株式会社
プログラム、情報処理方法および情報処理装置
1か月前
富士通株式会社
制御プログラム、制御方法、および情報処理装置
1か月前
富士通株式会社
半導体装置、半導体装置の製造方法及び電子装置
12日前
富士通株式会社
プログラム、データ処理装置及びデータ処理方法
1か月前
富士通株式会社
探索プログラム、探索方法、および情報処理装置
1か月前
続きを見る
他の特許を見る