TOP
|
特許
|
意匠
|
商標
特許ウォッチ
Twitter
他の特許を見る
10個以上の画像は省略されています。
公開番号
2025152651
公報種別
公開特許公報(A)
公開日
2025-10-10
出願番号
2024054653
出願日
2024-03-28
発明の名称
運転支援装置、運転支援方法および運転支援プログラム
出願人
株式会社デンソー
,
株式会社J-QuAD DYNAMICS
,
トヨタ自動車株式会社
代理人
弁理士法人ゆうあい特許事務所
主分類
G08G
1/16 20060101AFI20251002BHJP(信号)
要約
【課題】適切な運転支援を行う運転支援装置、運転支援方法および運転支援プログラムを提供する。
【解決手段】運転支援方法および運転支援プログラムの実行を行う運転支援装置40は、自車両の左右方向における距離、自車両の前方向における距離および現在から経過した時間からなる3次元座標系における自車両および物体の推移を示す立体である自車立体と物体立体とが交差するとき、かつ、交差物体および自車両の間に交差点があるとき、かつ、交差物体が延長領域上に位置するとき、かつ、交差角度が第1閾値以上、第2閾値以下であるとき、自車両を制動させないで、自車立体と物体立体とが交差する場合に、交差物体および自車両の間に交差点がないとき、交差物体が延長領域上に位置しないとき、交差角度が第1閾値未満であるとき、または、交差角度が第2閾値よりも大きいとき、自車両を制動させる。
【選択図】図1
特許請求の範囲
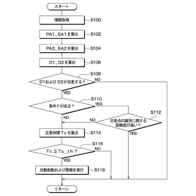
【請求項1】
運転支援装置であって、
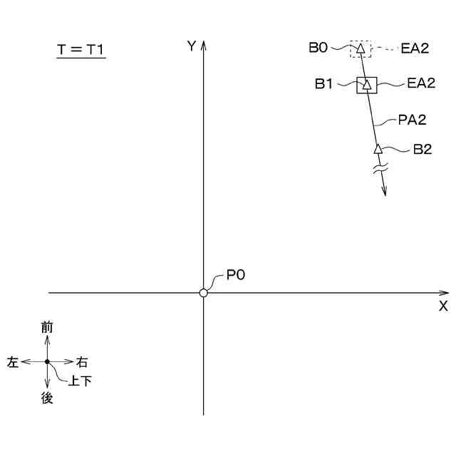
自車両(90)の前方の物体を検出する前方センサ(12)によって得られる情報および前記自車両に関する情報を取得する取得部(S100)と、
前記自車両の左右方向における距離、前記自車両の前方向における距離および現在から経過した時間からなる3次元座標系における前記自車両が存在する領域(EA1)の推移を示す立体である自車立体(D1)と、前記3次元座標系における前記物体が存在する領域(EA2)の推移を示す立体である物体立体(D2)とが交差するか否かに基づいて、前記自車両の運転支援を行う支援部(S108~S118)と、
を備え、
前記支援部は、
前記自車立体と前記物体立体とが交差するとき、かつ、前記物体立体が前記自車立体と交差する前記物体である交差物体(Vo)および前記自車両の間に交差点があるとき、かつ、前記自車両の左右方向における前記自車両が走行する車線の長さと前記自車両の前方向における前記自車両からの距離とで規定される領域である延長領域(Ri)上に前記交差物体が位置するとき、かつ、前記自車両の速度ベクトルと前記交差物体の速度ベクトルとでなす角度である交差角度が第1閾値以上、第2閾値以下であるとき、前記自車両を制動させないで、
前記自車立体と前記物体立体とが交差するとき、かつ、前記交差物体および前記自車両の間に前記交差点がないとき、前記自車両を制動させ、
前記自車立体と前記物体立体とが交差するとき、かつ、前記交差物体が前記延長領域上に位置しないとき、前記自車両を制動させ、
前記自車立体と前記物体立体とが交差するとき、かつ、前記交差角度が前記第1閾値未満であるとき、前記自車両を制動させ、
前記自車立体と前記物体立体とが交差するとき、かつ、前記交差角度が前記第2閾値よりも大きいとき、前記自車両を制動させる運転支援装置。
続きを表示(約 3,100 文字)
【請求項2】
前記支援部は、
前記自車立体と前記物体立体とが交差するとき、かつ、前記交差物体および前記自車両の間に前記交差点があるとき、かつ、前記交差物体が前記延長領域上に位置するとき、かつ、前記交差角度が前記第1閾値以上、前記第2閾値以下であるとき、警報装置(60)を作動させないで、
前記自車立体と前記物体立体とが交差するとき、かつ、前記交差物体および前記自車両の間に前記交差点がないとき、前記警報装置を作動させ、
前記自車立体と前記物体立体とが交差するとき、かつ、前記交差物体が前記延長領域上に位置しないとき、前記警報装置を作動させ、
前記自車立体と前記物体立体とが交差するとき、かつ、前記交差角度が前記第1閾値未満であるとき、前記警報装置を作動させ、
前記自車立体と前記物体立体とが交差するとき、かつ、前記交差角度が前記第2閾値よりも大きいとき、前記警報装置を作動させる請求項1に記載の運転支援装置。
【請求項3】
前記支援部は、
前記交差物体および前記自車両の間に前記交差点があると判定して前記交差点の識別に関する値が閾値以上であるとき、前記自車両を制動させないで、
前記交差物体および前記自車両の間に前記交差点があると判定して前記交差点の識別に関する値が前記閾値未満であるとき、前記自車両を制動させる請求項1または2に記載の運転支援装置。
【請求項4】
前記支援部は、
前記自車立体と前記物体立体とが交差するとき、かつ、前記交差物体および前記自車両の間に前記交差点がないとき、かつ、前記自車立体および前記物体立体が交差するときの時間である交差時間(Tc)に関する値が交差時間閾値(Tc_th)よりも大きいとき、前記自車両を制動させないで、
前記自車立体と前記物体立体とが交差するとき、かつ、前記交差物体が前記延長領域上に位置しないとき、かつ、前記交差時間が前記交差時間閾値よりも大きいとき、前記自車両を制動させないで、
前記自車立体と前記物体立体とが交差するとき、かつ、前記交差角度が前記第1閾値未満であるとき、かつ、前記交差時間が前記交差時間閾値よりも大きいとき、前記自車両を制動させないで、
前記自車立体と前記物体立体とが交差するとき、かつ、前記交差角度が前記第2閾値よりも大きいとき、かつ、前記交差時間が前記交差時間閾値よりも大きいとき、前記自車両を制動させないで、
前記自車立体と前記物体立体とが交差するとき、かつ、前記交差物体および前記自車両の間に前記交差点がないとき、かつ、前記交差時間に関する値が前記交差時間閾値以下であるとき、前記自車両を制動させ、
前記自車立体と前記物体立体とが交差するとき、かつ、前記交差物体が前記延長領域上に位置しないとき、かつ、前記交差時間に関する値が前記交差時間閾値以下であるとき、前記自車両を制動させ、
前記自車立体と前記物体立体とが交差するとき、かつ、前記交差角度が前記第1閾値未満であるとき、かつ、前記交差時間に関する値が前記交差時間閾値以下であるとき、前記自車両を制動させ、
前記自車立体と前記物体立体とが交差するとき、かつ、前記交差角度が前記第2閾値よりも大きいとき、かつ、前記交差時間に関する値が前記交差時間閾値以下であるとき、前記自車両を制動させる請求項1または2に記載の運転支援装置。
【請求項5】
運転支援方法であって、
自車両(90)の前方の物体を検出する前方センサ(12)によって得られる情報および前記自車両に関する情報を取得することと、
前記自車両の左右方向における距離、前記自車両の前方向における距離および現在から経過した時間からなる3次元座標系における前記自車両が存在する領域(EA1)の推移を示す立体である自車立体(D1)と、前記3次元座標系における前記物体が存在する領域(EA2)の推移を示す立体である物体立体(D2)とが交差するか否かに基づいて、前記自車両の運転支援を行うことと、
を含み、
前記自車立体と前記物体立体とが交差するとき、かつ、前記物体立体が前記自車立体と交差する前記物体である交差物体(Vo)および前記自車両の間に交差点があるとき、かつ、前記自車両の左右方向における前記自車両が走行する車線の長さと前記自車両の前方向における前記自車両からの距離とで規定される領域である延長領域(Ri)上に前記交差物体が位置するとき、かつ、前記自車両の速度ベクトルと前記交差物体の速度ベクトルとでなす角度である交差角度が第1閾値以上、第2閾値以下であるとき、前記自車両を制動させないで、
前記自車立体と前記物体立体とが交差するとき、かつ、前記交差物体および前記自車両の間に前記交差点がないとき、前記自車両を制動させ、
前記自車立体と前記物体立体とが交差するとき、かつ、前記交差物体が前記延長領域上に位置しないとき、前記自車両を制動させ、
前記自車立体と前記物体立体とが交差するとき、かつ、前記交差角度が前記第1閾値未満であるとき、前記自車両を制動させ、
前記自車立体と前記物体立体とが交差するとき、かつ、前記交差角度が前記第2閾値よりも大きいとき、前記自車両を制動させる運転支援方法。
【請求項6】
運転支援プログラムであって、
運転支援装置を、
自車両(90)の前方の物体を検出する前方センサ(12)によって得られる情報および前記自車両に関する情報を取得する取得部(S100)、
前記自車両の左右方向における距離、前記自車両の前方向における距離および現在から経過した時間からなる3次元座標系における前記自車両が存在する領域(EA1)の推移を示す立体である自車立体(D1)と、前記3次元座標系における前記物体が存在する領域(EA2)の推移を示す立体である物体立体(D2)とが交差するか否かに基づいて、前記自車両の運転支援を行う支援部(S108~S118)、
として機能させ、
前記支援部は、
前記自車立体と前記物体立体とが交差するとき、かつ、前記物体立体が前記自車立体と交差する前記物体である交差物体(Vo)および前記自車両の間に交差点があるとき、かつ、前記自車両の左右方向における前記自車両が走行する車線の長さと前記自車両の前方向における前記自車両からの距離とで規定される領域である延長領域(Ri)上に前記交差物体が位置するとき、かつ、前記自車両の速度ベクトルと前記交差物体の速度ベクトルとでなす角度である交差角度が第1閾値以上、第2閾値以下であるとき、前記自車両を制動させないで、
前記自車立体と前記物体立体とが交差するとき、かつ、前記交差物体および前記自車両の間に前記交差点がないとき、前記自車両を制動させ、
前記自車立体と前記物体立体とが交差するとき、かつ、前記交差物体が前記延長領域上に位置しないとき、前記自車両を制動させ、
前記自車立体と前記物体立体とが交差するとき、かつ、前記交差角度が前記第1閾値未満であるとき、前記自車両を制動させ、
前記自車立体と前記物体立体とが交差するとき、かつ、前記交差角度が前記第2閾値よりも大きいとき、前記自車両を制動させる運転支援プログラム。
発明の詳細な説明
【技術分野】
【0001】
本開示は、運転支援装置、運転支援方法および運転支援プログラムに関するものである。
続きを表示(約 3,200 文字)
【背景技術】
【0002】
従来、特許文献1に記載されているように、物体検出装置により検出された自車周囲に位置する物体と、自車との衝突の有無を判定する衝突判定装置が知られている。この衝突判定装置は、自車領域算出部と、自車情報算出部と、移動経路算出部と、判定部と、を備える。自車領域算出部は、現在の自車における自車進行方向での距離および車幅方向での距離で規定される2次元座標系において、自車の推定経路上での所定時間毎の自車存在領域を算出する。自車情報算出部は、自車進行方向での距離、車幅方向での距離および現在からの経過時間により規定される3次元座標系において、算出された所定時間毎の自車存在領域を補完することにより、自車存在領域の推移を示す立体である自車立体を算出する。移動経路算出部は、物体検出装置により検出された物体の位置に基づいて、3次元座標系における物体の移動経路を算出する。判定部は、算出された自車立体と、算出された物体の移動経路との交わりの有無に基づいて、自車に対する物体の衝突の有無を判定する。
【先行技術文献】
【特許文献】
【0003】
特開2020-8288号公報
【発明の概要】
【発明が解決しようとする課題】
【0004】
ここで、例えば、移動物体が対向車であって、対向車および自車が交差点付近を走行しているとする。この場合に、交差点内の道路がS字形状等になっていると、交差点内の車線は、認識しづらく、また、特許文献1に記載された衝突判定装置では、対向車の移動経路と自車立体とが交わることから、自車に対する対向車の衝突が有ると誤判定されることがある。自車に対する対向車の衝突が有ると誤判定されると、自車は、交差点内の道路に沿って走行しているだけであるにもかかわらず、自動制動等される。したがって、特許文献1に記載された衝突判定装置では、自車と移動物体についてのみ考慮されているため、適切な運転支援ができない場合がある。
【0005】
本開示は、適切な運転支援を行う運転支援装置、運転支援方法および運転支援プログラムを提供することを目的とする。
【課題を解決するための手段】
【0006】
請求項1に記載の発明は、運転支援装置であって、自車両(90)の前方の物体を検出する前方センサ(12)によって得られる情報および自車両に関する情報を取得する取得部(S100)と、自車両の左右方向における距離、自車両の前方向における距離および現在から経過した時間からなる3次元座標系における自車両が存在する領域(EA1)の推移を示す立体である自車立体(D1)と、3次元座標系における物体が存在する領域(EA2)の推移を示す立体である物体立体(D2)とが交差するか否かに基づいて、自車両の運転支援を行う支援部(S108~S118)と、を備え、支援部は、自車立体と物体立体とが交差するとき、かつ、物体立体が自車立体と交差する物体である交差物体(Vo)および自車両の間に交差点があるとき、かつ、自車両の左右方向における自車両が走行する車線の長さと自車両の前方向における自車両からの距離とで規定される領域である延長領域(Ri)上に交差物体が位置するとき、かつ、自車両の速度ベクトルと交差物体の速度ベクトルとでなす角度である交差角度が第1閾値以上、第2閾値以下であるとき、自車両を制動させないで、自車立体と物体立体とが交差するとき、かつ、交差物体および自車両の間に交差点がないとき、自車両を制動させ、自車立体と物体立体とが交差するとき、かつ、交差物体が延長領域上に位置しないとき、自車両を制動させ、自車立体と物体立体とが交差するとき、かつ、交差角度が第1閾値未満であるとき、自車両を制動させ、自車立体と物体立体とが交差するとき、かつ、交差角度が第2閾値よりも大きいとき、自車両を制動させる運転支援装置である。
【0007】
また、請求項5に記載の発明は、運転支援方法であって、自車両(90)の前方の物体を検出する前方センサ(12)によって得られる情報および自車両に関する情報を取得することと、自車両の左右方向における距離、自車両の前方向における距離および現在から経過した時間からなる3次元座標系における自車両が存在する領域(EA1)の推移を示す立体である自車立体(D1)と、3次元座標系における物体が存在する領域(EA2)の推移を示す立体である物体立体(D2)とが交差するか否かに基づいて、自車両の運転支援を行うことと、を含み、自車立体と物体立体とが交差するとき、かつ、物体立体が自車立体と交差する物体である交差物体(Vo)および自車両の間に交差点があるとき、かつ、自車両の左右方向における自車両が走行する車線の長さと自車両の前方向における自車両からの距離とで規定される領域である延長領域(Ri)上に交差物体が位置するとき、かつ、自車両の速度ベクトルと交差物体の速度ベクトルとでなす角度である交差角度が第1閾値以上、第2閾値以下であるとき、自車両を制動させないで、自車立体と物体立体とが交差するとき、かつ、交差物体および自車両の間に交差点がないとき、自車両を制動させ、自車立体と物体立体とが交差するとき、かつ、交差物体が延長領域上に位置しないとき、自車両を制動させ、自車立体と物体立体とが交差するとき、かつ、交差角度が第1閾値未満であるとき、自車両を制動させ、自車立体と物体立体とが交差するとき、かつ、交差角度が第2閾値よりも大きいとき、自車両を制動させる運転支援方法である。
【0008】
さらに、請求項6に記載の発明は、運転支援プログラムであって、運転支援装置を、自車両(90)の前方の物体を検出する前方センサ(12)によって得られる情報および自車両に関する情報を取得する取得部(S100)、自車両の左右方向における距離、自車両の前方向における距離および現在から経過した時間からなる3次元座標系における自車両が存在する領域(EA1)の推移を示す立体である自車立体(D1)と、3次元座標系における物体が存在する領域(EA2)の推移を示す立体である物体立体(D2)とが交差するか否かに基づいて、自車両の運転支援を行う支援部(S108~S118)、として機能させ、支援部は、自車立体と物体立体とが交差するとき、かつ、物体立体が自車立体と交差する物体である交差物体(Vo)および自車両の間に交差点があるとき、かつ、自車両の左右方向における自車両が走行する車線の長さと自車両の前方向における自車両からの距離とで規定される領域である延長領域(Ri)上に交差物体が位置するとき、かつ、自車両の速度ベクトルと交差物体の速度ベクトルとでなす角度である交差角度が第1閾値以上、第2閾値以下であるとき、自車両を制動させないで、自車立体と物体立体とが交差するとき、かつ、交差物体および自車両の間に交差点がないとき、自車両を制動させ、自車立体と物体立体とが交差するとき、かつ、交差物体が延長領域上に位置しないとき、自車両を制動させ、自車立体と物体立体とが交差するとき、かつ、交差角度が第1閾値未満であるとき、自車両を制動させ、自車立体と物体立体とが交差するとき、かつ、交差角度が第2閾値よりも大きいとき、自車両を制動させる運転支援プログラムである。
【0009】
これにより、適切な運転支援が行われる。
【0010】
なお、各構成要素等に付された括弧付きの参照符号は、その構成要素等と後述する実施形態に記載の具体的な構成要素等との対応関係の一例を示すものである。
【図面の簡単な説明】
(【0011】以降は省略されています)
この特許をJ-PlatPat(特許庁公式サイト)で参照する
関連特許
日本精機株式会社
警報システム
1か月前
個人
自動電動車椅子
26日前
株式会社SUBARU
車両
5日前
エムケー精工株式会社
車両誘導装置
1か月前
スズキ株式会社
運転支援装置
1か月前
ニッタン株式会社
検知器
1か月前
ニッタン株式会社
検知器
1か月前
株式会社国際電気
防災システム
1か月前
ニッタン株式会社
検知器
12日前
ニッタン株式会社
検知器
1か月前
個人
磁気路上での車両の路線離脱防御
15日前
株式会社小糸製作所
移動体検出装置
1か月前
トヨタ自動車株式会社
サーバ
19日前
大阪瓦斯株式会社
音声出力システム
11日前
株式会社SUBARU
運転支援装置
13日前
日本信号株式会社
異常走行検出装置
19日前
株式会社小糸製作所
車両検出システム
1か月前
株式会社デンソー
運航管理装置
4日前
日本精機株式会社
報知装置及び報知システム
25日前
株式会社CCT
通信装置及び表示方法
12日前
三菱自動車工業株式会社
制御システム
11日前
株式会社 ミックウェア
車内環境制御システム
今日
能美防災株式会社
火災感知器
1か月前
株式会社SUBARU
事故情報収集装置
5日前
ホーチキ株式会社
火災検出システム
7日前
株式会社SUBARU
車室内異常検知装置
5日前
ヨシモトポール株式会社
接近報知システム
1か月前
能美防災株式会社
非常伝達装置
1か月前
本田技研工業株式会社
物体検出装置
1か月前
能美防災株式会社
火災感知器及び火災報知システム
4日前
大阪瓦斯株式会社
音声出力装置
6日前
株式会社豊田中央研究所
注意喚起装置
27日前
シャープ株式会社
駐車制御装置
18日前
株式会社関電工
車両運行通知システム
今日
トヨタ自動車株式会社
方法
今日
トヨタ自動車株式会社
方法
1か月前
続きを見る
他の特許を見る